首页
新闻
财经
基金
股票
金融
理财
新闻
财经
基金
股票
金融
理财
这些少数族裔创始人如何让科技高管把钱放在嘴边
人工智能将是世界上有史以来最伟大的就业引擎
零工经济如何帮助促进多样性
你如何保护你的公司免受黑客攻击
为什么谷歌搜索自己不再只是为了好玩
为什么潮流正在转向能源部门
苹果WWDC主题演讲中的所有重要内容
云数据存储: 每个质量保证测试人员都应该知道的问题和威胁
使用此折扣VPN保护您的个人和业务数据
4人工智能趋势值得关注2019年
微软的巴厘岛项目试图让你控制你的数据
秒杀网红款,火爆朋友圈的匈牙利鹅绒被到底好在哪里!
物联网如何改变航运业
如何掌握链接构建2019年。如果这样做,将会带来巨大的好处。
回顾: 改变游戏规则的技术创新2018年
EBay是现代最有影响力的公司
这位连续的企业家厌倦了文书工作,他建立了一个聊天机器人来帮助其他人进行管理工作
区块链技术在东南亚的作用越来越大
让我们数字化: 如何实现转型,更好地为客户服务
2019的学习景观
SpaceX的 “starhopper” 测试车进行了一次由猛禽驱动的短途旅行
用这个49美元的电子学位捆绑包学习掌握JavaScript
谣言: 苹果AirPods 2,AirPower,新ipad 3月29日到货
苹果推出了具有黑暗模式的更快,更私密的iOS 13
Salesforce的创新生产力解决方案如何帮助团队更快地完成更多工作
如何掌握社交媒体营销2019年
错误的更新砖耐克 “自动系带” 智能鞋
Google赢得了FCC的批准,以继续开发基于雷达的手传感器
苹果推出新的iPod Touch
埃隆·马斯克的洛杉矶隧道将特斯拉变成了 “铁路引导火车”
市场能否提供小企业所需的综合金融科技工具?
如何破解亚洲竞争激烈的电子科技行业
Google Home和Amazon Echo可以存储您的语音记录。这是它们可以用来对付你的时候。
从星际飞船船长到电动自行车推销员: 与威廉·沙特纳的对话
聊天机器人是客户服务未来的五个原因
人工智能如何帮助您更好地管理时间
在加密货币时代,银行必须转型才能蓬勃发展的5种方式
机器学习如何创造一个更精英、更少偏见的就业市场
测试成功用户体验的一个指标
韩国已经在进行区块链爆炸
Jamf现在帮助小型企业无缝管理移动设备
使用此VPN浏览更智能,更安全
使用此VPN使您的浏览数据保持私有
您需要了解的10种用户体验设计趋势2019年
将AI整合到招聘中如何使面临劳动力危机的公司受益
如果你没有管理策略,你的数据就没用了
即使是 “非人类” AI也可以帮助您与客户建立更有意义的关系的3种方式
物联网的危险 (信息图)
人工智能主导的营销如何以更智能的方式吸引当今的受众
SpaceX正在佛罗里达州建造另一艘星际飞船
您的位置:
首页
>
股票
>
国家卫健委:一旦发现疫情 立即按规定启动应急响应
原标题:国家卫健委:一旦发现疫情 立即按规定启动应急响应今天(3日),国务院联防联控机制召开新闻发布会,...
2020-12-03
一众黄金向西流:瑞士对东方大国的黄金出口大幅减少
热点栏目自选股数据中心行情中心资金流向模拟交易客户端 原创孔令龙中国黄金网自2016年以来,随着金价的复...
2020-12-03
国盛策略:北上流入步伐明显提速 11月净流入创年内新高
【国盛策略】为何外资近期大幅流入?尧望后势前言:2020年以来,外资入场可谓一波三折,行至四季度,北上年内...
2020-12-03
源达收评:市场短期高位震荡 板块轮动格局再现
原标题 源达:市场短期高位震荡 板块轮动格局再现三大指数早盘低开后震荡下行,午后沪指翻红,全天维持高位...
2020-12-03
民航局:自6月8日起已对133个国际客运航班实施熔断
原标题:民航局:自6月8日起已对133个国际客运航班实施熔断国务院联防联控机制新闻发布会今天(3日)下午召开...
2020-12-03
赵豪志任青岛市人民政府代理市长
原标题:赵豪志任青岛市人民政府代理市长来源:青岛日报12月3日上午,市十六届人大常委会第二十八次会议在八大...
2020-12-03
耀才证券研究部团队:恒指仍处于10天线水平拉锯
热点栏目自选股数据中心行情中心资金流向模拟交易客户端 耀才证券研究部团队隔晚美股个别发展,三大指数变...
2020-12-03
国产新冠疫苗传来重磅好消息 这些股有望脱颖而出
炒股就看金麒麟分析师研报,权威,专业,及时,全面,助您挖掘潜力主题机会!国产新冠疫苗传来重磅好消息!这...
2020-12-03
继续上涨!黄金是真突破还是诱多?
热点栏目自选股数据中心行情中心资金流向模拟交易客户端 来源:黄金头条道明证券表示,此前金价的下行可能...
2020-12-03
12月3日复盘:风险在路上且行且珍惜 资金重点出击5股
炒股就看金麒麟分析师研报,权威,专业,及时,全面,助您挖掘潜力主题机会!12月3日,三大股指震荡分化,截至...
2020-12-03
浙江省金华市政协党组书记、主席陶诚华接受审查调查
原标题:浙江省金华市政协党组书记、主席陶诚华接受审查调查据浙江省纪委监委消息:浙江省金华市政协党组书记...
2020-12-03
中国民航局与湖南省签署战略合作框架协议
原标题:中国民航局与湖南省签署战略合作框架协议上证报中国证券网讯 据中国民航局官网12月3日消息,12月2日...
2020-12-03
瑞银:平安好医生维持买入评级 目标价146港元
热点栏目自选股数据中心行情中心资金流向模拟交易客户端 瑞银发布研报报告称,平安好医生(01833)线上医疗...
2020-12-03
收盘:指数全天震荡分化 市场题材表现散乱
收盘丨指数全天震荡分化 市场题材表现散乱12月3日,A股三大股指震荡分化,截至收盘,沪指跌0 21%,深证成指...
2020-12-03
美官员称千余名中国研究人员离美 华春莹:美国竟如此不自信?
原标题:美官员称千余名中国研究人员离美华春莹:为何自诩为强大民主国家的美国竟如此不自信?【环球时报-环球...
2020-12-03
民航局:实施熔断措施以来,共减少入境航班259个
原标题:民航局:实施熔断措施以来,共减少入境航班259个中新经纬客户端12月3日电 12月3日,国务院联防联控机...
2020-12-03
十大博客看后市:两大方向撑起A股一片天
12月3日消息,三大指数早盘较为弱势。盘面上,银行、证券板块早盘再度拉升。OLED板块表现较为强势,有色板块回...
2020-12-03
蓝月亮上市招股在即,艾德证券期货"放大招"助港股打新轻松"吃肉"
摘要:蓝月预计本周招股最近的港股新股上市真是如火如荼。据艾德证券期货了解:定价8 8港元的恒大物业(06666...
2020-12-03
印度102人在最严重化工灾难中幸存 却死于新冠
原标题:印度102人在最严重化工灾难中幸存 却死于新冠 来源:海外网图源:美联社 海外网12月3日电 印度中...
2020-12-03
鲍威尔未明说美联储会加大QE 美指暂时松一口气
原标题:鲍威尔未明说美联储会加大QE,卡普兰也不赞成!美指暂时松一口气,无奈利空太多仍遭机构看跌12月2日(...
2020-12-03
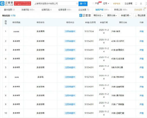
拼多多申请 “多多拼菜”“多多鸡”“多多果园”等商标
12月3日消息,企查查 App 显示,近日,拼多多关联公司上海寻梦信息技术有限公司新增 “多多拼菜”、“多多...
2020-12-03
湖南:以政府采购支持消费扶贫 各级预算单位采购农副产品超5亿元
原标题:湖南各级预算单位采购农副产品超5亿元来源:湖南日报湖南日报12月2日讯(记者奉永成通讯员黄秀仁)今...
2020-12-03
钜派研究院:新能源汽车5年增速或超7倍 新兴行业更迭快
钜派研究院认为,截至目前,未来5年增长最确定的细分领域就是新能源汽车,而中国新能源汽车最核心的逻辑说到底...
2020-12-03
许再越:人民币跨境巨大服务市场是中国的也是各个参与方的
12月3日消息,阿布扎比国际金融中心与阿联酋中央银行在两国首都联合举办“2020中国-阿联酋创新投资大会”。本...
2020-12-03
董克用:当前养老金制度不平衡、不充分 2018年养老金约为GDP的7%
12月3日,由新浪财经主办的养老与基金研讨会在京举行,中国养老金融50人论坛秘书长、清华大学社会科学学院教授...
2020-12-03
36974条
上一页
1
..
753
754
755
756
757
758
759
760
761
..
1479
下一页
最新文章
从星际飞船船长到电动自行车推销员: 与威廉·沙特纳的对话
韩国已经在进行区块链爆炸
如果你没有管理策略,你的数据就没用了
调查显示,这些公司将产生下一波企业家浪潮
尽管科技股下跌,Netflix仍在上涨
您是否已尽一切努力为这个销售旺季准备在线公司?
企业家可以通过三种方式使用AI来促进业务发展
2019将为芯片制造行业准备什么?
数字双胞胎的量子飞跃
精彩推荐
苹果WWDC主题演讲中的所有重要内容
微软的巴厘岛项目试图让你控制你的数据
区块链技术在东南亚的作用越来越大
如何掌握社交媒体营销2019年
如何破解亚洲竞争激烈的电子科技行业
机器学习如何创造一个更精英、更少偏见的就业市场
图文观赏
秒杀网红款,火爆朋友圈的匈牙利鹅绒被到底好在哪里!
错误的更新砖耐克 “自动系带” 智能鞋
Google Home和Amazon Echo可以存储您的语音记录。这是它们可以用来对付你的时候。
测试成功用户体验的一个指标
将AI整合到招聘中如何使面临劳动力危机的公司受益
为什么聊天机器人很好,不,他们不会夺走你的工作
绿色云计算: 每个质量保证都应该知道的技术
人工智能如何改变中小企业的商务旅行
这个机器人真空吸尘器在你工作的时候打扫你的房子
热门推荐
零工经济如何帮助促进多样性
为什么潮流正在转向能源部门
4人工智能趋势值得关注2019年
这位连续的企业家厌倦了文书工作,他建立了一个聊天机器人来帮助其他人进行管理工作
Salesforce的创新生产力解决方案如何帮助团队更快地完成更多工作
市场能否提供小企业所需的综合金融科技工具?
友情链接:
百度地图
融道中国
自助投稿
山西商业网
大军事网
中国白银理财网
科技金融网
贵州热线
万隆金银理财网
百度地图
大事中国
中国啤酒网
巴中房产网
深圳都市网
南方站长网
版权所有:融道网