在深圳,花将近200w买的公寓,
实际上却是办公?
业主称数月解决无门,
谁来为这件事“埋单”?
出品/深圳乐居 ID/szhouse
作者/黛西
“办公变住宅?”
“AB座疯狂举报C座?”
“我买的公寓不是真公寓?”
“整个小区都在违法搭建?”
……
在深圳龙华的一个小区,刚完成入伙,业主们还没来得及庆祝乔迁之喜,就陷入了“混乱”的状态。
同个小区、不同楼栋的业主之间互相举报、写投诉信;业主被停水停电,执法队在楼下把门进行24小时的“监视”;业主想搬东西上楼被阻拦,双方争执到了半夜……事情闹得是沸沸扬扬。
事情发生在位于清湖北站旁的天玑公馆。
项目占地面积1.71万㎡,总建面约10.4万㎡,容积率4.56,于2018年12月5日开盘,最早交房时间为2020年5月1日。

多位C座的业主称,自己在房间内装修搭板,遭到了同小区AB座业主的投诉,并被相关部门认定为违建。
现在C座多个楼层被停水停电,执法队进行24小时的看守,甚至多次与业主产生了争执。

上个月,叶小姐在装修工作室的过程中,想把衣帽架拿上楼被执法队禁止,称居住物品不得搬运上楼,一度引起了激烈的冲突,直到现在仍放在楼下。

对此,有业主向龙华区政务平台提出了异议,得到了如下回复:
根据《中华人民共和国城乡规划法》第四十条第一款规定,未经取得建设工程规划许可进行建设,属于违法建设行为;《深圳经济特区规划土地监察条例》第三十八条规定,规划土地监察机构在履行监察职责时,发现向违反城市规划或者土地管理法律、法规、规章的建设工程供水、供电或者出售预拌混凝土的,应当书面通知实施上述行为的单位或者个人停止供水、供电或者出售预拌混凝土,采取停水停电措施。龙华街道综合行政执法二中队根据上述规定依法天玑公馆C 座停水、停电。
明明是照着“样板间”装修,
却成了违法搭建?
多位C座的购房者表示,自己最初在参观样板间的时候,开发商所呈现出的就是loft复式住宅的样子,房间布置中囊括了卫生间、厨房、卧室等,均有图片和视频可以作证。

业主提供的样板间视频截图
且天玑公馆在对外销售期间,置业顾问的宣传文案中,也明确标榜了“4.5米层高”、“70年产权”、“复式两房”等信息。

但现在,样板间早已被拆除,只剩下墙面上遗留的痕迹——可以清楚地看到之前楼梯的走向和二层的架板。
据南方都市报报道,针对此事,龙华区住建局回应称,2019年4月,其接管相关事项后,对该项目进行日常巡查监管,“未发现项目C座设置样板房”;2019年7月,开发商提交了未设置样板房承诺书。
且区住建局表示,在收到市民信访后,他们多次约谈开发商,但开发商不承认样板房的存在。

业主提供的313样板房图片
据L女士表示,自己早在2018年接到中介的电话,介绍说“这边有156万的2房公寓在卖”,之后便以156万的总价购买了36㎡的房子。
2020年5月中旬交房,她于10月正式入住。
但10月底,龙华执法队就开始派人在小区楼下多个出口守卫。

明明是参考样板间购买再进行装修的房子,却成了“人人喊打”的违法搭建,生活受到影响,这使得C座的业主们有苦说不出。
目前,整栋楼三座电梯中仅剩一部可以运营,使用电梯需要等待很长的时间。

C座的走廊
房间门口的墙壁上,都张贴着龙华区规划土地监察局的入户检查通知书,认定建设行为违法,要求整改。
对此,M小姐表示,曾打电话过去,但“才提了几个问题就被挂掉了”,对方要求业主工作日去队里提供资料,也有业主已经去配合调查了。
“在此之前我们已多次给各部门递交证据和材料,但后来基本上没有音讯。”

面对被停水停电停电梯的现状,业主们深表无助。连叶小姐正常的装修工作室都被叫停,被要求申请并写好承诺书才可。
针对这一切,业主们产生了质疑,但楼下24小时轮班的执法队人员也显得情绪激动,并没有作出解释。而是反复强调他们只是执行方,自己只听领导的话,按领导的指示办事。
乐居编辑致电了龙华街道执法队,但目前处于电话无人接听的状态。
到底是谁的锅?
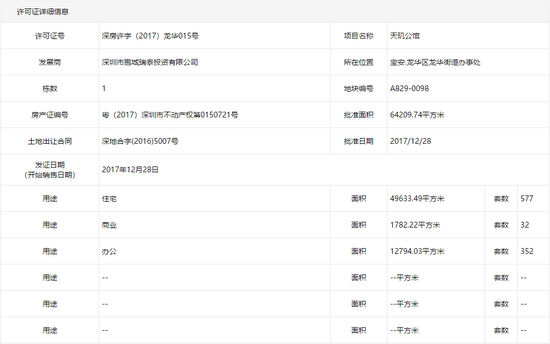
深圳市房地产信息平台显示,天玑公馆的项目许可证上写明——用途为办公的房源套数为352套,正是C座的户数。


备案信息是办公性质,白纸黑字的购房合同上也显示房屋性质是办公,但是开发商却欺骗消费者自己售卖的是公寓?
多位购房者坦言道,自己被“开发商的虚假宣传和销售”蒙骗了。
L女士告诉乐居,自己当时参观样板间之后一直以为就是公寓,销售称是70年产权,是商住两用型的。“当时忽略了这个问题,之后仔细一看才发现确实写的是办公,但那时候钱已经交完了。”
M小姐回忆了当时的场景,表示“签署的合同都是散页,签完之后过了两三个月才通知去拿,那时候才看到写的是办公”,当时也询问了销售,销售称“房本是二类居住用地、商住两用的,不影响”。
据南方都市报报道,深圳市市场监督管理局龙华监管局已派专人配合相关部门开展工作,针对开发商是否存在虚假宣传的行为正在调查中。

天玑公馆C座
在毛坯房中可以很直观地看到,房间的中部有一条白色的划线,如非用于后续架设二层的楼板,方便定位,要这标线有何用?
不仅如此,李先生称,房间里边有预埋铁,预埋铁可以搭钢构。

房间的高度超过4米,墙面上安装有上下两层窗户且均有护栏,上方的窗户也有把手。
另一侧墙面上方则安装有入户水管,其他位置还装有下水管道、烟道等等。

但如今,开发商矢口否认,并拆除了样板间。
项目的开发商为深圳市鹏城瑞泰投资有限公司,物业公司为深圳市深城投嘉邻物业管理有限公司。
乐居编辑致电了嘉邻物业天玑公馆物业服务中心,物业方面称不方便接受采访并挂断了电话。

大红灯笼高高挂
早在2020年6月,A、B座住宅楼的业主就已向有关部门反映,举报C座作为办公用地违法搭建,认为C座业主违规把办公楼改建成住宅,要求立即拆除违建建筑。
在人民网的领导留言板上,仍不断有网友发帖投诉,提出诉求。

领导留言板截图
显然,A、B座的业主认为,C座的改造行为是改变了房屋的性质,必须接受严格的责令整改,办公楼不可以住人。
话说回来,AB座自身是否无可指摘?
单从外墙上看,存在着外部搭建的问题,本该是中空的通风井有部分被铺盖上了板子,放置了不少大型杂物。
外立面搭板,或存在安全隐患。

A、B座分有ABCD四个户型,有多户或存在着违规搭建的问题。

如有A户型把外阳台改成房间,变相扩大房间面积。其他户型有室外搭建的行为,把空调的平台搭建成房间。

A座A户型平面示意图
(红圈处为改建位置)
据了解,最开始或有AB座不同户型业主互相投诉。早在去年6月也有执法队前去了解情况,网上疑似有政府工作人员的执法纪实录。

M小姐表示,虽然此前有执法队上门拆除,但后来又收到书面回复称AB座的行为是“消除安全隐患”。很明显话锋有了大反转,期间发生了什么不得而知。


放眼整个深圳,把办公当公寓卖的例子也不少,在光明的小k也遭遇了类似的情形。
销售的话术也是提到了商业用地,但因购房者对商务公寓/办公/新型产业用地/宿舍用地等概念模糊,且在下定金的时候根本未提及办公性质。
直到签订合同的时候,小k才发现自己买的公寓实际上是办公用地,但因定金已下只能作罢。

律师有话说
针对开发商前后口径不一,是否存在虚假宣传销售的问题,周争锋律师指出,如想证明开发商虚假宣传,则需要先向工商部门举报,由工商部门先行查处。
周律表示,如果工商部门没有认定其虚假宣传,也未作出行政处罚,那么购房者贸然指责开发商构成虚假宣传,并以此为由去法院打官司,依据现有的证据很难胜诉。
而对涉案房产的性质,最终以购房合同上约定的为准。周律反复强调,法院只看购房合同上的内容,以及房产的性质和用途。
“如购房者隐去自己明知这个房子为办公用途这个既定事实,一味地指责开发商虚假宣传,这没有任何法律意义。”
而对于购房者来说,如在明知涉案房产的性质情况下购买,应该承担相应的不利的法律后果。换句话说,出现这样的事件并不都是开发商的责任,购房者需要承担更大的责任。

现在,整件事情也是众说纷纭,但目前并未出现可令各方信服的解决办法。
版权及免责声明:凡本网所属版权作品,转载时须获得授权并注明来源“融道中国”,违者本网将保留追究其相关法律责任的权力。凡转载文章,不代表本网观点和立场。
延伸阅读
版权所有:融道中国