原标题:北京大兴公示问题预付制商家:莱茵达(北京)上榜 或与上市公司莱茵体育存关联
中国网财经1月8日讯 北京市大兴区市场监督管理局微信公众号1月8日发布“大兴市场监管提示消费者:谨慎选择预付费式消费”一文,对近一年来投诉数量大、解决率低的预付式消费商家进行公示,其中莱茵达(北京)体育场馆管理有限公司被点名。
图源:北京市大兴区市场监督管理局微信公众号公示显示,莱茵达(北京)体育场馆管理有限公司经营期间主要从事健身游泳的预付费经营活动,在无法继续提供服务的情况下,采取拖延等手段拒绝配合解决,未按照退款协议退还会员卡内余额,涉及人数众多金额较大。目前该公司已关门闭店,因对消费者提出的合理退款要求故意拖延或者无理由拒绝,已被市场监督管理部门立案调查。
公示指出,近年来,预付费消费纠纷频发,消费者有关预付式消费的投诉内容主要包括:商家关门、跑路,消费者预付费无法退还;经营者变更法定代表人,新人不理旧账;消费者合理退订,经营者无故拖延或拒不办理;设置不合理退费条件并收取高额手续费等。
北京市大兴区市场监督管理局提示消费者:一要慎重选择。消费者在预付费消费时一定要选择信誉度高的商家,仔细阅读、了解合同条款;二要留好证据。在办理预付费卡的时候,尽量对商家服务人员、服务项目、使用期限、退卡事宜等进行书面约定,将约定内容落实到纸面上,并索要发票、收据等消费凭证;三要理性消费。对待商家宣传的优惠要保持清醒,选择适合自己的消费习惯进行充值,切莫被商家宣传优惠折扣迷惑而冲动消费,尽量避免一次性预存大笔金额,以免商家停业走人、携款潜逃导致自身财产损失。
中国网财经根据地址信息查找发现,莱茵达(北京)体育场馆管理有限公司对外营业使用名称为莱茵体育游泳健身。中国网财经在大众点评APP搜索莱茵体育游泳健身发现,该店在会员卡、宣传物料上均使用了与A股上市企业莱茵达体育发展股份有限公司(简称莱茵体育)一致的logo,有网友评价指出该店在办卡时曾称有上市公司背书。



图源:大众点评APP天眼查显示,莱茵达(北京)体育场馆管理有限公司为莱茵达体育场馆管理有限公司全资子公司,后者法人、经理、大股东为缪亮(持股比例100%)。中国网财经发现,该公司与上市企业莱茵体育之间或存在关联。信息显示,缪亮担任董事长兼总经理并持股28.36%的另一家企业浙江万航信息科技有限公司,大股东为莱茵达控股集团有限公司(持股比例30.65%),后者持有莱茵体育13.8%的股份。
不仅如此,莱茵达控股集团还曾是莱茵体育的控股股东,根据莱茵体育相关公告,2019年3月11日,莱茵达控股集团与成都体育产业投资集团有限责任公司签署股份转让协议,将向后者转让莱茵体育总股本的29.90%,2019年6月5日完成过户后,莱茵达控股集团还持有莱茵体育17.80%的股份,经过数次减持之后仍持股13.8%。
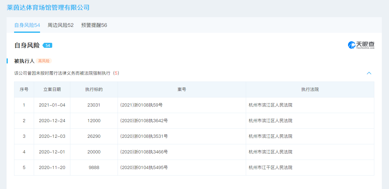
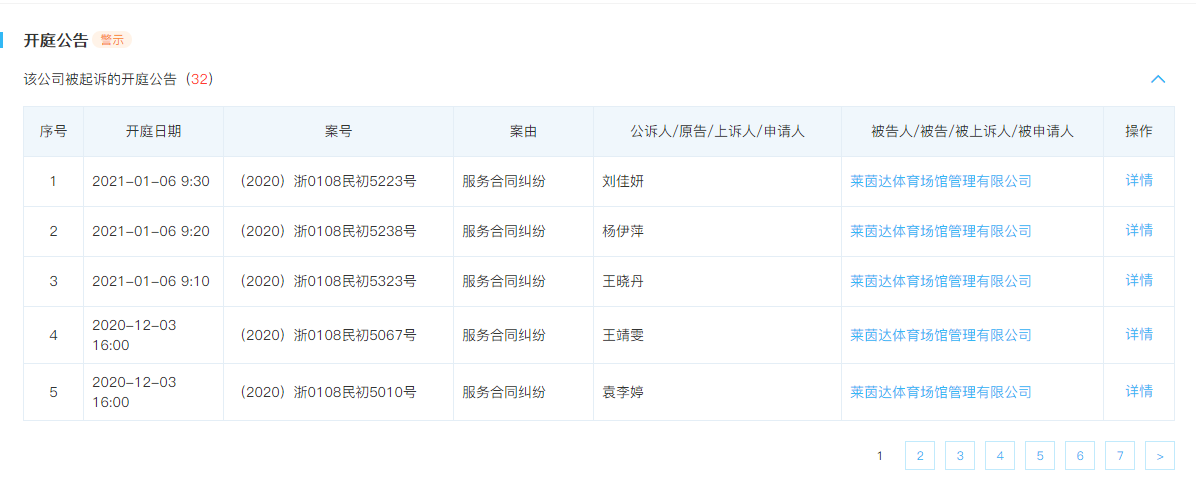
图源:天眼查中国网财经还发现,莱茵达(北京)体育场馆管理有限公司及其母公司莱茵达体育场馆管理有限公司名下有多起限制消费、被列为执行人、被起诉的记录,其中,后者被起诉的32条开庭公告多涉及服务合同纠纷。


图源:天眼查
版权及免责声明:凡本网所属版权作品,转载时须获得授权并注明来源“融道中国”,违者本网将保留追究其相关法律责任的权力。凡转载文章,不代表本网观点和立场。
延伸阅读
版权所有:融道中国