ST金刚再成失信被执行人 总执行标的达8.63亿
来源:证券时报网 时间:2021-01-06 12:38:08

热点栏目
自选股数据中心行情中心资金流向模拟交易客户端
原标题:ST金刚(维权)再成失信被执行人 总执行标的达8.63亿
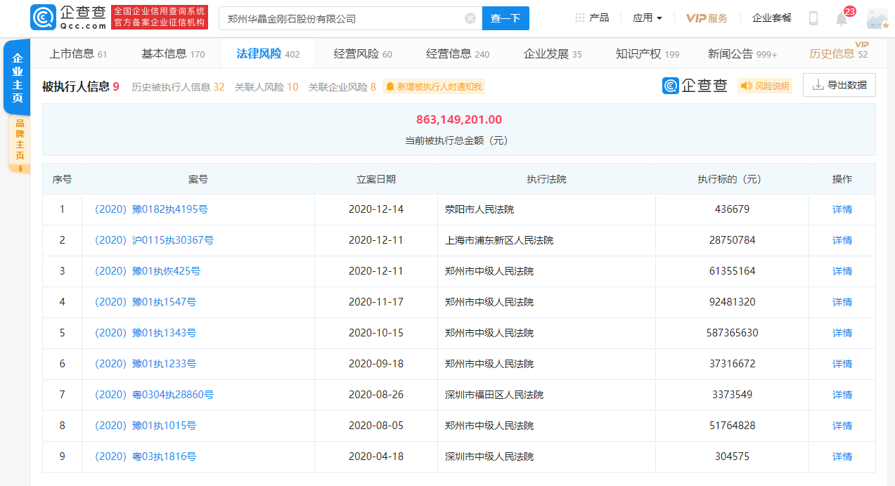
企查查APP显示,1月5日,ST金刚(300064)被荥阳市人民法院列为失信被执行人。当前,ST金刚已有4条失信信息。此外,ST金刚已9次成被执行人,当前被执行总金额达8.63亿元人民币。

版权及免责声明:凡本网所属版权作品,转载时须获得授权并注明来源“融道中国”,违者本网将保留追究其相关法律责任的权力。凡转载文章,不代表本网观点和立场。
延伸阅读
-
光大银行北京分行深入贯彻落实党中央、国务院放管服工作要求,大力支持民营企业、小微企业发展,积极响应中国人民银行账户管理两个不减...
2021-03-24
-
原标题:专访富德集团CEO潘家德: 投资百亿元押注海南文旅市场 三亚Hello Kitty主题乐园拟于2024年开园作者:朱丽娜在疫情助推之
2021-03-23
-
原标题:健康、数字生活生态驱动增长,众安在线扭亏为盈,2020年净利5 5亿来源:环球老虎财经3月23日,国内保险科技龙头众安在线财产保险股
2021-03-23
-
法国总统马克龙:应不分周末和节假日的进行新冠疫苗接种工作当地时间3月23日,法国总统马克龙在北部省市镇瓦朗谢讷视察新冠疫苗接种中心...
2021-03-23
-
原标题:何立峰:中国是世界经济发展受益者更是贡献者新华社北京3月23日电(记者戴小河)国家发展改革委主任何立峰在日前举行的中国发展...
2021-03-23
-
原标题:整顿教培市场先解决“退费难”教培市场乱象引发各方关注,近日,海淀区教委出台新政,明确预付费不是培训机构的收入,机构不能...
2021-03-23
-
投资研报【券商荐股精选】龙头股的“合理位置”与“安全边际”在哪里?周期股这一风险曝光【新能源汽车每日动见】上游资源价格涨跌分化...
2021-03-23
-
炒股就看金麒麟分析师研报,权威,专业,及时,全面,助您挖掘潜力主题机会!3月23日消息,行业利好密集出台,有8大板块有望成为A股明日...
2021-03-23
-
最新文章
-
马斯克V.S薛其坤:立足当下 对人类未来展开无限想象
-
精彩推荐
-
-
图文观赏
-
众安在线扭亏为盈:2020年净利5.5亿 数字生活生态驱动增长
-
热门推荐
-