原标题:330亿负债!又一家“摩托车大王”危机沉重,摩帮三巨头相继倒下
来源:小债看市
曾经,“隆鑫系”掌门人涂建华与尹明善、左宗申一起被称为“重庆摩帮”三巨头,但如今嘉陵卖壳、力帆破产,隆鑫也在债务危机中苦苦挣扎,随着三个“摩托车之王”依次陨落,一个时代落幕了。
01、降级
10月27日,新世纪评级公告称,考虑到隆鑫控股有限公司(以下简称“隆鑫控股”)本部流动性紧张、经营亏损等因素,决定调整其主体信用等级为BB+级,评级展望为负面;认为“16隆鑫MTN001”还本付息安全性一般,决定调整其信用等级为BB+级。

跟踪评级报告
《小债看市》注意到,2019年由于资金链紧张,在国内摩托车企业排名前三的隆鑫控股爆发债务危机。
2019年初,隆鑫控股实控人涂建华,在公开场合爆料被一家国企拖欠60亿股权转让款长达四年,直言“扛不动了”、“被活活拖死”,将隆鑫的资金链问题公之于众。
截至今年8月,隆鑫控股逾期债务超28亿元,其中包括未结清关注类贷款余额28.04亿元,以及逾期未支付利息0.44亿元。
2019年末,隆鑫集团债委会通过重组方案,采用“降息留债”模式,通过延长还款期限、降低借款利率等方式缓解集中偿债压力。
《小债看市》统计,目前隆鑫控股仅存续“16隆鑫MTN001”一只债券,当前余额6亿元,将于2021年5月6日到期。
在爆发危机一年后,隆鑫控股的债务问题依然沉重,更要命的是其已经连续两年亏损,并且在汽车行业景气度和再生资源政策影响下,亏损规模持续放大。
02、债务危机
据官网介绍,隆鑫控股是一家以实业为根基的投资控股集团,产业领域主要涵盖工业、环保及再生资源利用、汽车贸易、金融投资等。
隆鑫控股旗下拥有隆鑫通用(603766.SH)、齐合环保(00976.HK)、瀚华金控(03903.HK)和丰华股份(600615.SH)4家上市公司,并参股重庆农村商业银行(03618.HK)。

隆鑫控股官网
从股权结构看,涂建华直接持有隆鑫控股2%股份,并通过隆鑫集团间接持股98%,穿透后为公司实际控制人。

股权结构图
近年来,受行业波动及政策调整等因素影响,隆鑫控股业绩由盈转亏,2019年计提商誉减值准备后,经营大额亏损1.73亿元。
今年上半年,叠加疫情影响,隆鑫控股经营亏损持续扩大,实现归母净利润-3.62亿元。

盈利能力
截至今年6月末,隆鑫控股总资产为461.38亿元,总负债330.83亿元,净资产130.55亿元,资产负债率高达71.7%。
值得注意的是,由于大力对外并购投资且关联方占款严重,近年来隆鑫控股财务杠杆水平高居不下,明显高于行业平均水平,存在较大债务风险。

财务杠杆水平
《小债看市》分析发现,隆鑫控股债务结构呈短期化,主要以流动负债为主,占总负债的78%,债务结构不合理。
2018年以来,由于流动负债增长较快,其流动资产已无法覆盖前者,资产流动性指标持续下降,短期偿债能力持续恶化。
截至今年6月末,隆鑫控股流动负债有256.4亿元,主要为一年内到期的非流动负债,其短期债务规模有177.79亿元。
值得注意的是,近年来在短期负债不断攀升之际,隆鑫控股的自有资金却持续下降。目前其账上货币资金只有31.49亿元,远远无力覆盖短债,现金短债比为0.18,其短期偿债风险巨大。

自有资金持续下降
从备用资金方面看,截至今年6月末,隆鑫控股银行授信总额为302.17亿元,未使用授信额度为45.05亿元,可见其财务弹性欠佳。
除此之外,隆鑫控股还有非流动负债74.43亿元,主要为长期借款。整体看其刚性债务规模较大,有息负债已达到234.9亿元,且刚性债务主要集中于母公司,在现金储备及增量融资授信较少情况下,其流动性异常紧张。
因此,隆鑫控股的偿债资金对外部融资较为依赖,其融资渠道较为多元,除了发债和借款,还有1次租赁融资、5次应收账款融资、1次定增以及13次股权质押融资。
然而,2017年以来隆鑫控股外部融资环境恶化,其筹资性现金流由净流入转为净流出状态,融资渠道遇阻。

筹资性现金流转负
另一方面,隆鑫控股股权质押比例高,后续资金腾挪空间十分有限。
据最新数据,隆鑫控股所持隆鑫通用和丰华股份股权质押率分别达到99.95%和99.16%,并且由于债务逾期,其所持隆鑫通用、丰华股份和重庆农商行股权全部被冻结和轮候冻结。
《小债看市》注意到,隆鑫控股的资金链紧张问题从2018年便初露端倪。
2018年3月,隆鑫控股非经营性占用丰华股份资金,用于偿还公司部分债务,后被上海证券交易公开谴责,并通报中国证监会和上海市人民政府,计入上市公司诚信档案。
从资产质量上看,隆鑫控股被股东占用资金情况严重,且回收难度大;同时其还为关联企业提供部分担保,面临一定代偿风险。
2019年末,隆鑫控股其他应收款项高达87.41亿元,主要为应收隆鑫集团往来款项43.26亿元,资金回收存在一定不确定性;另外其为关联方提供担保超30亿元,主要为渝商投资担保 26.72亿元和隆鑫集团担保6.25亿元。
近年来,随着隆鑫控股对外大举并购,目前已积累商誉43.68亿元,2019年计提商誉减值2.95亿元,未来仍存在一定的商誉减值风险。
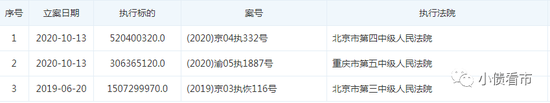
债务危机爆发以来,由于债务逾期,隆鑫控股已三次被列为被执行人,执行标的合计超23亿元。

被执行人详情
总得来看,近年来隆鑫控股盈利能力大幅下滑,但财务杠杆水平却居高不下,短期债务风险较高;自有资金不断下滑,资金链异常紧张;再加上外部融资环境恶化、股权质押率高,其资金腾挪空间十分狭窄,债务危机沉重。
03、重庆商界传奇
“隆鑫系”创始人涂建华,在重庆商界可谓是一届传奇人物,其现任全国政协委员、重庆市工商联主席。
早年,涂建华曾是煤矿的一名电工,亲历过多次事故负伤却都死里逃生,最终于1983年因工伤离职。
同年,涂建华在重庆市九龙坡区滩子口的几间简陋厂房里开始创业,先后创办了金属拉丝厂、纸巾厂、预制构件厂、塑料橡胶厂等。

涂建华早年创业历程
但是,在苦苦摸索十年后,涂建华才终于找到适合自己的发家之路。
1993年,涂建华涉足摩托车行业,成立重庆隆鑫交通机械厂研究生产发动机,后来还将生产领域延伸到摩托车整车制造以及通用热动力机械制造等行业。
此后,涂建华带领隆鑫发展成了中国最大的摩托车制造商之一,长年占据国内摩托行业前三强,并占领了越南摩托车市场50%的份额。
2002年,隆鑫摩托车发动机、摩托车和通用机械低碳成套动力设备的销售、出口量,就跻身国内同业前茅。

隆鑫发展壮大时期
值得注意的是,涂建华的这一段发家史和力帆集团的尹明善如出一辙,同是始于1993年,同是在重庆,同样是从摩托车发动机制造起家,后来涂建华、尹明善以及左宗申一起被称为“重庆摩帮”三巨头。(后台回复“力帆”查看尹明善的故事)
后来,不甘心只做摩托产业的涂建华,开始进行多元化发展布局。
2003年隆鑫控股成立,业务包括工业制造、金融服务、房地产开发、资源投资等的多元化集团公司。此后10年涂建华领导的隆鑫实现了由单一制造业向多元化产业集团、由单一产业推进向产业与资本融合发展的转变。
十年后,隆鑫控股的支柱产业工业和金融板块双双在全国行业内领先,房地产板块连续第5届被评为“中国房地产开发企业50强”,也是在这一年以摩托车为主营业务的隆鑫通用(603766.SH)登陆A股市场。
如今,隆鑫控股已经发展为资产版图遍布A股、港股,拥有金控平台以及多家银行股份的投资控股集团,涂建华已经构筑成资本市场举足轻重的“隆鑫系”。
商业版图不断扩大的同时,涂建华的个人财富也水涨船高,在《2019年胡润百富榜》上,涂建华以120亿身家位列榜单第320位。
然而,30多年打造的资本巨轮,倾覆只在转瞬之间。自从去年陷入债务危机,隆鑫至今还在泥潭中挣扎,嘉陵和力帆倒下后,涂建华还能扛多久?
版权及免责声明:凡本网所属版权作品,转载时须获得授权并注明来源“融道中国”,违者本网将保留追究其相关法律责任的权力。凡转载文章,不代表本网观点和立场。
延伸阅读
版权所有:融道中国