原标题:中国人寿被举报造假 当事人回应 究竟怎么回事?事情背后详情始被曝光

2020年2月24日,#员工实名举报中国人寿大量造假#事件引发广泛关注。
在爆料视频中,一名自称在中国人寿嫩江支公司工作16年的员工张乃丹称,嫩江支公司总经理存在保费造假、骗保套钱谋取私利等问题。根据微博文章,2019年其曾向中国银保监会实名举报“中国人寿嫩江支公司领导孙小刚造假贪污问题”。
详情请见此前的报道《遭16年老员工举报大量造假,中国人寿紧急回应:正在调查!公司曾因虚列费用被罚》。
张乃丹介绍称,自2019年起,她就多次向黑龙江银保监局、黑河银保监分局实名举报中国人寿黑河、嫩江公司相关负责人存在造假套钱等行为,由于拒绝帮领导报账而遭到领导打压排挤,并在2019年8月遭到开除。
举报信一出,舆论哗然,并迅速登上微博热搜。
不少网友留言称,像举报中所说的高管为完成业绩而造假的情况,在保险行业极其普遍,区别只是严重的程度而已。
也有网友称,员工举报这个事,需要认清的是公司违法操作,而不是让更多人误以为保险是骗人的,不能因为这个事就去抵制保险,而是要查清公司造假的真相。
而刚刚,各方也有了新回应。
孙小刚:本人已离职,将起诉对方
孙小刚对记者表示,上述举报人在网络平台所说关于他本人的问题不存在,并表示将起诉对方。
“她说我造假、做假保费、贪污套取资金并且占为己有均不属实,她还说我窃取客户资料、虚假增员和身价千万都不存在。”孙小刚说。
他称,之前和张乃丹二人曾因工作问题存在矛盾,张所说的经营上不妥当的问题当地银保监局也有相关处理。“现在她的行为侵犯了我个人权益,我准备起诉她。”
银保监会官网显示,2019年12月,中国人寿嫩江支公司因虚列费用被黑河银保监分局连开4张罚单,被罚款10万元,孙小刚也被罚款10万。
至于个人贪污问题,孙小刚表示,当地纪检委曾对他进行过调查,已经有调查结果,具体情况可以询问当地纪检委。
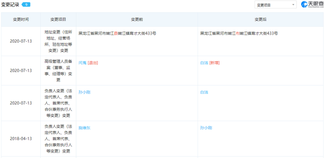
另据天眼查,中国人寿嫩江支公司成立于1998年6月,经营范围含人寿保险、健康保险、意外伤害保险等各类人身保险业务;国家法律法规允许的或国务院批准的资金运用业务;咨询和代理业务等。
孙小刚于2018年4月进入中国人寿嫩江支公司任负责人,2020年7月退出,同步退出的还有闫嵬,统一变更为白洁。

孙小刚本人亦表示,自己已经从中国人寿嫩江支公司离职。
黑龙江银保监局介入
2月24日下午,黑龙江银保监局相关工作人员对@界面新闻 回应称,目前该局正在研究此事,相关问题有专人在负责,“对于具体处置问题,我们肯定会有后续措施。”
中国人寿:已成立专门调查组赶赴当地调查
2月24日,中国人寿回应称:近日,我公司黑龙江省黑河市嫩江支公司前员工张某某通过自媒体进行网络实名举报。公司高度重视,已成立专门调查组赶赴当地开展全面调查。
中国人寿表示,公司一贯坚持依法合规经营,严格按照国家法律法规及监管规定,开展经营管理活动,维护客户和员工合法权益。如调查发现违规违纪问题,将严肃处理,绝不姑息。
虚假增员是什么操作?
在关注中国人寿的同时,举报事件在网上引起了关于保险行业的大讨论,例如,就有保险从业经历的网友表示,“实话说,其实这些现象在保险行业一直存在,可能外行人看起来觉得触目惊心,内行人早已习惯且麻木了……”
比如虚假增员及连锁违规行为,就堪称保险业的“顽疾”。
“保险公司的运营体制就是增员,打业务,两者缺一不可。保险公司每年3-4次大规模增来的新人,带来的新契约保费占比能达到全年的50%甚至更多。”2月24日,一名资深保险经纪人告诉记者。
在此背景下,诸多保险公司为增员打出“绝招”,不惜采取虚假增员,骗取上级公司的人头费。
明亚保险经纪公司相关人士向记者反映,“虚假增员、假学历入职等现象在行业中很常见,身边有只是小学学历,但也能入职做保险业务员的案例。”
围绕发展代理人,保险行业同时还伴生出虚假学历的情况。
早在2019年,上海人寿人力资源总监周秋实学历造假案就曾在业内轰动一时。同年10月25日,上海银保监局在官方网站公告称,对周秋实的上海人寿副总经理及董事会秘书任职资格不予许可,主要原因是:周秋实的对外经济贸易大学本科毕业证书与该校证书不符。
自原保监会2015年取消了保险代理人资格考试,由保险公司自行组织考试后,保险代理人数量猛增,截至2020年6月30日,全国保险公司在保险中介监管信息系统执业登记的保险销售从业人员971.2万人,其中代理制销售人员910.2万人。
900万大军背后,不少保险营销员由于学历造假和销售违规而接罚单,其中与代理人招聘把关不严有关。
2019年4月8日,苏州银保监分局公布处罚决定,太平人寿苏州分公司存在高达93名销售人员疑似学历造假、代签名等两项违法行为,被处以警告及罚款处罚。
2月23日,银保监会公布,中国平安人寿上海分公司的个人保险代理人秦燕在2019年12月至2020年6月,存在超过保险公司授权范围销售保险的行为,责令改正,给予警告,并处3万元罚款。
今年1月,永诚财险哈尔滨中心支公司也曾因“虚列费用”被黑龙江银保监局责令停止接受新业务6个月,且其主要负责人李 国强由于对上述违法违规行为负有直接责任,被撤销任职资格。
对于险企增员乱象屡禁不止,明亚保险经纪公司相关人士向时代周报记者分析称,在一定程度上,这与公司的管控有关,部分公司严格要求大专学历以上,尚有很多公司要求较为宽松,很多违规者“钻空子”,来谋取便利,其中,不乏很多增员的新人,本身就是客户。
版权及免责声明:凡本网所属版权作品,转载时须获得授权并注明来源“融道中国”,违者本网将保留追究其相关法律责任的权力。凡转载文章,不代表本网观点和立场。
延伸阅读
版权所有:融道中国