*ST富控因涉嫌信披违法违规被立案调查 公司已多次被限制高消费
来源:证券时报网 时间:2020-12-29 11:38:26

热点栏目
自选股数据中心行情中心资金流向模拟交易客户端
原标题:*ST富控(维权)因涉嫌信披违法违规被立案调查,公司已多次被限制高消费
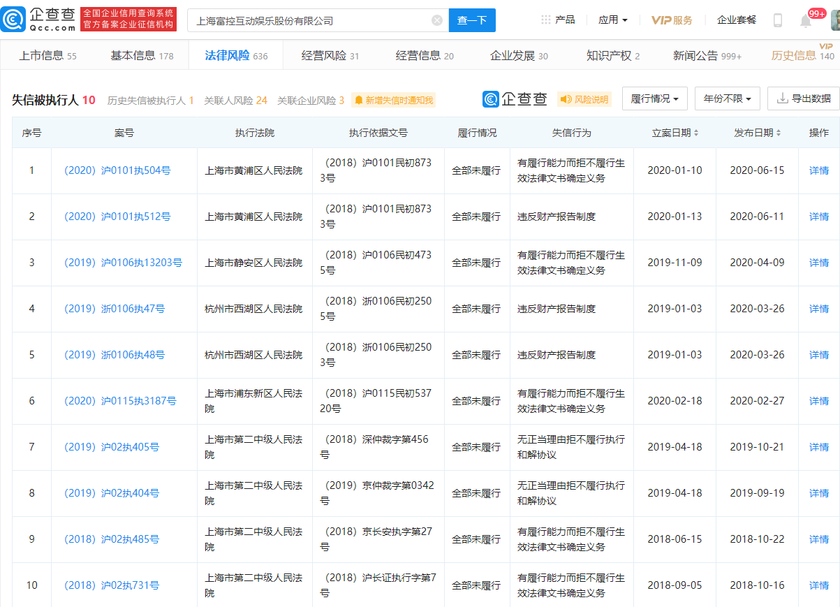
12月29日,*ST富控(600634)公告称,公司因涉嫌信息披露违法违规被证监会立案调查。12月9日起,*ST富控股票已暂停上市。截至今年三季度末,*ST富控A股股东户数为3.25万户。企查查APP风险信息显示,当前*ST富控共有10条失信信息,3次被列为被执行人,被执行总金额约2.73亿元,公司及相关人员共15次被限制高消费。
版权及免责声明:凡本网所属版权作品,转载时须获得授权并注明来源“融道中国”,违者本网将保留追究其相关法律责任的权力。凡转载文章,不代表本网观点和立场。
延伸阅读
-
投资研报【券商荐股精选】龙头股的“合理位置”与“安全边际”在哪里?周期股这一风险曝光【新能源汽车每日动见】上游资源价格涨跌分化...
2021-03-23
-
原标题:世卫组织:全球新冠肺炎确诊病例超过1 232亿例根据世卫组织最新实时统计数据,截至欧洲中部时间3月23日9时46分(北京时间3月23
2021-03-23
-
来源:光明网时评频道如此环评操作,明显存在重大弄虚作假嫌疑,这不是在以科学严谨的态度在做环评,而是堕落成为环评的“批发商”和“...
2021-03-23
-
原标题:中国太平2020成绩单:净利润65 49亿港元同比降27%,财险、再保险亏损3月23日,中国太平发布2020年业绩报告。全年,太平保
2021-03-23
-
投资研报【券商荐股精选】龙头股的“合理位置”与“安全边际”在哪里?周期股这一风险曝光【新能源汽车每日动见】上游资源价格涨跌分化...
2021-03-23
-
投资研报【券商荐股精选】龙头股的“合理位置”与“安全边际”在哪里?周期股这一风险曝光【新能源汽车每日动见】上游资源价格涨跌分化...
2021-03-23
-
原标题:北京银保监局严肃查处个人经营性贷款违规流入房地产市场来源:北京日报针对北京地区房价持续上涨和个人经营性贷款资金违规流入...
2021-03-23
-
新华社北京3月23日电 题:我国金融网关“官宣”!跨境金融网络与信息服务水平进一步提升新华社记者吴雨随着金融业对外开放不断深化,我...
2021-03-23
-
最新文章
-
马斯克V.S薛其坤:立足当下 对人类未来展开无限想象
-
精彩推荐
-
-
图文观赏
-
众安在线扭亏为盈:2020年净利5.5亿 数字生活生态驱动增长
-
热门推荐
-