两分钟血亏8140万元!突遭天地板,大牛股17个涨停后变脸
张兴旺
10月28日早盘,此前走出17连板涨停的次新股中天火箭不到2分钟上演天地板行情。涨停价买进的4.76万手筹码,2分钟内浮亏8140万元。
截至10月28日收盘,中天火箭跌停,报77.02元,卖一上还有8.11万手封单,全天成交额8.51亿元,换手率为25.22%。

来源:Wind
开盘不到两分钟上演天地板
9月25日,中天火箭在深交所中小板上市。Wind数据显示,自9月25日至10月27日,中天火箭已连续17个交易日涨停(包括首日上涨43.97%)。
10月28日早盘,中天火箭上演天地板行情。Wind数据显示,在集合竞价阶段有4万手买单,以涨停价94.14元买进;连续竞价阶段的9:30,又有7550手买单以涨停价买入,合计耗资4.48亿元。

来源:Wind
开盘后,中天火箭打开涨停板并直线跳水,9点31分51秒,2016手77.02元的卖单,将中天火箭砸至跌停板。换句话说,买在涨停板的那4.48亿元,不到2分钟浮亏8140.56万元,幅度18.17%。

来源:Wind
今日,在中天火箭的股吧里,一位股民留言称:“多正宗的军工股,火箭这玩意纯消耗品,涨停板买的,要亏死了。”

来源:股吧
在股吧里,一位股民表示:“昨晚挂单买,还好撤单了,吓死我了。”

来源:股吧
还有股民在股吧表示:“真是火箭的速度,难以想象。”
截至10月28日收盘,卖一上还有8.11万手封单,6.25亿元资金排队出逃。
龙虎榜“常客”
资料显示,中天火箭主要从事小型固体火箭及其延伸产品的研发、生产和销售,并一直致力于推进航天固体火箭核心技术成果的转化应用,积极发展航天智造产业。申万宏源指出,中天火箭为国内领先的小型固体火箭生产商。
从业绩来看,中天火箭前三季度实现营收5.46亿元,同比增长26.85%;归属于上市公司股东的净利润为7290.58万元,同比增长23.64%。第三季度,中天火箭实现营收1.67亿元,同比增长57.94%;归属于上市公司股东的净利润为1205.10万元,同比增长35.30%。
Wind数据显示,从9月25日至10月28日,中天火箭已11次登上龙虎榜,机构和券商营业部席位均有上榜,不过多数席位为券商营业部。
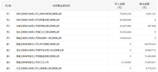
10月28日盘后龙虎榜显示,湘财证券上海共和新路证券营业部、湘财证券汨罗建设路证券营业部、华泰证券南京解放路证券营业部、信达证券镇江长江路证券营业部、国融证券西安高新一路证券营业部位列前五大买入席位,合计买入2.04亿元。国盛证券北京乐园路证券营业部、信达证券葫芦岛龙湾大街证券营业部、国盛证券南昌施尧路证券营业部、国盛证券浙江分公司、方正证券上海南奉公路证券营业部位列前五大卖出席位,合计卖出1.05亿元。

来源:深交所官网
版权及免责声明:凡本网所属版权作品,转载时须获得授权并注明来源“融道中国”,违者本网将保留追究其相关法律责任的权力。凡转载文章,不代表本网观点和立场。
延伸阅读
版权所有:融道中国