银隆新能源成被执行人 执行标的超300万
来源:新京报 时间:2020-10-28 15:45:04
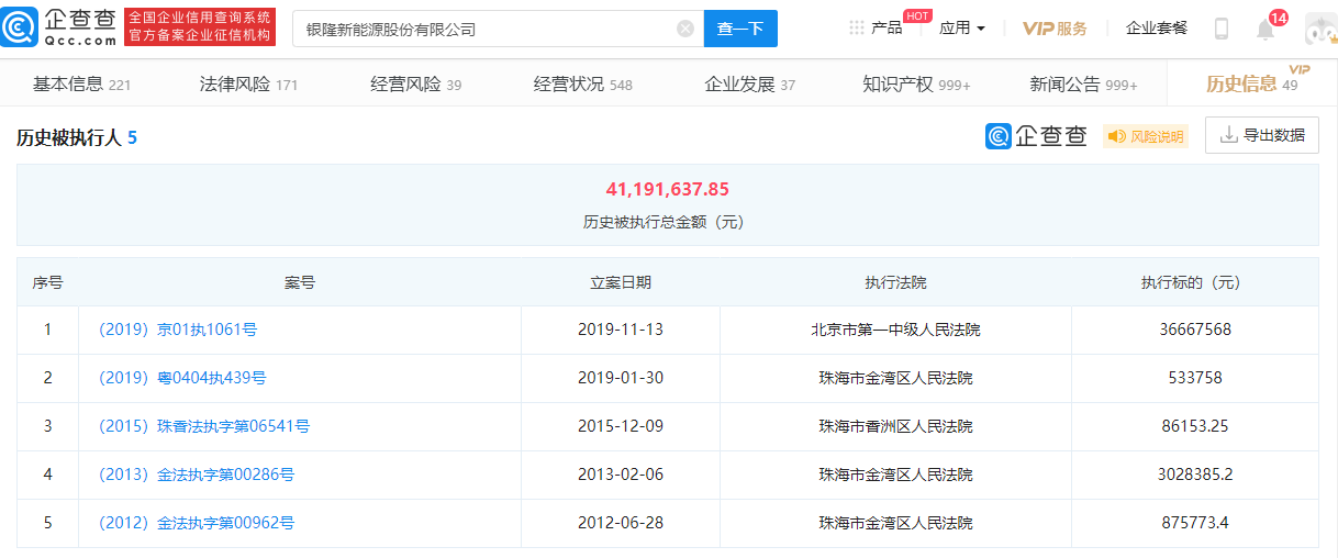
银隆新能源成被执行人,执行标的超300万
企查查APP显示,10月27日,银隆新能源股份有限公司被珠海市金湾区人民法院列入被执行人,案号为(2020)粤0404执3743号,执行标的3132371元。

企查查工商信息显示,银隆新能源股份有限公司成立于2009年,注册资本约11亿元人民币,法定代表人为赖信华。经营范围包括:对新能源相关领域技术的研究开发;锂离子动力电池和储能电池的生产、销售;混合动力、纯电动车动力总成、电机、电源管理系统及相关领域的技术开发等。

版权及免责声明:凡本网所属版权作品,转载时须获得授权并注明来源“融道中国”,违者本网将保留追究其相关法律责任的权力。凡转载文章,不代表本网观点和立场。
延伸阅读
-
投资研报【券商荐股精选】龙头股的“合理位置”与“安全边际”在哪里?周期股这一风险曝光【新能源汽车每日动见】上游资源价格涨跌分化...
2021-03-23
-
原标题:世卫组织:全球新冠肺炎确诊病例超过1 232亿例根据世卫组织最新实时统计数据,截至欧洲中部时间3月23日9时46分(北京时间3月23
2021-03-23
-
来源:光明网时评频道如此环评操作,明显存在重大弄虚作假嫌疑,这不是在以科学严谨的态度在做环评,而是堕落成为环评的“批发商”和“...
2021-03-23
-
原标题:中国太平2020成绩单:净利润65 49亿港元同比降27%,财险、再保险亏损3月23日,中国太平发布2020年业绩报告。全年,太平保
2021-03-23
-
投资研报【券商荐股精选】龙头股的“合理位置”与“安全边际”在哪里?周期股这一风险曝光【新能源汽车每日动见】上游资源价格涨跌分化...
2021-03-23
-
投资研报【券商荐股精选】龙头股的“合理位置”与“安全边际”在哪里?周期股这一风险曝光【新能源汽车每日动见】上游资源价格涨跌分化...
2021-03-23
-
原标题:北京银保监局严肃查处个人经营性贷款违规流入房地产市场来源:北京日报针对北京地区房价持续上涨和个人经营性贷款资金违规流入...
2021-03-23
-
新华社北京3月23日电 题:我国金融网关“官宣”!跨境金融网络与信息服务水平进一步提升新华社记者吴雨随着金融业对外开放不断深化,我...
2021-03-23
-
最新文章
-
马斯克V.S薛其坤:立足当下 对人类未来展开无限想象
-
精彩推荐
-
-
图文观赏
-
众安在线扭亏为盈:2020年净利5.5亿 数字生活生态驱动增长
-
热门推荐
-