
近日,上海联合产权交易所一则产权成交公告显示,第三方支付公司上海付费通信息服务有限公司(下简称“付费通”)26.817%股权以23655.363256万元(约2.37亿元)价格,已于11月16日成交。按照成交价,付费通总值约8.83亿元。
公告还显示,该标的转让底价与成交价格一致,而其评估值则为18343.560000万元(约1.83亿元)。也就是说,相比于评估值,成交价有近30%上浮。

据移动支付网了解,付费通股权交易相关信息是从2020年9月21日开始披露。换言之,不到两个月时间内,付费通的这部分股权已找到买家。
据移动支付网了解,成立于2003年的付费通在2011年就已取得第三方支付牌照,与支付宝、财付通都是首批获得第三方支付牌照的机构。其业务范围涉及互联网支付、移动电话支付、固定电话支付、银行卡收单业务,可以说是第三方支付里的“全牌照”存在,资质相当优秀。

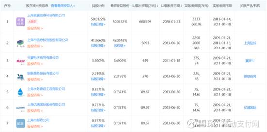
根据此前上海联合产权交易所的公告,付费通的26.817%股权来自三个方面。
其中,上海市信息投资股份有限公司(下简称“上海信投”)转让23.86%股权,对应出资额为2903万元;银联商务股份有限公司(下简称“银联商务”)转让2.22%股权,对应出资额为270万元;上海水务建设工程有限公司(下简称“上海水务”)转让0.74%股权,对应的出资额为89.67万元。

本次股权转让前付费通股东成分
在本次股权转让前,上海信投在付费通的持股比例为41.87%,是其第二大股东。银联商务持股比例为2.22%,系第四大股东,上海水务持股比例0.74%,为并列第五大股东。
在更早前的2020年1月23日,上海易翼信息科技有限公司(下简称“上海易翼”)认缴出资6083.99万元,从而获得付费通50.01%的股权,成为付费通控股股东,原本作为最大股东的上海信投才退居第二大股东。
资料显示,上海易翼背后的实际控股公司为深圳启真科技有限公司,拼多多联合创始人兼首席技术官陈磊是其实际控制人。事实上,早在2017年下旬上海易翼就已入股付费通,并成为当时的第二大股东。业界普遍认为,拼多多试图通过高管的关联公司,寻求在第三方支付牌照上的突破。毕竟在此之前,拼多多因为无证经营支付业务、二清等问题备受争议。
不难看出,付费通的股权变更就是原大股东上海信投逐渐退出、上海易翼不断介入的过程。
预计本次转让完成后,上海信投将只持有付费通18.01%股权。银联商务、上海水务则彻底退出了股东名单。
目前工商信息尚未更新,我们仍无法得知这次付费通股权买方信息。但根据此前的交易公告,付费通原股东享有优先受让权。拼多多方面是否会通过上海易翼,提高持股比例从而加大对付费通的控制,尚未清楚。
除了拼多多外,今年来还有不少互联网“新贵”们又和支付牌照产生不少联系,比如字节跳动(抖音)与合众支付、快手与易联支付,俗套的“互联网企业+支付牌照”故事似乎没有终结。无论是拼多多,还是字节跳动、快手,都逃不开阿里、腾讯、京东、美团、小米、滴滴等公司的套路。
事实上,以电商为核心业务的拼多多更需要支付牌照的支持。特别是在此之前,拼多多曾受困于无证经营支付业务、二清等问题,备受争议。支付与电商可谓天然契合,抖音、快手染指支付牌照同样被认为与它们自身的电商业务有重大关系。
移动支付网还注意到,拼多多官网的社会招聘已公布10个支付相关职位,最新发布的时间为11月23日。

拼多多部分支付相关招聘
值得注意的是,拼多多已经成功拿下了2021年春晚互动红包的独家伙伴,这将是继微信、支付宝、淘宝、百度、快手之后,第6家在春晚上发红包的互联网企业
作者:移动支付网
来源:雪球
版权及免责声明:凡本网所属版权作品,转载时须获得授权并注明来源“融道中国”,违者本网将保留追究其相关法律责任的权力。凡转载文章,不代表本网观点和立场。
延伸阅读
版权所有:融道中国