你有脱发的困扰吗?
国家卫健委发布的数据显示,中国已有超过2.5亿人正饱受脱发的困扰,平均每6人中就有1人脱发。其中,大批90后也已经加入到脱发的阵营中。
正是因为众多饱受脱发困扰的消费者,近几年主打防脱发的洗发水层出不穷。近日,一家公司在网上虚假宣传售卖的洗发水有防脱发功能被监管部门处罚。由于带货直播“一哥”李佳琦持有该公司49%的股份,事件引发众多网友关注。
李佳琦专属店虚假宣传
被罚1万元
根据上海市崇明区市场监督管理局今年6月10日发布的行政处罚决定书,2019年8月24日举报人在天猫李佳琦专属店购买了42瓶菲诗蔻洗发水,花费了3738元。举报人称李佳琦专属店在网上虚假宣传该洗发水有防脱发功能,实际上没有,因此向监管部门投诉该店家虚假广告。

监管机构查明,当事人上海妆佳电子商务有限公司2019年4月在其天猫商城平台上自行开设的网店(网店名称:李佳琦专属店)发布菲诗寇洗发水具有防脱发功效,且无法提供相关依据。涉案广告页面由当事人自行设计制作,不涉及广告费用。
上海市崇明区市场监督管理局表示,上海妆佳电子商务有限公司的上述行为,违反了《中华人民共和国广告法》第二十八条第二款第(五)项“广告有下列情形之一的,为虚假广告:(五)以虚假或者引人误解的内容欺骗、误导消费者的其他情形。”的规定,构成了发布虚假广告的行为。根据《中华人民共和国广告法》第五十五条第一款“违反本法规定,发布虚假广告的,由工商行政管理部门责令停止发布广告,责令广告主在相应范围内消除影响,处广告费用三倍以上五倍以下的罚款,广告费用无法计算或者明显偏低的,处二十万元以上一百万元以下的罚款;”的规定。
上海市崇明区市场监督管理局表示,当事人是小型微利企业、违法广告内容发布在自有场所且发布时间不超过6个月,没有造成不良社会影响等危害后果、案发后已主动终止违法行为并积极配合调查,主动提供证据材料,其行为符合《中华人民共和国行政处罚法》第二十七条第一款第(一)项“当事人有下列第5页共6页情形之一的,应当依法从轻或者减轻行政处罚:(一)主动消除或者减轻违法行为危害后果的;”所规定的情形。决定对当事人减轻处罚如下:罚款(人民币)壹万圆整。
每经小编注意到,目前,在天猫“李佳琦专属店”中已搜索不到“菲诗寇生姜洗发水”。而李佳琦专属店在宣传中表示,“李佳琦专属店是由佳琦本人为粉丝打造的首个天猫旗舰店”。
李佳琦专属店截图工商信息显示,上海妆佳电子商务有限公司成立于2019年3月14日,注册资本100万,公司法定代表人为戚振波,公司大股东为美腕(上海)网络科技有限公司,持股比例为51%,李佳琦持股49%。另外,美腕(上海)网络科技有限公司正是李佳琦的经纪公司。
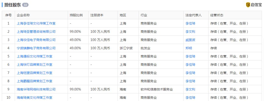
启信宝数据显示,除了是上海妆佳电子商务有限公司的股东外,李佳琦还在另外9家公司持股,在其中6家担任法定代表人。

李佳琦曾表示:
带货主播应该对消费者负责
对团队严格规范
值得注意的是,此前中消协发布《“双11”消费维权舆情分析报告》,其中列举了李佳琦直播间“买完不让换”等案例。对此,李佳琦直播官方微博发布声明称,一消费者购入某款运动鞋后表示货品有质量问题,经过品牌方与客户初步沟通,该款运动鞋已经售罄而无法换货,可以支持退款。11月8日品牌店铺已经完成了向该客户退款,11月12日品牌店铺电话联系顾客告知已完成退款并愿意提供一份店铺优惠券。
此外,声明表示,顾客在联系直播间客服反映售后问题后,李佳琦直播间方面立即联系品牌方积极协调,并在48小时内给予了回复。同时,李佳琦直播间方面表示,如果对目前售后解决方案仍有意见,将全力负责到底。

李佳琦,视频截图
中消协指出,直播带货虽然火爆,但相当一部分只顾着聚流量、扩销量的商家其实并没有相应的售后服务体系。同时,商家、主播之间责任界定不清晰,遇到售后问题时互相“踢皮球”,进而引发消费者围观吐槽。
每经小编注意到,除了李佳琦外,近一段时间直播带货领域频频翻车。
辛巴所售燕窝被质疑为糖水,最终辛巴表示退款赔钱。
杨坤“32场直播带货”被指水分很大,有商家直播带货120万实际成交4万。
汪涵直播带货被指注水,有商家当天成交1323台,退款1012台。
脱口秀演员李雪琴带货直播被指311万观众中,只有不到11万真实存在。
针对直播带货中的乱象,11月23日,国家广播电视总局发布关于加强网络秀场直播和电商直播管理的通知,这一消息对直播电商,乃至网络直播领域带来了重大影响。
通知提出:
要对头部直播间、头部主播及账号、高流量或高成交的直播带货活动进行重点管理,加强合规性检查。
要探索建立科学分类分级的实时动态管理机制,设置奖惩退禁办法,提高甄别和打击数据造假的能力,为维护诚信市场环境发挥积极作用。
11月27日,李佳琦在接受中新社专访时表示,他认为带货主播应该对消费者负责,对团队严格规范。
编辑"何小桃杜恒峰
版权及免责声明:凡本网所属版权作品,转载时须获得授权并注明来源“融道中国”,违者本网将保留追究其相关法律责任的权力。凡转载文章,不代表本网观点和立场。
延伸阅读
版权所有:融道中国