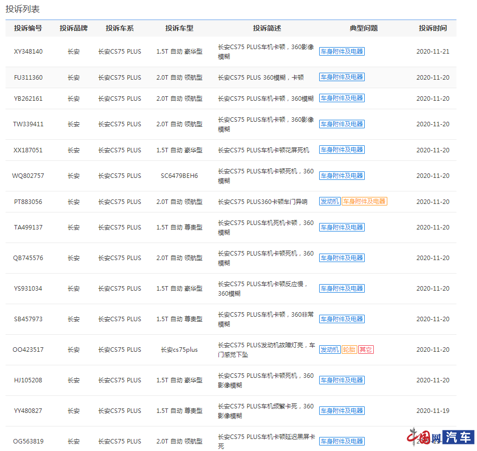
中国网汽车11月24日讯 对于汽车来说,除了较为重要的三大件外,经常被忽略的车机系统实则也是至关重要的,如果经常发生卡顿死机等情况,也会给驾驶员造成很大的困扰,甚至有引发事故的可能。近日,中国网汽车质量投诉平台就接到不少关于“长安CS75 PLUS车机卡顿死机,360影像模糊”等问题的投诉。
我网记者随即与一位来自重庆的长安CS75 PLUS投诉车主取得了联系,根据车主薛先生表示,自己的车(2020款1.5T自动豪华型)是于今年6月从重庆骏福长安汽车销售有限公司购入,刚买第二天,他就发现该车车机卡顿非常严重,在行驶途中,其导航显示屏幕还经常出现死机的情况。此外,在车辆倒车时,其倒车影像与倒车雷达卡顿的现象也较为严重,屡次延迟3-5秒。薛先生气愤地表示,为此,还引发了该车后保险杠部位遭到碰撞的事故。

当记者询问车主是否找过4S店反馈该问题时,薛先生无奈地表示:“从6月份就开始找他们了,他们就说等厂家回复,结果一直拖拖拖,这都快拖到年底了……也不给我解决”。
与此同时,薛先生告诉记者,该车与其前期宣传的车机系统并不一致:“之前宣传明明说车辆配的是高清360影像,现在却仅仅是标清,还模糊成这样……”而4S店对此回复的仅仅是:“我们也没办法啊,等厂家回复吧!”薛先生激动地表示:“4S店认为这和他们没关系,这是厂家的问题!”
“这款车不只我一个人的出了问题,很多车主都反应了这个毛病啊!有的车主还拿这款车去相关机构验证过,倒车影像连‘标清’(的标准)都达不到,太模糊了!”


而事实正像薛先生所说,据记者统计,仅11月以来,我网汽车投诉平台就已接到“长安CS75 PLUS车机卡顿死机,360影像模糊”等相关投诉近30例之多,车主均反应该车“360全景影像非常模糊,使用时经常卡顿,影响正常使用”、“对行车安全有隐患”……并认为长安汽车存在“厂家虚假宣传”的情况,更有车主表示了对国产品牌汽车的失望之情:“投诉厂家不予正面回答问题,不正视自己问题所在,没有大企业的担当,同时伤了2020款cs75plus车主的心”、“支持国产就是当了国产的白老鼠,以后不可能买国产车了,更加不可能买国产长安了……”



同时,我网记者也从长安汽车官网查询到,CS75 PLUS车型中包括自动豪华型、自动尊贵型、自动领航型、自动旗舰型在行车影像辅助一栏中,均注明配备的是“360度高清全景影像系统”。

对此,我网记者第一时间与长安汽车厂家取得了联系,对方表示:“会对该情况进行核实”,而对于为何“宣传上表示配备的高清360全景影像摄像头,实际车辆却仅为标清”的询问,对方并未正面回复。
目前,包括薛先生在内的大量长安CS75 PLUS车主还在等待着长安汽车厂家的回复,希望厂家能够尽快给予解决,并给出合理解释。
版权及免责声明:凡本网所属版权作品,转载时须获得授权并注明来源“融道中国”,违者本网将保留追究其相关法律责任的权力。凡转载文章,不代表本网观点和立场。
延伸阅读
版权所有:融道中国