原标题:今日头条起诉今日油条!申请了16个商标后,该店员工回应:我卖的是“今日的油条”
红星新闻10月15日消息,一家位于河南郑州卖油条的网红店在全网火了。
这家网红店从名字到图标,再到店内装修,都与今日头条APP有相似之处。
根据天眼查APP显示,字节跳动以商标权权属、侵权纠纷为案由,将上述网红店背后的运营公司告到了广州知识产权法院。目前,该案件的裁决文书尚无法在中国裁判文书网搜索到。
10月15日,“今日油条”的员工告诉红星新闻记者,作为员工,他个人认为“今日油条”的意思就是“卖的是今日的油条”,没有其他意思。
网红店铺走红
模仿今日头条,还疑“碰瓷”格力王思聪西贝
从招牌到口号,再到菜单,网红店今日油条和今日头条APP有多处相似点。从装修风格来看,这家店主要使用了红白两色,招牌上的字体和图标都与今日头条相似。

其中,今日头条APP的口号是“你关心的,才是头条”;而今日油条的口号是“关心你的,才是好油条”。
根据大众点评上网友晒出的菜单,今日油条的菜单和今日头条APP的主页布局也有相似之处。

左图为今日头条APP主页,右图来自大众点评网友
除此以外,在该网红店铺内还能找到多处疑似模仿的痕迹。
比如,店内的标语“好油条,今日造”,疑似模仿格力的口号“好空调,格力造”;店内还有多处出现了疑似王思聪的卡通图像;另外,一根I型油条+红心+U型油条的宣传图,与西贝莜面村相似……

红星新闻记者注意到,在大众点评上已有消费者质疑过该店是否侵权,“作为网红店各方面都让人基本满意。但是,这个名字和logo真的不侵权吗?包括王思聪的那个卡通形象,都是被王思聪注册(应为‘认证’)过的。”另位网友回复称:“估计就等着告,越告越火。”
“今日油条”员工回应
意思是“卖的是今日的油条”
10月15日,红星新闻记者联系上“今日油条”的员工,对方称,他们目前在河南郑州有两家店,用的都是这种风格的装修。
“‘今日油条’,就是我卖的是‘今日的油条’,就是这个意思,我作为员工是这么理解的。”该员工认为,拆开来看,不管是“今日”还是“油条”,他个人认为没有任何侵权。
“反正人家(指字节跳动)是大企业,我们只是一个小的早餐店,我们只是想做一个好的油条,给大家提供一份比较健康的早餐吧,没有其他的心思。”该员工称最近都是正常营业,生意还行。
当红星新闻记者问及店内装修风格多处与今日头条APP相似的情况时,他表示,他们的装修风格就是干干净净、整整齐齐、红色和白色,“国家也没有说红色和白色被哪家企业注册了不能使用。”
对于店内疑似王思聪的卡通头像等,该员工称“是不是完全跟他一样?不太清楚。”
“我作为一个员工来说,卖个油条还能打上官司,我不知道中国这么多家卖油条的心里怎么想的?反正感觉疫情之后创个小业挺难的。”该员工向红星新闻记者说。
对于和字节跳动的诉讼情况,该员工均表示不太清楚。
10月15日,红星新闻记者致电该员工提供的其老板的座机电话,接电话的人表示他不是老板,对于记者提出的多个问题,他都称“无可奉告”。
网红店成立第二天就申请了商标
包括今日油条、饼多多、快手抓饼
根据天眼查显示,今日头条APP背后的字节跳动以商标权权属、侵权纠纷为案由,将河南今日油条餐饮管理有限公司、郑州市金水区今日油条早餐店、河南烧烤者食品有限公司三方告上了法庭。
案件审理流程为非诉行为保全审查。目前,该案件的裁决文书尚无法在中国裁判文书网搜索到。
天眼查APP显示,河南今日油条餐饮管理有限公司成立于5月13日,而郑州市金水区今日油条早餐店是成立于6月16日。
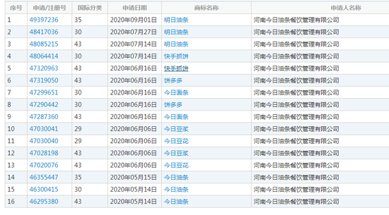
值得一提的是,红星新闻记者在中国商标网查询发现,前者在注册后的第二天就开始申请商标,从5月至今共申请了16个商标,商标包括“今日油条”“饼多多”以及“快手抓饼”等。

截图自中国商标网
对此,有网友质疑称该公司申请的“今日油条”“饼多多”“快手抓饼”是在“碰瓷”字节跳动、拼多多和快手等互联网企业。
目前,上述16个商标目前都处于“等待实质审查”阶段。
律师解读:应当认定为不正当竞争行为
10月15日,泰和泰律师事务所的律师黄春海表示,在他看来,这个案件涉及两方面法律问题,一是商标侵权争议,二是不正当竞争。
其中,在商标侵权方面,黄春海称,如果今日头条没有在餐饮服务上注册今日头条的商标,则要认定今日油条构成商标侵权,就需要认定今日头条满足驰名商标的认定标准,通过驰名商标跨类保护,来认定和制止今日油条侵权。
另外,黄春海表示,在不正当竞争方面,今日油条的恶意攀附还是比较明显的,他认为应当认定为不正当竞争行为。
版权及免责声明:凡本网所属版权作品,转载时须获得授权并注明来源“融道中国”,违者本网将保留追究其相关法律责任的权力。凡转载文章,不代表本网观点和立场。
延伸阅读
版权所有:融道中国