首页
新闻
财经
基金
股票
金融
理财
新闻
财经
基金
股票
金融
理财
这些少数族裔创始人如何让科技高管把钱放在嘴边
人工智能将是世界上有史以来最伟大的就业引擎
零工经济如何帮助促进多样性
你如何保护你的公司免受黑客攻击
为什么谷歌搜索自己不再只是为了好玩
为什么潮流正在转向能源部门
苹果WWDC主题演讲中的所有重要内容
云数据存储: 每个质量保证测试人员都应该知道的问题和威胁
使用此折扣VPN保护您的个人和业务数据
4人工智能趋势值得关注2019年
微软的巴厘岛项目试图让你控制你的数据
秒杀网红款,火爆朋友圈的匈牙利鹅绒被到底好在哪里!
物联网如何改变航运业
如何掌握链接构建2019年。如果这样做,将会带来巨大的好处。
回顾: 改变游戏规则的技术创新2018年
EBay是现代最有影响力的公司
这位连续的企业家厌倦了文书工作,他建立了一个聊天机器人来帮助其他人进行管理工作
区块链技术在东南亚的作用越来越大
让我们数字化: 如何实现转型,更好地为客户服务
2019的学习景观
SpaceX的 “starhopper” 测试车进行了一次由猛禽驱动的短途旅行
用这个49美元的电子学位捆绑包学习掌握JavaScript
谣言: 苹果AirPods 2,AirPower,新ipad 3月29日到货
苹果推出了具有黑暗模式的更快,更私密的iOS 13
Salesforce的创新生产力解决方案如何帮助团队更快地完成更多工作
如何掌握社交媒体营销2019年
错误的更新砖耐克 “自动系带” 智能鞋
Google赢得了FCC的批准,以继续开发基于雷达的手传感器
苹果推出新的iPod Touch
埃隆·马斯克的洛杉矶隧道将特斯拉变成了 “铁路引导火车”
市场能否提供小企业所需的综合金融科技工具?
如何破解亚洲竞争激烈的电子科技行业
Google Home和Amazon Echo可以存储您的语音记录。这是它们可以用来对付你的时候。
从星际飞船船长到电动自行车推销员: 与威廉·沙特纳的对话
聊天机器人是客户服务未来的五个原因
人工智能如何帮助您更好地管理时间
在加密货币时代,银行必须转型才能蓬勃发展的5种方式
机器学习如何创造一个更精英、更少偏见的就业市场
测试成功用户体验的一个指标
韩国已经在进行区块链爆炸
Jamf现在帮助小型企业无缝管理移动设备
使用此VPN浏览更智能,更安全
使用此VPN使您的浏览数据保持私有
您需要了解的10种用户体验设计趋势2019年
将AI整合到招聘中如何使面临劳动力危机的公司受益
如果你没有管理策略,你的数据就没用了
即使是 “非人类” AI也可以帮助您与客户建立更有意义的关系的3种方式
物联网的危险 (信息图)
人工智能主导的营销如何以更智能的方式吸引当今的受众
SpaceX正在佛罗里达州建造另一艘星际飞船
您的位置:
首页
>
基金
>
券商股节后开门红 为何游资和北上资金都在关注方正证券?
券商股节后开门红,为何游资和北上资金都在关注这只标的?证券市场红周刊券商股在2021年元旦前后的几个交易...
2021-01-06
华春莹:为确保世卫专家组来华顺利工作 双方还正在进行协商
原标题:华春莹:为确保世卫专家组来华顺利工作,双方还正在进行协商【环球时报-环球网报道 记者张卉】据报...
2021-01-06
百瑞赢:市场洗盘意愿强烈 赚钱效应走弱
文章来源:百瑞赢周三,三大指数集体小幅红盘。创业板盘中收十字星站上3100点关口。上证指数高开下挫,午后...
2021-01-06
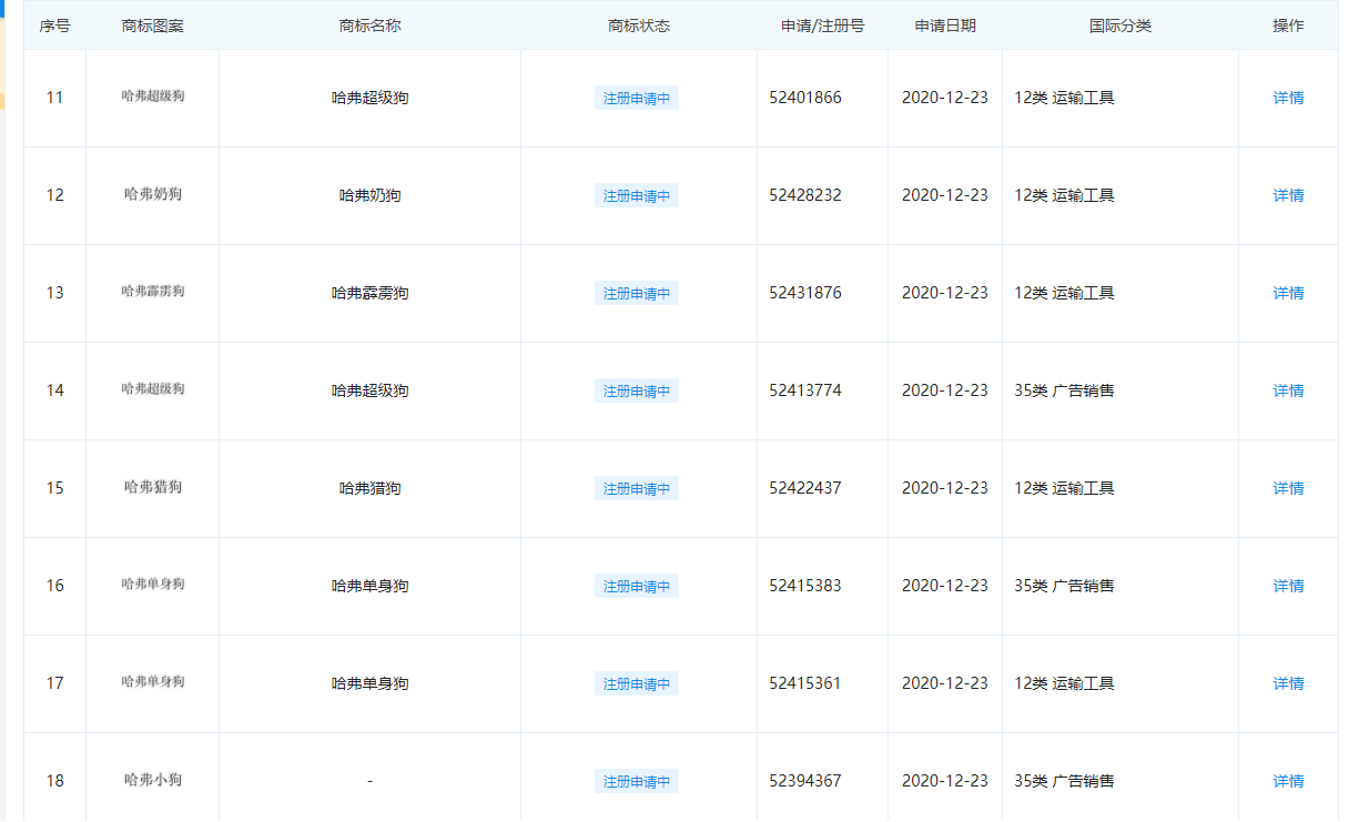
长城汽车注册新商标含“单身狗”“奶狗”等称谓引争议 专家表态
原标题:长城汽车注册新商标含“单身狗”“奶狗”等称谓引争议 专家这样表态来源:央广网央广网北京1月6日...
2021-01-06
广电总局:严查购物短片广告和医药广告
原标题:广电总局:严查购物短片广告和医药广告1月5日,广电总局发文称,监测发现部分广播电视播出机构违规...
2021-01-06
湖北省孝感市委原书记潘启胜被"双开"
原标题:湖北省孝感市委原书记潘启胜被“双开”中央纪委国家监委网站讯 据湖北省纪委监委消息:经湖北省纪...
2021-01-06
2020半导体市场先抑后扬 5家企业位列科创板市值TOP10
2020半导体市场先抑后扬,5家企业位列科创板市值TOP10尽管受到疫情冲击,半导体行业逆势增长。2020年,半导...
2021-01-06
巨丰投顾:3000个股下跌股市仍然红盘 行情有多火热?
来源:巨丰投顾观点:去年四季度以来,市场风险偏好回升,在经济基本面的加速复苏以及流动性合理充裕之下,...
2021-01-06
“牛市女皇”出圈!Cathie Wood如何在华尔街脱颖而出?
原标题:“牛市女皇”出圈!Cathie Wood如何在华尔街脱颖而出?来源:阚宁馨、祁月这段时间,各大国内财经...
2021-01-06
1441亿资金争夺20股:主力资金重点出击8股(名单)
1月6日消息,三大指数高开,创指一度涨超1%,此后三大指数全线翻绿,创业板指跌超1%。盘面上,军工板块逆市...
2021-01-06
冯易金:黄金还会跌吗 现货黄金纸白银最新操作建议指导
外汇黄金-纸黄金行情走势分析:1月6日,周二(1月5日)亚洲时段,黄金小幅下跌,目前交投于1938附近,周一(...
2021-01-06
油服去年业绩仍好于低谷期 分析师:反弹机会可期(股)
1月6日,新浪财经2021投资策略会火热进行ing!展望2021年,川财证券分析师白俊天在策略会上表示,2021年需关...
2021-01-06
张晶霖:小非农来袭黄金还会涨吗 伦敦金行情走势分析
1月6日,国际现货黄金周二(1月5日)高位窄幅震荡,最高触及1952 22美元 盎司,但日内整体涨幅受限,多空...
2021-01-06
收评:沪指震荡涨0.63% 军工板块再度走强
热点栏目自选股数据中心行情中心资金流向模拟交易客户端证券时报网1月6日,两市股指高开高走,深成指、创业...
2021-01-06
收评:三大指数下探回升沪指涨0.6% 电力板块盘尾拉升
热点栏目自选股数据中心行情中心资金流向模拟交易客户端1月6日消息,三大指数高开,创指一度涨超1%,此后三...
2021-01-06
响应5G手机需求:MLCC龙头加班加点忙订单 苹果巨量订单正在路上
炒股就看金麒麟分析师研报,权威,专业,及时,全面,助您挖掘潜力主题机会!原标题:响应5G手机需求 MLCC...
2021-01-06
管清友:2021经济复苏进入到后半程 资产市场可能表现仍然比较好
2021年1月6日,由场景实验室、《哈佛商业评论》中文版联合主办的‘甦·新商业盛典2021’将在南京举行,经济...
2021-01-06
紧急停运发往河北快件? 圆通内部人士:将按行业主管部门要求执行
原标题:电报|紧急停运发往河北快件?圆通内部人士:将按照行业主管部门的要求执行来源:科创板日报《科创板...
2021-01-06
今年的投资风口都在这 五大部委负责人透露施策要点
原标题:今年的投资风口都在这!五大部委负责人透露施策要点今年投资的风口会在哪?新年伊始,国家发展改革...
2021-01-06
陈峻齐:黄金一路做多有惊喜今日1934上继续多
1月6日,黄金昨日我们强调黄金1929上方逢低做多看涨思路,同时说过1945一线压制位置,价格突破会有延续,昨...
2021-01-06
吴卓越:黄金1953-55继续空 坐等闪崩原油49多
1月6日,黄金昨日再次探底回升,盘中最低回踩1934一线启稳整理,以时间换空间的整理代替回调修正,美元继续...
2021-01-06
南极电商历史雷终爆 一年前扫雷十大公募基金
热点栏目自选股数据中心行情中心资金流向模拟交易客户端来源:素镜科技原标题:南极电商历史雷终爆,一年前...
2021-01-06
中集集团午后涨超10% 招商证券称各业务景气继续回升
热点栏目自选股数据中心行情中心资金流向模拟交易客户端招商证券发布研报称,中集集团(02039)从下半年开始...
2021-01-06
福州十四五规划建议:积极争取国家对我市行政区划调整的支持
原标题:福州十四五规划建议:积极争取国家对我市行政区划调整的支持“十四五”时期,福建省会城市福州将“...
2021-01-06
云南通报7起煤炭资源领域腐败问题案例:收受财物、侵吞国有资产等
收受他人财物、侵吞国有资产等...云南通报7起煤炭资源领域腐败问题典型案例云南省纪委监委1月6日消息,省...
2021-01-06
37494条
上一页
1
..
556
557
558
559
560
561
562
563
564
..
1500
下一页
最新文章
从星际飞船船长到电动自行车推销员: 与威廉·沙特纳的对话
韩国已经在进行区块链爆炸
如果你没有管理策略,你的数据就没用了
调查显示,这些公司将产生下一波企业家浪潮
尽管科技股下跌,Netflix仍在上涨
您是否已尽一切努力为这个销售旺季准备在线公司?
企业家可以通过三种方式使用AI来促进业务发展
2019将为芯片制造行业准备什么?
数字双胞胎的量子飞跃
精彩推荐
苹果WWDC主题演讲中的所有重要内容
微软的巴厘岛项目试图让你控制你的数据
区块链技术在东南亚的作用越来越大
如何掌握社交媒体营销2019年
如何破解亚洲竞争激烈的电子科技行业
机器学习如何创造一个更精英、更少偏见的就业市场
图文观赏
秒杀网红款,火爆朋友圈的匈牙利鹅绒被到底好在哪里!
错误的更新砖耐克 “自动系带” 智能鞋
Google Home和Amazon Echo可以存储您的语音记录。这是它们可以用来对付你的时候。
测试成功用户体验的一个指标
将AI整合到招聘中如何使面临劳动力危机的公司受益
为什么聊天机器人很好,不,他们不会夺走你的工作
绿色云计算: 每个质量保证都应该知道的技术
人工智能如何改变中小企业的商务旅行
这个机器人真空吸尘器在你工作的时候打扫你的房子
热门推荐
零工经济如何帮助促进多样性
为什么潮流正在转向能源部门
4人工智能趋势值得关注2019年
这位连续的企业家厌倦了文书工作,他建立了一个聊天机器人来帮助其他人进行管理工作
Salesforce的创新生产力解决方案如何帮助团队更快地完成更多工作
市场能否提供小企业所需的综合金融科技工具?
友情链接:
百度地图
融道中国
自助投稿
山西商业网
大军事网
中国白银理财网
科技金融网
贵州热线
万隆金银理财网
百度地图
大事中国
中国啤酒网
巴中房产网
深圳都市网
南方站长网
版权所有:融道网