2021年春节是中国进入常态化疫情防控后的第一个春节,与往年不同之处在于今年有许多人响应了政府疫情防控的号召,减少流动,选择就地过年,也因此产生了新的网络流行语——“原年人”。
“原年人”,顾名思义,原地过年的人,指的是那些未返回家乡、就地过年的人。
中国商标网显示,截至2月18日,已有两家公司申请注册“原年人”商标,其中,浦江圈点贸易有限公司于1月29日申请,西平县文峰种植专业合作社于2月1日申请。两家企业的商品包括广告销售、服装鞋帽、方便食品,商标状态均为“正等待受理”。

中国商标网显示,已有两家公司申请注册“原年人”商标。
早前2月10日,在国务院联防联控机制新闻发布会上,商务部消费促进司司长朱小良表示,初步摸排,今年全国36个大中城市“就地过年”人数比往年增加了4800万。
伴随着留原地过年人数的增多,“原年人”也成为了网络流行语。事实上,此前已有多个网络流行语被注册成商标的例子。根据2020年百度沸点年度流行语榜单,集美、一起爬山吗、u1s1、九漏鱼、爷青回、上海名媛、打工人、突击式尽孝、七夕蛤蟆、深藏blue成为年度网民搜索热度最高的十大流行语。

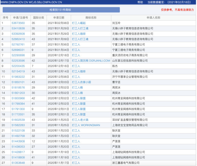
中国商标网显示,包含“打工人”的商标名称有151件。
而在中国商标网,类似于“打工人”等热词已被申请注册为商标。澎湃新闻搜索发现,截至2月18日,包含“打工人”的申请或已注册商标有151件,商标名称包括“打工人打工魂”“打工人奶茶”“打工人崛起”“打工人的星期八”等。
版权及免责声明:凡本网所属版权作品,转载时须获得授权并注明来源“融道中国”,违者本网将保留追究其相关法律责任的权力。凡转载文章,不代表本网观点和立场。
延伸阅读
版权所有:融道中国