原标题:一把套现超70亿!3600亿果链龙头 突遭实控人巨额抛售!发生了什么?
来源:中国基金报

市值跌破4000亿元后,“果链”巨头实控人大举套现,是何信号?
2月3日晚间,市值超3600亿元的大牛股立讯精密,披露公司实控人及一致行动人于2月3日大举减持1.4亿股,减持股份占比2%;套现金额近72亿元。
开年以来立讯精密二级市场表现不佳,年内跌逾8%。立讯精密于2010年9月在中小板上市,当年10月触及股价最底部,截至去年10月创出盘中最高价涨幅高达66倍。然而近期苹果产业链板块持续回调,立讯精密连续下跌,近20天市值蒸发800多亿。
立讯精密实控人减持2%
用于偿还银行借款等
2月3日晚间,立讯精密发布公告称,控股股东立讯有限及其一致行动人、实际控制人之一 、副董事长王来胜于当天通过深交所大宗交易系统减持无限售条件流通股约1.40亿股,占公司总股本的2%。

公司公告显示,自2020年9月3日《简式权益变动报告书》披露至今,公司股票期权激励计划激励对象通过自主行权系统累计行权2579.66万股,公司总股本增加2579.67万股,立讯有限及王来胜先生原持股比例由41.12%被动稀释至40.97%,稀释比例为0.15%。
立讯精密曾发布公告称,2月1日接到立讯有限的函告,其解除约3.84亿股在浦发银行深圳分行质押的股份。
截至2021年2月1日,立讯有限仍有约3.20亿股处于质押,占其所持股比例的11.13%,占总股本的4.55%。

立讯精密称,此次减持资金将主要用于其他产业投资及部分偿还立讯有限银行借款的资金需求。立讯有限承诺:本次减持完成后的未来连续十二个月内将不通过证券交易系统出售公司股票。
减持信息公布后,立讯精密股吧里的投资者瞬间“炸锅”。有人悲观表示,“跌停板伺候”。【点击进入立讯精密股吧】

但也有比较乐观的人认为“反向思考 2%减持盘面缓慢下跌4个点,说明有人接盘。资金是聪明的,如果减持真的是大利空早就锁死跌停板一个也跑不了。”

8笔大宗交易分散出货
1天套现逾70亿元
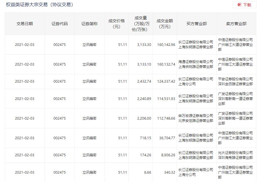
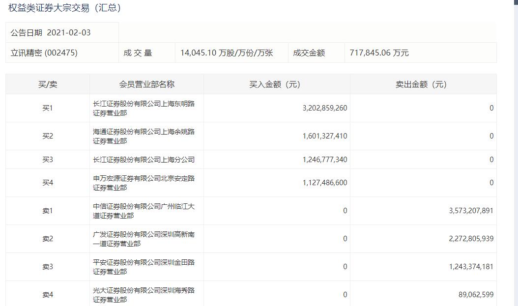
从深交所当天的大宗交易减持情况来看,2月3日立讯精密成交8笔大宗交易,合计成交1.4亿股,合计成交金额为71.78亿元。
根据公开信息,基本可以判断这是立讯精密实控人进行的交易。在这个大宗交易中,并未出现机构席位大举接货。

具体来看,大宗交易买卖双方均为券商营业部。中信证券广州临江大道卖出35.7亿元,广发证券深圳高新南一道、平安证券股份有限公司深圳金田路等三个位于深圳的营业部合计卖出36亿元。对比公告可知,上述营业部正是立讯有限及王来胜的减持通道。
买方方面,长江证券上海东明路等三个位于上海的营业部合计买入60.5亿元,申万宏源北京安定路买入11.3亿。
大宗交易的减持价格为51.11元,较立讯精密最新股价折价不到1%,立讯精密2月3日跌逾4%,收盘价为51.54元,市值为3619亿元。

截至今年1月29日,立讯精密股东户数为38.78万户。

20天股价下跌近20%
逾800亿市值蒸发
公开资料显示,立讯精密成立于2004年5月24日,做连接器起家,于2010年9月15日登陆A股。目前,消费性电子业务收入占公司营收近八成。2017年,立讯精密进入AirPods系列产品的供应链体系后,其营收迅速增长,市值一度超过4000亿元。
然而近期立讯精密股价持续调整,半个多月时间市值已跌去800亿元。
年初以来,立讯精密股价一度上扬,并于1月14日盘中创出63.26元的阶段性的阶段性高点,此后便进入下行通道。
据商务部网站显示,2021年1月21日,美国际贸易委员会(ITC)决定对特定电连接器和保持架组件及其产品发起337调查,立迅精密工业股份有限公司、东莞立迅精密工业有限公司涉案。

据了解,这则调查始于2020年12月18日,当时美国安费诺公司向美国际贸易委员会提出的申请,指控立讯精密及子公司东莞立讯精密等5家企业对美出口、在美进口或在美销售特定电连接器与壳及其组件和下游产品侵犯其专利权,请求美国际贸易委员会发布有限排除令和禁止令。
就在立讯精密被启动377调查的当天,另一只苹果产业链明星股欧菲光也传出利空消息,即疑似遭遇苹果砍单,或将出售年营收超51亿的苹果产业链工厂。
一系列事件发生后,市场资金开始逃离苹果产业链。1月22日,多只苹果概念股大跌,其中蓝思科技盘中跌幅超13%,信维通信大跌近7%,欧菲光更是2个交易日跌去了14.7%。
1月24日,立讯精密发布公告称,“公司重申,本次337调查对公司目前的生产、经营不会造成实质性影响。”立讯精密还表示,公司已成立了专门的工作组,并聘请美国337调查及专利诉讼律师团队积极应对本次337调查。
但从二级市场表现看,立讯精密的回应未能完全消除市场担忧。1月25日,A市场苹果供应链公司股价再次出现大幅震荡,立讯精密盘中暴跌9%。
值得注意的是,1月26日,工信部新闻发言人、运行监测协调局局长黄利斌在国新办发布会上已对此事作出了表态:“我们坚决保护知识产权,同时也反对滥用权力,打压正常商业竞争的霸凌行为。针对上述337调查申请,相关企业已发布公告,并开展积极的应对。下一步,工信部将会同有关部门指导相关企业加强应对,维护好企业的合法权益。”
截至2月3日收盘,立讯精密股价较20天前的高点已经下跌近19%,市值随之蒸发823亿元。

四季度公募基金减仓210亿
立讯精密股价疲软背后,还可能与公募基金减仓有关。
去年四季度,公募基金持仓市值最大的10只股票中,立讯精密再次上榜。然而与三季度相比,立讯精密是四季度公募基金持仓市值减少最多的公司,减仓市值高达142亿元。而在去年二季度,立讯精密曾是公募基金持仓市值第二大的个股,仅次于贵州茅台。
事实上,去年下半年以来,公募基金便大幅减仓立讯精密,从去年半年报1683家公募持股12.3亿股,到去年末减仓至782家公募基金持股8.47亿股,减仓幅度高达31%。

有分析人士指出,公募基金减仓的原因可能是对其业绩增长确定性预期减弱有关。因为立讯精密的主要业务为苹果AirPods系列耳机的供应,在前几年,AirPods高速发展,订单一直增加,但这个产品对公司业绩贡献正在减弱。
市场预测,在今年,A股苹果供应链最重要的应该是iPhone与Apple Watch,AirPods系列耳机的出货量增速将在2021年放缓,对苹果业绩的贡献也会减弱。
去年7月份,立讯精密发布公告称,立讯精密及其控股股东立讯有限公司将出资33亿元人民币全资收购纬创资通两家全资子公司100%的股权。随着立讯精密逐步切入iPhone组装,有观点认为立讯精密短期内难以对富士康造成影响,一年内不会对业绩收入产生影响。
机构投资者看重业绩的确定性,由于立讯精密切入iPhone组装这块业务尚未释放业绩积极信号,因此部分公募基金将资金调整至业绩确定性更高的板块,如白酒、新能源等。
耗资60亿元控股日铠电脑
2月3日晚间,立讯精密还披露了其最近一笔对外投资的进展。
立讯精密称,交易各项交割先决条件均满足,标的公司已于2021年2月3日完成交割,并完成工商变更手续,取得了盐城市市场监督管理局换发的营业执照。

1月28日晚间,立讯精密披露,上市主体与旗下全资子公司与铠胜控股、日丽国际、常熟立铠、日铠电脑签署《日铠电脑配件有限公司增资协议》。
立讯精密及其子公司分别以自有资金约57.60亿元和2.40亿元与常熟立铠共同对日铠电脑进行投资。投资完成后,立讯精密累计持有日铠电脑50.013%股权,形成控股。
券商中金国际研报称,立讯精密2020年联合大股东并购纬创子公司进入iPhone 组装环节,此次增资日铠将补强关键的金属结构件和Top Module 能力,在iPhone 组装的系统级能力迈出关键一步。
随着立讯系统组装能力的完善,未来在苹果iPhone 等存量组装及AIoT、智能汽车等新品配合都有望获得更多机会。依托系统组装能力,结构件/零组件份额及获利有望提升。
(文章来源:中国基金报)
文章来源:中国基金报
原标题:一把套现超70亿!3600亿果链龙头,突遭实控人巨额抛售!发生了什么?
版权及免责声明:凡本网所属版权作品,转载时须获得授权并注明来源“融道中国”,违者本网将保留追究其相关法律责任的权力。凡转载文章,不代表本网观点和立场。
延伸阅读
版权所有:融道中国