原标题:联易融金融科技公司冲击港股:腾讯为第一大机构股东 连续三年亏损
来源:科技金融在线
1月8日,港交所披露信息,联易融科技集团向港交所主板递交上市申请,高盛和中金公司为其联席保荐人。据了解,腾讯曾参与其多轮融资,现在是其第一大机构股东。
1月8日,港交所披露信息,联易融科技集团向港交所主板递交上市申请,高盛和中金公司为其联席保荐人。

公开资料显示,联易融成立于2016年2月,注册地为深圳,注册资本为2.35亿元,法定代表人为创始人、董事长兼CEO宋群。
根据招股书披露,联易融科技是一家供应链金融科技解决方案提供商,主要聚焦于ABCD(AI、区块链、云计算、大数据)等先进技术在供应链生态的应用,以线上化、场景化、数据化的方式提供供应链金融科技解决方案。
2020年,联易融获得了新加坡金融管理局(MAS)颁发的数字银行牌照,据了解此牌照是由联易融与绿地控股旗下绿地金融集团、北京协力创成股权投资基金等组成的财团申请。
腾讯参与融资 现为公司第一大机构股东
公开数据显示,联易融此前经过多次融资,在2016年8月、2017年8月、2018年10月,联易融分别完成一轮融资,融资额分别为1亿元、2亿元、2.2亿美元,而腾讯均有参与。此前,有知情人士表示,联易融最初就是为运用腾讯理财通备付金而成立,“断直连”后不了了之。
2019年12月,联易融C1轮融资引入战略投资方渣打银行,成为首家获得国际银行投资的中国供应链金融科技服务平台。
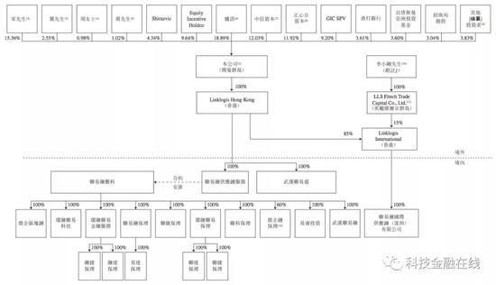
从公司股权结构来看,联易融股东包括腾讯、中信资本、正心谷、新加坡政府投资公司(GIC)、渣打银行、贝塔斯曼(BAI)、招商局创投、创维、泛海投资、普洛斯、微光创投等国内外优秀大型企业和基金。
招股书披露,在IPO前,宋群直接持有联易融15.36%股份,冀坤持股2.55%,周家琼持股0.98%,联易融董事蒋希勇持股1.02%。同时,宋群等代表的10名员工组成的股权平台Shirazvic持股4.34%,股权激励平台Equity Incentive Holdco持股9.64%。
在外部股东中,腾讯、中信资本、正心谷、GIC(新加坡政府投资公司)、渣打银行、贝塔斯曼亚洲投资基金、招商局创投分别持有联易融18.89%、12.03%、11.92%、9.20%、3.61%、3.60%、3.04%的股份。其中,腾讯为第一大机构股东。

除此之外,联易融高管中有腾讯背景,其中联易融创始人、董事长兼CEO宋群一度在腾讯担任金融战略顾问。而腾讯公司副总裁、腾讯金融科技业务负责人林海峰则是联易融的非执行董事。值得一提的是,此前,腾讯的竞争对手蚂蚁、京东、百度以及平安都已经拆分金融科技业务准备或已经上市。而腾讯方面表态暂时没有拆分金融科技公司上市的计划。
连续三年亏损 毛利率达五成
联易融主要收入模式为基于交易量收取科技解决方案的服务费用。根据灼识咨询数据显示,2020年前9个月,联易融处理的供应链金融交易金额达1223亿元,在中国供应链金融科技解决方案提供商中排名第一,市场份额为20.5%。
从营收来看,2018年、2019年与2020年前三季度,联易融的营收分别为3.83亿元、7.00亿元、8.08亿元。其中,2019年的营收同比2018年增长82.77%,2020年前三季度同比2019年同期的5.31亿元增加52.17%。
营收不断增长的同时,联易融却连续三年出现亏损,2018年、2019年、2020年前三季度分别亏损14.10亿元、10.82亿元、4.32亿元,合计亏损达到29.24亿元。

对于巨额亏损的原因,联易融解释称,主要是由于其业务增长和业务前景的改善带动了可赎回可转换优先股及可转换贷款的公允价值增加。联易融称其日后可能继续产生亏损,且未必能实现盈利或随后维持盈利能力。
毛利率方面,联易融有着很高的毛利率,2018年、2019年与2020年前三季度,联易融的毛利分别为1.94亿元、3.63亿元、4.74亿元,毛利率分别为50.6%、51.9%、58.7%。其中,供应链金融科技解决方案的毛利率分别为50.0%、47.0%、56.2%;新兴解决方案的毛利率分别为63.2%、81.8%、81.1%。
助贷业务发展快速 研发费用占比不断下降
联易融的新兴解决方案是指跨境云及中小企业信用科技解决方案。其中,中小企业信用科技解决方案即为“助贷”。数据显示,2018年、2019年与2020年前三季度联易融帮助中小企业促成的融资规模分别为9.08亿元、56.32亿元、19.05亿元。据了解,联易融在经营助贷业务的过程中,承诺在中小企业违约或逾期付款的情况下从资金方处受让债权,即“保障”融资交易。甚至在部分融资中,联易融还使用自有资金“放贷”,以赚取利息等。
对此,联易融表示,在自有资金及保障融资交易中融资的许多公司为中小企业,相比大公司更有可能违约或拖欠其借款。
助贷业务快速发展的同时,身为科技企业的联易融,研发费用占比却逐年下降,2018年、2019年,2020年前三季度联易融的研发费用分别为4129.3万元、5987.6万元,7917.4万元,占总营收的比重分别为10.78%、8.55%,9.80%。作为对比,联易融2019同期销售及营销费用为4558.9万元。作为对比,联易融2019同期研发费用为4611.9万元,占比8.69%。
此外,联易融营销费用不断增加。2018年、2019年与2020年前三季度,其销售及营销费用为4279.0万元、6814.2万元、6067.2万元。作为对比,联易融2019同期销售及营销费用为4558.9万元。
版权及免责声明:凡本网所属版权作品,转载时须获得授权并注明来源“融道中国”,违者本网将保留追究其相关法律责任的权力。凡转载文章,不代表本网观点和立场。
延伸阅读
版权所有:融道中国