云南白药股价再创历史新高,四机构累计买入超3亿元丨热公司
云南白药涨停,截至收盘,报137.46元,再创历史新高,全天成交26.8亿元。至此,该股已连续两日涨停。
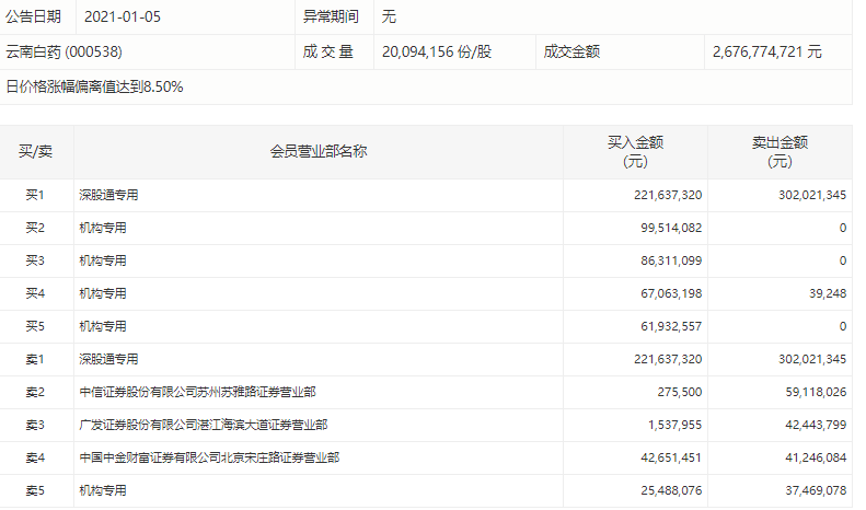
1月5日,云南白药涨停,截至收盘,报137.46元,再创历史新高,全天成交26.8亿元。至此,该股已连续两日涨停,去年12月以来累计涨幅超44%。

交易所公布的盘后数据显示,深股通今日买入2.22亿元并卖出3.02亿元,四个机构席位合计买入3.15亿元。

晚间,云南白药发布公告称,1月5日接到员工持股计划管理委员会的通知,获悉公司员工持股计划减持完毕,近一月通过集中竞价合计减持330.1万股,占公司总股本比例0.26%。
版权及免责声明:凡本网所属版权作品,转载时须获得授权并注明来源“融道中国”,违者本网将保留追究其相关法律责任的权力。凡转载文章,不代表本网观点和立场。
延伸阅读
版权所有:融道中国