每日财报作者|郜融莲
近期,蚂蚁集团的暂缓上市,以及网络小贷再出新规,这两件事情引起了资本市场极大的关注,这似乎也令其他金融科技公司的上市之路更加崎岖。
而将要迈向科创板的银联商务并未受到新规影响,其在小贷新规出台之前,便将公司部分消费贷业务关闭。
值得一提的是,根据近日上交所披露的信息显示,在中金公司递交的银联商务《上市辅导工作进展报告》中显示,银联商务管理层大换血,光大系背景的股东全部后撤。
砍掉消费贷,“断臂”求上市
今年8月27日,银联商务与中金公司签署科创板上市辅导协议,并于当月正式启动辅导工作。10月,银联商务便下架或暂停了联合贷及自营消费贷产品,这一业务的调整或许为公司上市铺路。
被停掉的业务中,就包括银联商务通过微信公众号“全民花GO”。“全民花GO”是银联商务于2018年4月注册的微信公众号,主要作为公司消金产品的主要承载平台,该账号主体为银联商务全资控股公司中金同盛小贷。
而现在登陆全民花GO平台后,未申请的新用户显示“推广方不存在!”。而公众号内人气贷款下暂无产品,贷款推荐中存在的贷款有兴业家庭消费贷、新网银行-好人贷、中金同盛-全民购和马上借款-全民购pro。
值得一提的是,银联商务贷款业务在逐步扩大。据公开资料显示,2019年,银联商务发放贷款和垫款从年初的4.36亿元大幅增长至年末的14.29亿元,增长两倍多。
银联商务能够砍掉这么大一块业务,可见上市决心之重。
据公开资料显示,截至目前,银联商务只获得了互联网小贷和融担牌照,严格意义上并没有一张高含金量的放贷牌照,在IPO冲刺阶段,可能会因此受到市场的争议。
此外,根据小贷新规显示,经营网络小额贷款业务的小额贷款公司的注册资本不低于人民币10亿元,且为一次性实缴货币资本。跨省级行政区域经营网络小额贷款业务的小额贷款公司的注册资本不低于人民币50亿元,且为一次性实缴货币资本。
而银联商务旗下的中金同盛注册资本仅有7亿元,显然不符合新规。
小贷新规还规定,经营网络小额贷款业务的小额贷款公司应当根据借款人收入水平、总体负债、资产状况等因素,合理确定贷款金额和期限,使借款人每期还款额不超过其还款能力。
对自然人的单户网络小额贷款余额原则上不得超过人民币30万元,不得超过其最近3年年均收入的三分之一,该两项金额中的较低者为贷款金额最高限额;对法人或其他组织及其关联方的单户网络小额贷款余额原则上不得超过人民币100万元。
而据公开媒体报道,中金同盛旗下的商e融这款针对银联商务收单商户的个人经营性贷款产品,其额度最高可达200万元。由此可见,尽管砍去了一部分消费贷业务后,银联商务要想上市,还需要进一步整顿,早日合法合规。
光大系背景退出,公司并无实控人
据公开资料显示,银联商务成立于2002年1月8日,是从事线下、互联网以及移动支付的支付机构,是首批获得《支付业务许可证》的机构,同批的还有支付宝、财付通、拉卡拉等。
公开数据显示,截至2020年5月末,银联商务已在全国除台湾外的所有省级行政区设立机构。2019年受理各类交易127.3亿笔、15万亿元,是国内规模最大的综合支付服务机构之一。
根据上海产权交易中心公告,银联商务0.3109%的股权于2020年8月17日完成交易,成交价格为7150万元,标的评估值为6176.03万元。据此推算,银联商务当前的市场估值在198亿元到230亿元之间。
值得一提的是,银联商务并没有实控人。
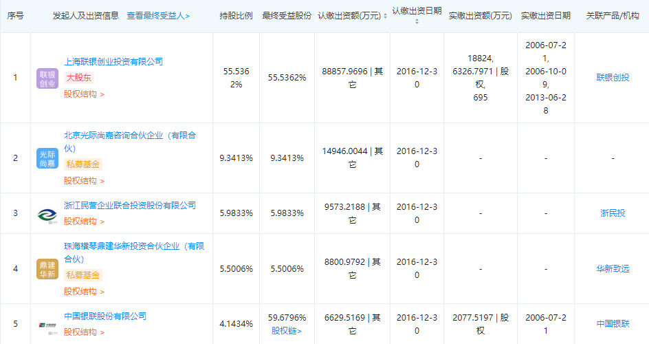
企查查信息显示,银联商务持股5%以上的股东分别为上海联银创业投资有限公司、北京光际尚嘉咨询合伙企业(有限合伙)、浙江民营企业联合投资股份有限公司、珠海横琴鼎建华新投资合伙企业(有限合伙)。


其中,银联创投为中国银联100%持股,加上中国银联还持有银联商务4.14%的股份,因此中国银联为银联商务最大的股东,实际持有公司59.68%的股份。
11月13日,中金公司递交的银联商务《上市辅导工作进展报告》中显示,银联商务管理层大换血。
根据报告,银联商务增补高同裕、王欧为非独立董事,聘任洪亮、李树华、凌鸿、马颖和张忠为独立董事,张文莉、PAN YING(潘颖)、 ZHOUQUAN(周全)和李威不再担任公司董事。
同时,银联商务增补吴俊峰为公司非职工代表监事,增补董威、黄灿灿、陆楠为职工代表监事,温永盛、范厚义、宿志龙不再担任职工监事;聘任孙战平担任公司副总裁,聘任陈琤担任公司董事会秘书。
目前,银联商务的高管包括董事长田林、总裁王炎方、副总裁高同裕、副总裁兼财务总监张靖文、副总裁孙战平、副总裁张野等。董事会、监事会成员包括非职工代表监事兼监事会主席吴俊峰、董事会秘书陈琤等人。
而退出的四名董事中,潘颖曾任光大控股首席投资官,李威曾任光大控股董事总经理,周全为IDG资本合伙人。而银联商务与光大控股也有着千丝万缕的联系。
公开资料显示,银联商务的母公司中国银联持有光大控股和IDG资本共同成立的光际资本产业基金9.34%的股权,为其第二大股东。
频频违规被处罚,曾收超3000万巨额罚单
据《每日财报》了解,银联商务曾多次收到监管罚单。今年7月,银联商务旗下深圳市银联金融网络有限公司(下称“银联金融”)因超出核准范围开展网络支付业务,被央行深圳市中心支行作出罚款3万元的行政处罚。
银联金融因存在超出核准范围开展银行卡收单业务、未按规定办理高级管理人员变更事项的违法行为,还于今年5月28日被央行深圳中心支行罚款6万元。这也是银联金融2个月内因“相同”的原因两次被罚。
此外,2016年9月,银联商务北京分公司被罚款3万元。2017年,银联商务河南分公司因未按规定建立有关制度办法或风险管理措施被央行责令限期改正并给予警告。同年9月,银联商务因违反支付业务规定被处罚1万元。
2017年5月,银联商务宁波分公司因违反非金融机构支付服务管理、银行卡收单业务管理、违反反洗钱规定等原因,被央行宁波市中心支行处罚款共计54万元,并对相关责任人处罚款共计4万元。
2018年12月,银联商务黑龙江分公司被央行哈尔滨中心支行罚款2万元,一同被罚的还有拉卡拉、圣亚云鼎支付有限公司,分别被罚款3万元、5万元。不过,央行未披露具体的违法行为类型。
此前,银联商务还曾收到超3000万元巨额罚单。据央行2016年7月披露,通联支付和银联商务存在严重违规现象,分别被罚款1110.1万元(没收303.4万元,合计1413万元)和2653.7万元(没收613.4万元,合计3267万元)。
对于央行发布的银行卡收单业务违规处罚决定,银联商务同年7月26日回应,坚决支持和执行央行维护银行卡收单市场秩序的相关文件精神。已成立专项整改小组,并部署全辖整改落实,并称“目前,绝大部分突出问题已整改完毕”。
光大系背景的退出是否也是银联商务在为IPO做准备中的一步?银联商务何时能够结束辅导期迈入科创板的门槛?进来蚂蚁集团暂停上市的事情对公司的影响又有多大?对此《每日财报》将持续关注。
版权及免责声明:凡本网所属版权作品,转载时须获得授权并注明来源“融道中国”,违者本网将保留追究其相关法律责任的权力。凡转载文章,不代表本网观点和立场。
延伸阅读
版权所有:融道中国