近日,两笔润信(汕头华侨试验区)互联网小额贷款有限公司50%股权项目,在上海联合产权交易所披露。转让方分别是华润网络控股(深圳)有限公司和华润建筑有限公司。

值得一提的是,11月2日,银保监会官网显示,中国银保监会会同中国人民银行等部门起草了《网络小额贷款业务管理暂行办法(征求意见稿)》,正向社会公开征求意见。
(延伸阅读:《21深度丨联合贷款上了“紧箍咒”,借呗们何去何从?》)
对此,一家网络小贷公司负责人告诉21世纪经济报道记者:“一方面,绝大部分网络小贷公司会退出或转让,但未必有人接手;另一方面,可能华润的网络小贷公司本身做得不好。”
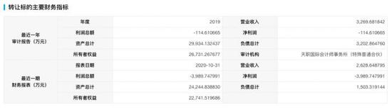
公开资料显示,2019年度,润信(汕头华侨试验区)互联网小额贷款有限公司营业收入约3270万元,净利润亏损约115万元;截至今年10月31日,营业收入约2629万元,净利润亏损约3990万元。
版权及免责声明:凡本网所属版权作品,转载时须获得授权并注明来源“融道中国”,违者本网将保留追究其相关法律责任的权力。凡转载文章,不代表本网观点和立场。
延伸阅读
版权所有:融道中国