原标题:成龙代言过的小霸王被申请破产!法定代表人已被限制高消费
中新经纬客户端11月9日电 天眼查APP数据显示,近日,小霸王文化发展有限公司(下称“小霸王文化”)被申请破产重整,申请人为殷小云,案号为(2020)粤20破申131号,公开日期为11月5日,经办法院为广东省中山市中级人民法院。
来源:天眼查“小霸王”原身是中山市小霸王公司,成立于1987年,由“60后”段永平创立。小霸王游戏机是众多80、90后的同年记忆,《魂斗罗》《超级玛丽》等都是当年小霸王上流行的游戏。1994年小霸王推出第二代电脑学习机,聘请武打巨星成龙担任代言人,“望子成龙小霸王”广告语在当时可谓是家喻户晓。
天眼查公开信息显示,小霸王文化是一家儿童早教机研发商,主要产品包括红白游戏机、儿童早教机、儿童平板电脑、VR教育影音一体机和欢乐客厅,成立于2015年7月,注册资本10000万人民币,公司类型为有限责任公司(外商投资企业与内资合资) 。
股权结构方面,小霸王文化由广东益华百货有限公司(下称“益华百货”)、中山市威信置业有限公司、陈士国共同持股。今年1月7日,益华百货董事长陈健仁退出小霸王文化董事长、董事,由冯宝伦接任执行董事、经理;当天,公司法定代表人也变更为冯宝伦。
今年以来,小霸王文化数次被列为被执行人。
近日,中国执行信息公开网信息显示,小霸王文化新增两条被执行人信息,案号分别为(2020)粤2071执17329号、(2020)粤2071执17328号,对应执行标的分别为115770、115603,执行法院均为中山市第一人民法院,立案日期均为11月6日。

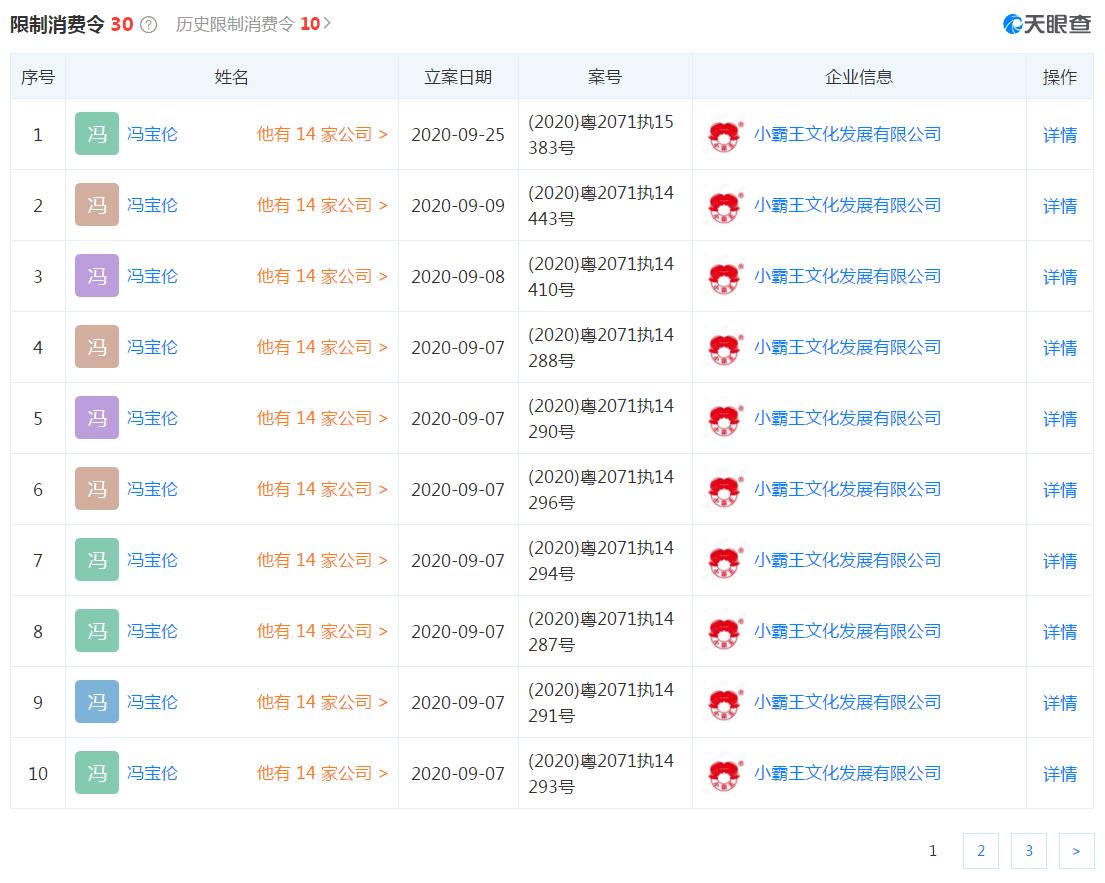
来源:中国执行信息公开网不仅如此,冯宝伦收到的限制消费令多达30条。
来源:天眼查9月25日,中山市第一人民法院限制消费令((2020)粤2071执15383号)显示,因未按执行通知书指定的期间履行生效法律文书确定的给付义务,该院依照《中华人民共和国民事诉讼法》第二百五十五条和《最高人民法院关于限制被执行人高消费及有关消费的若干规定》第一条、第三条的规定,对小霸王文化采取限制消费措施,限制小霸王文化及法定代表人冯宝伦不得实施高消费及非生活和工作必需的消费行为。(中新经纬APP)
版权及免责声明:凡本网所属版权作品,转载时须获得授权并注明来源“融道中国”,违者本网将保留追究其相关法律责任的权力。凡转载文章,不代表本网观点和立场。
延伸阅读
版权所有:融道中国