来源:理财老娘舅
原标题:千亿国企也“暴雷”!10亿债券违约,这些债基投资者又遭殃了...
最近,外甥女不禁感叹,今年的“暴雷”事件真是多。
近期,又有一家企业“暴雷”了!
10月24日,华晨集团发布公告:
“17华汽05”债券本应于10月21日16:00兑付的10亿本金、5300万利息以及相关手续费,如今发生实质违约不能按期兑付。
违约的企业债是2017年的10月发行的,超10亿的规模,3年的期限,票息为5.3%。
根据广法证券发展研究中心数据显示,华晨汽车集团到期及回售压力集中在2021年、2022年,债券到期及回售规模分别为65亿元、92亿元,涉及债券分别为4只、8只。
一提到华晨集团,相信你第一直觉能想到的就是华晨宝马了,实际上,除了宝马以外,还拥有华晨雷诺、华松、中华、金杯等几大品牌。
华晨集团是大名鼎鼎的国企,背后的股东非常牛,辽宁省国资委持股比例为80%,辽宁省社保基金会持股20%。

如此厉害的背景,为何还会出现债务违约呢?下面外甥女就给大家分析一下这次债务违约的深度原因。
暴雷的原因分析
通过浏览华晨集团的财报,外甥女发现,这次违约的主要原因还是在于华晨集团的负债率过高,公司内部是十分缺乏资金的。

从上图的中报不难看出,华晨集团的总负债高达了惊人的1328.44亿元,负债的比率竟高达68.72%。
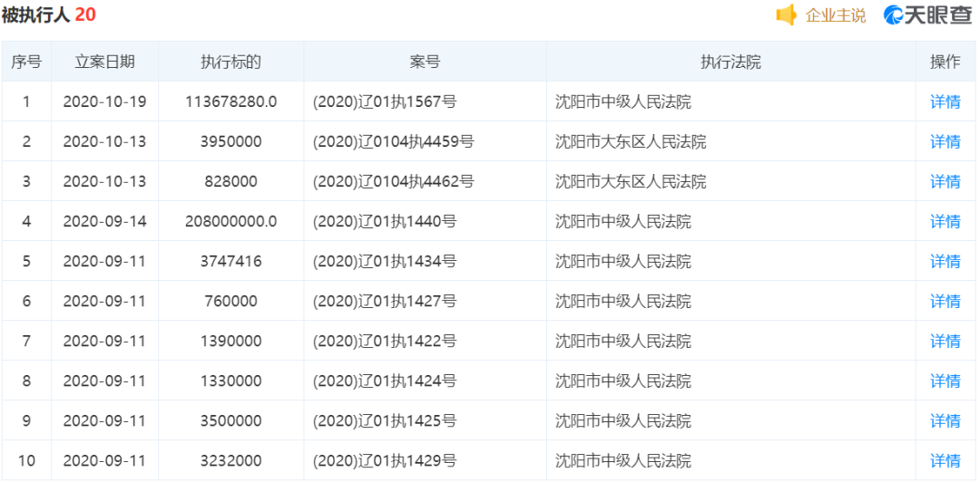
此外,华晨集团近期也遭遇了多起诉讼。
今年以来,华晨控股已有十余笔股权被冻结、法律纠纷不断,多次被列入被执行人。天眼查显示,仅9月一个月就被冻结就高达15次,当前被执行总金额已经超过5亿。


截至今年二季度末,华晨控股受限的资产高达201.9亿,主要受限资产货币资金就有167.58亿元。

所以,虽然账上看似有513.76亿的货币资金,但是,去除掉受限制的部分后,其余仅能覆盖短债。
那么,华晨集团是否还有希望还清这些欠款呢?从子公司主营业务来看,也不大乐观。
当前,华晨集团的合资品牌华晨宝马对其业绩的贡献值最大,但是,集团已经在2018年底宣布,将于2022年前将华晨宝马的25%股权以290亿出售给宝马集团,未来华晨集团将丧失最得力的品牌华晨宝马,业务发展前景更加岌岌可危。
今年上半年,华晨集团的净利润为40.45亿元,看起来并不少,不过,若剔除华晨宝马贡献43.83亿元净利润,华晨中国则将亏损3.4亿元。

从评级机构的角度来看,华晨也十分不乐观,评级机构东方金诚自2018年9月10日以来,不断调低华晨控股的信用评级,截至10月22日,东方金诚给出的评级是BBB级别的。

这一波,有基民也因此吃了一碗大面,最惨的债基在10月23日直接暴跌了6.12%,直线跳水。
仅仅用了一天,就抹去全部成立以来的涨幅,甚至还亏钱,说好的低波动完全不存在的,很多基民内心简直是受到了一万点的伤害。
那么,作为一个债券基金的投资者,如何尽量避免这种债基“踩雷”的情况呢?外甥女有以下四点方法。
防止债基“踩雷”,如何投资?
1.求稳首选利率债相关的债基。

在老娘舅之前的文章中就提到了,在债基产品中,信用债是违约的“事故高发地”。
对于基民而言,如果你购买债基,基本上是很难辨别它到底如何的,违约的情况太复杂,甚至基金经理有时也难免中招。
所以,如果你求稳的话,最好是选择利率债会好一些,比如国债指数基金。

具体操作时,你可以在基金代销网站搜索比如“国债”、“国开债”的关键词。
2.不购买机构占比过高的债基。
为何呢?
因为通常这只债基的机构占比越高,假如说未来有机构集中操作赎回,对净值的影响也是较大的。
3.回避规模太小、重仓一类债券的债券基金。
对于规模在1个亿以下,或者喜欢偏好重仓一类债券的债基,我们要非常小心。
我们投资基金,就是为了借助专业的团队,实现资产的分散投资,假如你买的某只债基个别的债券的仓位非常重,未来出事的话,对这只债基净值的影响会非常大。
4.选择实力雄厚的基金公司。
大的基金公司有实力雄厚的债券研究团队,基金管理者风控能力更强,投资的经验很足。
大多时候,都能避免踩雷的风险。
版权及免责声明:凡本网所属版权作品,转载时须获得授权并注明来源“融道中国”,违者本网将保留追究其相关法律责任的权力。凡转载文章,不代表本网观点和立场。
延伸阅读
版权所有:融道中国