中国基金报泰勒
人民需要什么?五菱就造什么!今天,五菱汽车又火了。
港股五菱汽车一度暴涨超60%
五菱汽车再度飙升,上次因为炒地摊概念,公司股价连续暴涨,上汽通用五菱官微发布的消息显示,9月,宏光MINI EV销量突破2万辆,达20150辆,再度登顶国内新能源汽车市场销量冠军。

说到新能源汽车,不得不提到特斯拉,特斯拉公司发展势头正盛,除了销量在不断增长,特斯拉还在不断压缩成本,下调销售价格。在中国市场,金秋十月的第一天特斯拉还宣布了国产Model 3售价下降至人民币24.99万元人民币,直降2.165万元,降幅比例达7.97%,这已是特斯拉继今年5月1日后年内第二次降价。马斯克还曾在9月的电池日上预告了约17万元的低价新车项目,其目的显然还要去争夺低价市场。
特斯拉现在的火爆,并不意味着其在新能源汽车市场具有完全绝对的优势。目前来看,新能源汽车市场呈现两极分化现象,并非所有新能源汽车都有较强的市场吸引力。
特斯拉的电动车长期占领全球新能源汽车销量的头把交椅。在中国市场的新能源车领域,特斯拉并非一枝独秀。乘联会发布的月度数据显示,今年以来特斯拉与比亚迪在中国市场的销量长期占据前二。具体从单一的车型来看,特斯拉Model 3车型在今年5月至7月连续三个月占据中国新能源汽车车型销量榜榜首。
而进入8月份,7月刚上市的上汽通用五菱宏光Mini EV却让人眼前一亮,8月批发销量达到1.5万辆(以下数据均为狭义乘用车批发销量),超过特斯拉Model 3成为市场最大黑马,夺得8月新能源车的销售冠军,更是在上市50天销量突破3万辆,成为名副其实的中国新能源车“人气王”。
打败特斯拉
“人民最强代步车”夺得9月新能源汽车销量榜首
五菱宏光近日推出新款A00级新能源车宏光MINI EV,续航120-170km,最高车速100km/h,售价仅为2.88万-3.88万元,7月销量达到7348辆,8月销量达到1.5万辆,9月销量达20150辆,上市即成爆款,是全球销量最快破万的小型新能源车。目前宏光MINI EV单月销量突破两万辆,随着产能爬坡有望进一步提升销量。

别看五菱宏光MINI EV车身小巧,该车自上市以来就受到了很多消费者的追捧。10月15日。五菱汽车官方宣布,宏光MINI EV超越“特某拉”,9月销量达20150辆,夺得了9月新能源汽车销量排行榜TOP 1,新能源“人气王”实至名归!
值得一提的是,此前五菱汽车官方还宣布过,五菱宏光MINI EV单日销量超过了1000台,可见大家对该车的喜爱程度。

五菱宏光MINI EV之所以能受到这么多消费者的认可,其亲民的售价是很大的助力。该车售价2.88万元起,轻松款售价2.88万元,续航里程为120km;自在款售价3.28万元,续航里程为120km;悦享款售价3.88万元,续航里程为170km。电商下订还可享价值4888元的“五重礼遇”。
被新冠疫情折腾了大半年,大家逐渐意识到出行工具的重要性,也比以往任何时候都更迫切地需要一款出行利器。“人民需要什么,五菱就造什么”,在疫情期间为民造口罩之后,五菱汽车再次站了出来,为复工复产的民众造一款出行代步车——五菱宏光MINI EV


宏光MINI EV的内饰设计十分简约,放眼望去,中控台只有一些旋钮和按键,整体显得有些“空旷”。

宏光MINI EV的出现,开创了车市的三宗“最”。
第一“最”,它是新能源汽车领域增长最快的车型。
第二“最”,在于车型本身的定位极其精巧,在以大为尊的环境下,宏光MINI EV却特立独行,做同级里面尺寸最小、价格最低、续航最短的产品
第三最指向城市C端消费群体,它的营销转身最快、最狠、最准。
港股五菱跟五菱宏光是什么关系?
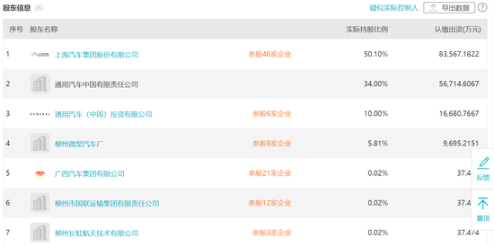
上述车型其实是上汽五菱生产。上汽五菱和港股五菱汽车关系如下:
1、上汽五菱为五菱汽车(港股上市公司)发动机及汽车零部件的重要客户。根据2020年中期业绩,五菱汽车向核心客户上汽通用五菱的销售共计约为人民币6.13亿元,较2019年同期上升66.2%。
2、港股五菱汽车是上汽五菱的股东。上汽五菱为上汽集团、通用集团与广西汽车的合营企业,广西汽车持股在6%左右(柳州微型汽车为广西汽车100%持股)。其中,广西汽车为五菱汽车(港股上市公司)的控股股东,持股60%。

3、港股五菱有上汽五菱的改装车业务。根据广西汽车官网,广西汽车有三大业务,整车业务(主要是改装车)、发动机及零部件。2007年,集团以存续的汽车零部件、发动机和专用车业务与香港上市公司合资,成立了中外合资企业“柳州五菱汽车工业有限公司”,成功实现主业境外上市。
也就是说本次炒作的五菱汽车是上汽五菱的关联企业和重要客户。
版权及免责声明:凡本网所属版权作品,转载时须获得授权并注明来源“融道中国”,违者本网将保留追究其相关法律责任的权力。凡转载文章,不代表本网观点和立场。
延伸阅读
版权所有:融道中国