今日头条起诉“今日油条”商标侵权
来源:一财网 时间:2020-10-15 16:42:19
原标题:今日头条起诉“今日油条”商标侵权
近日,一家名为“今日油条”的店铺引起众多网友的注意,10月15日,据天眼查网站,目前,今日头条已将该店铺背后公司告上法庭。
天眼查公布的诉讼消息显示,北京字节跳动科技有限公司以商标权权属、侵权纠纷为由,向广州知识产权法院,起诉了河南今日油条餐饮管理有限公司、河南烧烤者食品有限公司及郑州市金水区今日油条早餐店。

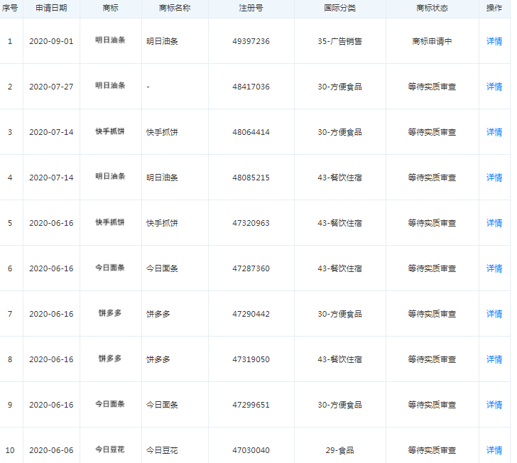
天眼查公布的资料显示,河南今日油条餐饮管理有限公司成立于2020年5月13日,注册资本100万元,该公司于6月至9月,在食品、餐饮住宿、方便食品等类目,申请注册了今日豆花、今日面条、饼多多、快手抓饼、明日油条等商标,目前,部分申请流程处于等待实质审查状态。
版权及免责声明:凡本网所属版权作品,转载时须获得授权并注明来源“融道中国”,违者本网将保留追究其相关法律责任的权力。凡转载文章,不代表本网观点和立场。
延伸阅读
-
原标题:乌鲁木齐银行内部管理不严,员工私自挪走客户900万存款来源: 新华融媒看财经记者李娜实习记者王鑫雨近期,乌鲁木齐银行石河子...
2021-03-23
-
原标题:清洁能源再迎利好:优先上网,全额保障收购清洁能源行业利好不断。3月23日,国家能源局官网公布《清洁能源消纳情况综合监管工作...
2021-03-23
-
油价今年的持续上涨最近陷入停滞。周二欧盘,美、布两油单边下行,跌超3%。WTI原油逼近59美元关口,布伦特原油也测试62美元。19:00左右
2021-03-23
-
3月23日消息,中国太平保险控股有限公司(“中国太平”或“公司”,连同其附属公司统称“集团”)发布截至2020年12月31日止年度经审核的财
2021-03-23
-
原标题:361度2020年总收益下滑9%,拟加大电商投资新京报讯(记者 郑艺佳)3月23日,361度国际有限公司(以下简称“361度”)发布
2021-03-23
-
原标题:综合成本率改善、承保亏损缩减,众安在线2020由亏转盈净利润5 5亿3月23日,众安在线发布2020年业绩报告。2020年,众安保险
2021-03-23
-
炒股就看金麒麟分析师研报,权威,专业,及时,全面,助您挖掘潜力主题机会!现代牧业拟34 8亿元完全收购富源,上游牧场加速整合,行业...
2021-03-23
-
原标题:产量下降好于行业水平 华润啤酒净利润同比增长六成作者:文静“公司业绩超出我们的预期。2020年是雪花啤酒决战高端极其重要、...
2021-03-23
-
最新文章
-
马斯克V.S薛其坤:立足当下 对人类未来展开无限想象
-
精彩推荐
-
-
图文观赏
-
众安在线扭亏为盈:2020年净利5.5亿 数字生活生态驱动增长
-
热门推荐
-