原标题:“12不香十三香”?iPhone12发布,这家中国企业意外火了...
每经编辑 赵云
北京时间10月14日凌晨,苹果发布iPhone 12系列4款5G手机,这是苹果首次推出5G手机。在微博热搜上,iPhone 12相关话题霸屏热搜榜。
让人意想不到的是,“十三香”也登上热搜。

来源:微博截图
但实际上,王守义十三香这家国内知名的调味品企业目前并未在资本市场上市。
“十三香”登上热搜榜
网友在评论区急坏了:你得营销起来啊
iPhone 12一经发布,相关话题就霸屏微博热搜榜。但让人始料未及的是,“王守义十三香”这家国内大型的香辛料调味品生产企业也受到网友关注。微博热度紧随iPhone 12。
这是为啥呢?在微博上,不少网友表示,“千万别买iPhone 12,王守义说了十三香。”
每经小编于14日下午注意到,王守义十三香的官方微博曾于苹果发布会前一天发文,调侃“12不香十三香”这个“梗”,但热度平平。
有网友则在下方评论区建议“你可以利用这波热点造势”、“带话题营销支棱起来啊”。



细看这条微博的编辑记录会发现,#十三香#的话题很可能正是听了网友建议后才加上的。

王守义十三香、老干妈等均是国内知名调味品企业,但并未上市。
王守义十三香官网显示, 驻马店市王守义十三香调味品集团有限公司由王守义创始于1984年,是规模化的系列香辛料调味品企业,公司以调味品生产销售为主营业务,同时兼营彩印、包装材料等辅业。公司位于驻马店市十三香路1号,总占地面积330亩,建筑面积23万平方米,注册资金4亿元,现有员工近2000人。

截自王守义十三香官网
资料显示,2003年王守义去世。王守义十三香传给了王守义三个儿子。天眼查显示,驻马店市王守义十三香调味品集团有限公司由王银良直接持股20.4%,间接持股60%,疑似为实际控制人,王铜良和王铁良分别持股9.8%。
在公司官网中,王守义十三香集团董事长王银良表示:“王守义十三香集团以可靠的产品、优质的服务,始终秉承‘老字号,新工艺,重质量,守信誉’的宗旨。多年来,公司实行科学化经营管理,坚持名牌战略,靠优质的产品赢得了市场,把握了消费者,使我们的产品得到了广大消费者的喜爱和认可。”
王守义十三香,不止有十三香
还有十四香、十五香…一直到三十九香
官网显示, 公司产品除“王守义十三香”调味料外,还生产有“麻辣鲜调料”“鸡精”等复合调味料,包子饺子料、炖肉料、咖喱粉等复合香辛料,胡椒类、花椒、孜然等单粉香辛料以及八角、花椒、小茴香等干货类共30多个品种70多种规格,畅销全国30多个省市,部分产品销往新加坡、加拿大、澳大利亚等近十个国家和地区,年销售额20多亿元。
据河南商报今年9月报道,十三香集团经理黄林表示,十三香集团的销售收入和纳税额连续5年都在上涨,其中2019年销售收入23.4亿元,纳税额4.3亿元。
实际上,王守义十三香不止有十三香。

图片来源:王守义十三香官网
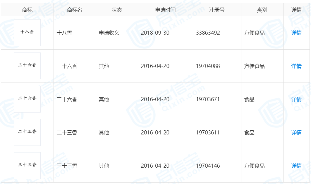
官网资料显示,公司一直注重商标品牌战略,分别于1997年、1999年申请了“王守义”“十三香”两商标并且获得注册证。除此之外公司实行多品牌战略,除“王守义”“十三香”品牌以外,旗下还拥有还有“十一香、十二香、十四香、十五香、十六香、十七香、十八香、二十三香、二十六香、三十三香、三十六香、三十九香、十一鲜、十二鲜、十三鲜、十四鲜、十五鲜、十六鲜、十七鲜、王守义拌拌香、王守义炖炖香、王守义火锅香、王守义麻辣鲜、王守义鲜美、龙亭、兴隆堂”等多种品牌,满足不同的市场需求。“目前,各品牌已经呈现百花齐放的态势。”

截自启信宝
据官网显示,2019年12月王守义十三香集团名列第六批农业产业化国家重点龙头企业名单。多年来,王守义十三香集团累计为公益事业捐资达两亿多元。
版权及免责声明:凡本网所属版权作品,转载时须获得授权并注明来源“融道中国”,违者本网将保留追究其相关法律责任的权力。凡转载文章,不代表本网观点和立场。
延伸阅读
版权所有:融道中国