原标题:富途证券(FUTU)旗下富途网络因非法买卖外汇遭监管层处罚
来源:资本邦
10月14日,资本邦获悉,据国家外汇管理局网站9月27日公布的行政处罚决定书(深外管检[2020]75号)显示,深圳市富途网络科技有限公司(简称:富途网络)存在非法买卖外汇行为,违反了《结汇、售汇及付汇管理规定》(银发[1996]210号)第三十二条的规定。依据《中华人民共和国外汇管理条例》第四十五条规定,国家外汇管理局深圳市分局给予其警告、罚款人民币20.32万元。

(图片来源:国家外汇管理局网站)
据企查查显示,深圳市富途网络科技有限公司成立于2007年12月,注册资本1000万元,公司实控人兼大股东为李华,持股85%,另一位创始人李镭持股15%。

(图片来源:企查查)
值得一提的是,李华也是中国互联网券商公司富途证券的创始人及腾讯早期团队的第18号员工。2008年,李华从供职8年的腾讯离职,之后创立了富途。2019年3月8日,富途证券(FUTU)母公司富途控股在美国纳斯达克交易所正式挂牌,证券简称为“富途证券”,股票代码为“FUTU”。
据官方信息,富途控股旗下拥有富途证券、富途网络、FutuInc、富途信托等多家子公司。其中广为人知的富途证券全称为富途证券国际(香港)有限公司,于2012年4月在香港注册成立,并持有香港证监会认可的持牌法团。
此次收到监管部门罚单的富途网络正是富途控股旗下子公司,主要从事互联网科技类产品的研发,旗下主要产品包括港美股行情交易软件富途牛牛电脑版以及富途牛牛app客户端。
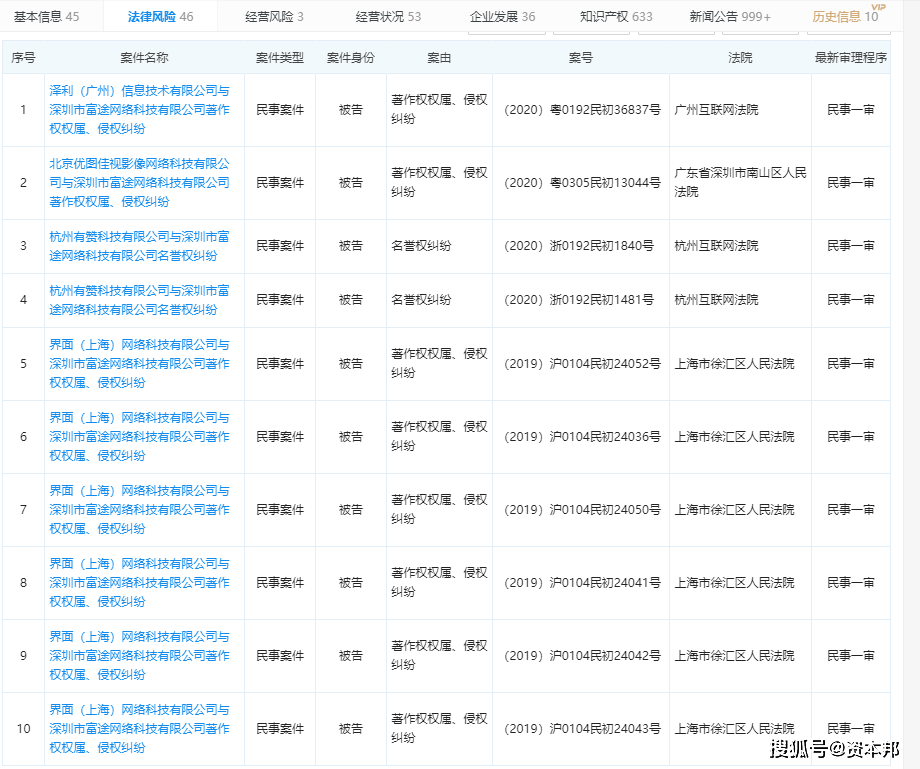
企查查显示,目前深圳市富途网络科技有限公司卷入到32起司法案件中,涉及著作权权属,侵权纠纷,名誉权纠纷等。公司第二大股东李镭近期有一笔其他企业股权出质记录。


(图片来源:企查查)
身处多事之秋的富途证券还在今年7月遭澳门金融管理局“点名”。澳门金管局发文称:发现社交平台出现以“富途证券”名义招揽公众开立投资账户的情况。金管局特此发布公告,提醒公众“富途证券”从未获许可在澳门特别行政区从事任何金融活动。
同时,澳门金融管理局强调,根据七月五日第32/93/M号法令核准的《金融体系法律制度》第二条第一款的规定,只有获许可之金融机构,方可在澳门从事金融活动。任何人士或实体未经许可而于澳门从事受监管金融机构之专有经营活动,均构成《金融体系法律制度》第一百二十二条第二款b项所指的“特别严重之违法行为”,最高可被科处五百万澳门元之罚款。
受此消息影响,富途股价周五早盘下跌逾4%。
版权及免责声明:凡本网所属版权作品,转载时须获得授权并注明来源“融道中国”,违者本网将保留追究其相关法律责任的权力。凡转载文章,不代表本网观点和立场。
延伸阅读
版权所有:融道中国