首页
新闻
财经
基金
股票
金融
理财
新闻
财经
基金
股票
金融
理财
这些少数族裔创始人如何让科技高管把钱放在嘴边
人工智能将是世界上有史以来最伟大的就业引擎
零工经济如何帮助促进多样性
你如何保护你的公司免受黑客攻击
为什么谷歌搜索自己不再只是为了好玩
为什么潮流正在转向能源部门
苹果WWDC主题演讲中的所有重要内容
云数据存储: 每个质量保证测试人员都应该知道的问题和威胁
使用此折扣VPN保护您的个人和业务数据
4人工智能趋势值得关注2019年
微软的巴厘岛项目试图让你控制你的数据
秒杀网红款,火爆朋友圈的匈牙利鹅绒被到底好在哪里!
物联网如何改变航运业
如何掌握链接构建2019年。如果这样做,将会带来巨大的好处。
回顾: 改变游戏规则的技术创新2018年
EBay是现代最有影响力的公司
这位连续的企业家厌倦了文书工作,他建立了一个聊天机器人来帮助其他人进行管理工作
区块链技术在东南亚的作用越来越大
让我们数字化: 如何实现转型,更好地为客户服务
2019的学习景观
SpaceX的 “starhopper” 测试车进行了一次由猛禽驱动的短途旅行
用这个49美元的电子学位捆绑包学习掌握JavaScript
谣言: 苹果AirPods 2,AirPower,新ipad 3月29日到货
苹果推出了具有黑暗模式的更快,更私密的iOS 13
Salesforce的创新生产力解决方案如何帮助团队更快地完成更多工作
如何掌握社交媒体营销2019年
错误的更新砖耐克 “自动系带” 智能鞋
Google赢得了FCC的批准,以继续开发基于雷达的手传感器
苹果推出新的iPod Touch
埃隆·马斯克的洛杉矶隧道将特斯拉变成了 “铁路引导火车”
市场能否提供小企业所需的综合金融科技工具?
如何破解亚洲竞争激烈的电子科技行业
Google Home和Amazon Echo可以存储您的语音记录。这是它们可以用来对付你的时候。
从星际飞船船长到电动自行车推销员: 与威廉·沙特纳的对话
聊天机器人是客户服务未来的五个原因
人工智能如何帮助您更好地管理时间
在加密货币时代,银行必须转型才能蓬勃发展的5种方式
机器学习如何创造一个更精英、更少偏见的就业市场
测试成功用户体验的一个指标
韩国已经在进行区块链爆炸
Jamf现在帮助小型企业无缝管理移动设备
使用此VPN浏览更智能,更安全
使用此VPN使您的浏览数据保持私有
您需要了解的10种用户体验设计趋势2019年
将AI整合到招聘中如何使面临劳动力危机的公司受益
如果你没有管理策略,你的数据就没用了
即使是 “非人类” AI也可以帮助您与客户建立更有意义的关系的3种方式
物联网的危险 (信息图)
人工智能主导的营销如何以更智能的方式吸引当今的受众
SpaceX正在佛罗里达州建造另一艘星际飞船
您的位置:
首页
>
新闻
>
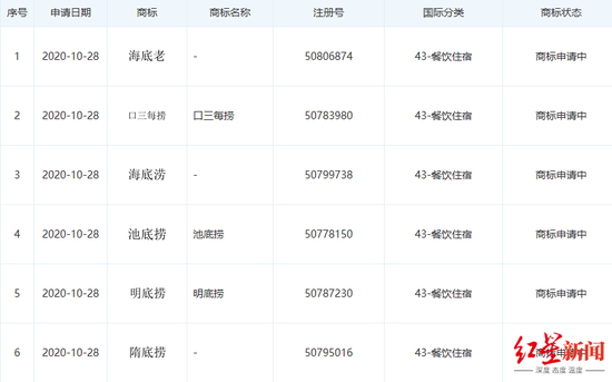
池底捞、海底捡等 海底捞2天申请263个商标
池底捞、海底捡…海底捞2天申请263个商标11月4日,“海底捞申请池底捞海底捡等商标”登上微博热搜。天眼查APP...
2020-11-05
1-10月杭州引进大学生超30万人 较2019年全年增长45.8%
原标题:1-10月杭州引进大学生超30万人!较2019年全年增长45 8%11月4日下午,在杭州举办的“2020杭州国际人才...
2020-11-05
年内第三家上市公司遭电信诈骗 斯莱克被骗额占净利比重超10%
原标题:年内第三家上市公司遭电信诈骗 斯莱克被骗额占净利润比重超10%来源:财联社财联社(南京,记者 王俊...
2020-11-05
直击进博会:日本企业发力医疗养老产业
人民网上海11月5日电(记者张靖)随着11月4日晚间开幕式的举行,第三届中国国际进口博览会(以下简称“进博会...
2020-11-05
贵州独山回应一国企债务到期问题:涉事企业正加快资产变现力度
原标题:贵州独山回应一国企债务到期问题:涉事企业正加快资产变现力度近日,贵州独山县政府就网友反馈的债务...
2020-11-05
李克强考察郑州大学为何来到这里?
原标题:李克强考察郑州大学为何来到这里?李克强11月4日上午来到郑州大学考察资源材料一流学科建设。总理听取...
2020-11-05
有一种幸福,叫做挣钱给爸妈花
经常在微博、抖音上看到这么一句话:“一个男人遇到的最痛苦的事情就是,在自己没有能力的时候遇到了想娶的女...
2020-11-05
外媒关注蚂蚁集团上市暂缓:加强监管规范控制金融风险
原标题:外媒关注蚂蚁集团上市暂缓:加强监管规范控制金融风险参考消息网11月5日报道全球最大的在线金融公司蚂...
2020-11-05
三季报出炉 地产股有哪些超预期和不及预期?
原标题:三季报出炉,地产股有哪些超预期和不及预期? 来源:格隆汇作者 | 707的牛数据支持 | 勾股大数据...
2020-11-05
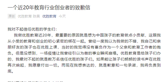
优胜教育CEO喊话马云伸援手 网友:工资不发却发微博?
原标题:优胜教育CEO喊话马云伸援手 网友:工资不发却发微博?“没想到,一场疫情让我曾经引以为傲的事业瞬间...
2020-11-05
张文宏答疑德国第二波疫情:度过最艰难半年 明年可能会更好
原标题:张文宏答疑德国第二波疫情:度过最艰难半年,明年可能会更好中国驻杜塞尔多夫总领事冯海阳主持当天的...
2020-11-05
圆桌实录|资金端挑战与机遇:资管新规、渠道多元化
11月5日,由全球租赁业竞争力论坛、中国·东疆租赁产业(人才)联盟主办,天津东疆保税港区管理委员会作为政府...
2020-11-05
优胜教育CEO陈昊发布致歉信:希望马云马化腾张一鸣等伸出援手
11月5日,优胜教育CEO陈昊在优胜教育官微中发表《一个近20年教育行业创业者的致歉信》一文。文中称,疫情期间...
2020-11-05
浙江省丽水市发布房地产调控新政:预售备案价格续推不涨
原标题:浙江省丽水市发布房地产调控新政:预售备案价格续推不涨中国网财经11月5日讯 据浙江省丽水市住房和城...
2020-11-05
前三季度十大消费城市:重庆跃居第三 武汉受疫情影响降至第十
原标题:前三季度十大消费城市大洗牌:重庆跃居第三,武汉受疫情影响降至第十双十一在即,购物狂欢已提前开启...
2020-11-05
前三季归母净利大降440%:曾经的黑电龙头四川长虹怎么了?
原标题:前三季归母净利大降440%!曾经的黑电龙头四川长虹怎么了?丨财报AlphaGo《投资时报》研究员林申四川长...
2020-11-05
陈昊致歉:愿0元转让优胜教育 “卖身”打工十年
“公司发展至今,我责无旁贷,没有任何选择,只能也只想坚持下去。”文丨猎云网作者丨赵家云“公司发展至现在...
2020-11-05
租客退租后房内垃圾半人高 这就是传说中的“懒癌”?
视频加载中,请稍候 自动播放 play向前向后张女士称,在这里住4个月从未见过当事人,自己退房时搬家公司...
2020-11-05
超快速新冠试剂盒获批:20分钟立等可取 年内仍有大量刚需(股)
炒股就看金麒麟分析师研报,权威,专业,及时,全面,助您挖掘潜力主题机会!原标题:超快速新冠试剂盒获批:2...
2020-11-05
冠脉支架集采开标:AH相关股大跌 未来或催生两大投资方向(股)
炒股就看金麒麟分析师研报,权威,专业,及时,全面,助您挖掘潜力主题机会!原标题:冠脉支架集采开标,AH相...
2020-11-05
大和:招商银行重申买入评级 目标价升至50港元
热点栏目自选股数据中心行情中心资金流向模拟交易客户端 大和发表研究报告指,招商银行(03968)有望将零售...
2020-11-05
中泰国际:澳博控股下调至增持评级 目标价9.87港元
热点栏目自选股数据中心行情中心资金流向模拟交易客户端 Q3业绩虽逊预期,但仍看好股价表现澳博控股(00880...
2020-11-05
任怡:金融服务于实体企业 服务于实体经济
11月5日,由全球租赁业竞争力论坛、中国·东疆租赁产业(人才)联盟主办,天津东疆保税港区管理委员会作为政府...
2020-11-05
五粮液市值突破万亿元关口 白酒板块为何一直涨?
炒股就看金麒麟分析师研报,权威,专业,及时,全面,助您挖掘潜力主题机会!周四早盘,三大股指大幅高开后呈...
2020-11-05
汇丰研究:阿里巴巴维持目标价373港元 给予买入评级
热点栏目自选股数据中心行情中心资金流向模拟交易客户端 汇丰研究发表报告表示,将阿里(09988)于2021至20...
2020-11-05
38438条
上一页
1
..
946
947
948
949
950
951
952
953
954
..
1538
下一页
最新文章
从星际飞船船长到电动自行车推销员: 与威廉·沙特纳的对话
韩国已经在进行区块链爆炸
如果你没有管理策略,你的数据就没用了
调查显示,这些公司将产生下一波企业家浪潮
尽管科技股下跌,Netflix仍在上涨
您是否已尽一切努力为这个销售旺季准备在线公司?
企业家可以通过三种方式使用AI来促进业务发展
2019将为芯片制造行业准备什么?
数字双胞胎的量子飞跃
精彩推荐
苹果WWDC主题演讲中的所有重要内容
微软的巴厘岛项目试图让你控制你的数据
区块链技术在东南亚的作用越来越大
如何掌握社交媒体营销2019年
如何破解亚洲竞争激烈的电子科技行业
机器学习如何创造一个更精英、更少偏见的就业市场
图文观赏
秒杀网红款,火爆朋友圈的匈牙利鹅绒被到底好在哪里!
错误的更新砖耐克 “自动系带” 智能鞋
Google Home和Amazon Echo可以存储您的语音记录。这是它们可以用来对付你的时候。
测试成功用户体验的一个指标
将AI整合到招聘中如何使面临劳动力危机的公司受益
为什么聊天机器人很好,不,他们不会夺走你的工作
绿色云计算: 每个质量保证都应该知道的技术
人工智能如何改变中小企业的商务旅行
这个机器人真空吸尘器在你工作的时候打扫你的房子
热门推荐
零工经济如何帮助促进多样性
为什么潮流正在转向能源部门
4人工智能趋势值得关注2019年
这位连续的企业家厌倦了文书工作,他建立了一个聊天机器人来帮助其他人进行管理工作
Salesforce的创新生产力解决方案如何帮助团队更快地完成更多工作
市场能否提供小企业所需的综合金融科技工具?
友情链接:
百度地图
融道中国
自助投稿
山西商业网
大军事网
中国白银理财网
科技金融网
贵州热线
万隆金银理财网
百度地图
大事中国
中国啤酒网
巴中房产网
深圳都市网
南方站长网
版权所有:融道网