首页
新闻
财经
基金
股票
金融
理财
新闻
财经
基金
股票
金融
理财
这些少数族裔创始人如何让科技高管把钱放在嘴边
人工智能将是世界上有史以来最伟大的就业引擎
零工经济如何帮助促进多样性
你如何保护你的公司免受黑客攻击
为什么谷歌搜索自己不再只是为了好玩
为什么潮流正在转向能源部门
苹果WWDC主题演讲中的所有重要内容
云数据存储: 每个质量保证测试人员都应该知道的问题和威胁
使用此折扣VPN保护您的个人和业务数据
4人工智能趋势值得关注2019年
微软的巴厘岛项目试图让你控制你的数据
秒杀网红款,火爆朋友圈的匈牙利鹅绒被到底好在哪里!
物联网如何改变航运业
如何掌握链接构建2019年。如果这样做,将会带来巨大的好处。
回顾: 改变游戏规则的技术创新2018年
EBay是现代最有影响力的公司
这位连续的企业家厌倦了文书工作,他建立了一个聊天机器人来帮助其他人进行管理工作
区块链技术在东南亚的作用越来越大
让我们数字化: 如何实现转型,更好地为客户服务
2019的学习景观
SpaceX的 “starhopper” 测试车进行了一次由猛禽驱动的短途旅行
用这个49美元的电子学位捆绑包学习掌握JavaScript
谣言: 苹果AirPods 2,AirPower,新ipad 3月29日到货
苹果推出了具有黑暗模式的更快,更私密的iOS 13
Salesforce的创新生产力解决方案如何帮助团队更快地完成更多工作
如何掌握社交媒体营销2019年
错误的更新砖耐克 “自动系带” 智能鞋
Google赢得了FCC的批准,以继续开发基于雷达的手传感器
苹果推出新的iPod Touch
埃隆·马斯克的洛杉矶隧道将特斯拉变成了 “铁路引导火车”
市场能否提供小企业所需的综合金融科技工具?
如何破解亚洲竞争激烈的电子科技行业
Google Home和Amazon Echo可以存储您的语音记录。这是它们可以用来对付你的时候。
从星际飞船船长到电动自行车推销员: 与威廉·沙特纳的对话
聊天机器人是客户服务未来的五个原因
人工智能如何帮助您更好地管理时间
在加密货币时代,银行必须转型才能蓬勃发展的5种方式
机器学习如何创造一个更精英、更少偏见的就业市场
测试成功用户体验的一个指标
韩国已经在进行区块链爆炸
Jamf现在帮助小型企业无缝管理移动设备
使用此VPN浏览更智能,更安全
使用此VPN使您的浏览数据保持私有
您需要了解的10种用户体验设计趋势2019年
将AI整合到招聘中如何使面临劳动力危机的公司受益
如果你没有管理策略,你的数据就没用了
即使是 “非人类” AI也可以帮助您与客户建立更有意义的关系的3种方式
物联网的危险 (信息图)
人工智能主导的营销如何以更智能的方式吸引当今的受众
SpaceX正在佛罗里达州建造另一艘星际飞船
您的位置:
首页
>
新闻
>
新一代航海家全球首秀 林肯国产化元年实现承诺
原标题:广州车展|新一代航海家全球首秀,林肯国产化元年实现承诺11月20日,林肯品牌的第三款国产车型、中型豪...
2020-11-25
汇鸿集团三任董事长连续落马
这家上市公司,三任董事长连续落马记者|卢燕飞编辑|白兆鹏江苏省高级人民法院消息,11月24日,镇江市中级人民...
2020-11-25
印度第4次封杀中国App 包括支付宝、钉钉、芒果TV等
澎湃新闻记者 南博一继TikTok、微信、小米浏览器等上百款中国APP后,印度再次封杀另外43款中国APP,支付宝、...
2020-11-25
“绿鞋”护航精选层个股仍破发 老股抛压问题待解
原标题:“绿鞋”护航精选层个股仍破发,老股抛压问题待解虽有“绿鞋”机制短暂助力,精选层个股仍难摘“破发...
2020-11-25
金融机构预计2020年技术投入超1981亿元 银行占比超六成
原标题:金融机构预计2020年技术投入超1981亿元 银行占比超六成近日,第三方咨询机构艾瑞咨询发布《2020中国...
2020-11-25
周小川:实现碳中和市场机制最有效 十四五将加速发展碳市场
来源:财经十一人文| 周小川2020年9月国家最高领导人在联合国大会上做了重要发言,并代表中国做出了承诺,提...
2020-11-25
专用App能提高打新中签率?注意这是诈骗
炒股就看金麒麟分析师研报,权威,专业,及时,全面,助您挖掘潜力主题机会!专用App能提高打新中签率?注意!...
2020-11-25
翔宇医疗再受质疑 盈利能力偏弱、采购数据不正常
炒股就看金麒麟分析师研报,权威,专业,及时,全面,助您挖掘潜力主题机会!聚焦IPO | 翔宇医疗再受质疑,...
2020-11-25
芯片股大豪科技买红星二锅头:消息发布前涨停 公司说没泄露?
芯片概念股要买红星二锅头,消息发布前涨停了,上市公司说没泄露?红星资本局原创记者|李伟铭编辑|白兆鹏A股今...
2020-11-25
多只债基公告大额赎回 今年72只债基遭遇清盘
原标题:多只债基公告大额赎回 今年72只债基遭遇清盘债市遭遇寒流,基民选择用脚投票。九泰基金近日公告,旗...
2020-11-25
有机硅DMC再暴涨:机构看涨至2021年一季度 相关公司迎机遇
炒股就看金麒麟分析师研报,权威,专业,及时,全面,助您挖掘潜力主题机会!有机硅DMC再暴涨!机构看涨至2021...
2020-11-25
超30亿永煤债爆雷,积极自救能否力挽狂澜?
来源:企业舆情信息11月10日,AAA级国企永城煤电控股集团有限公司(简称:永煤控股)毫无预兆发出公告,称自己...
2020-11-25
南方轴承高位跌停 百亿私募嘉恳资产为第四大流通股东
原标题:南方轴承高位跌停 百亿私募嘉恳资产为第四大流通股东来源:中国经济网中国经济网北京11月25日讯南方...
2020-11-25
新希望集团刘永好:传统企业有很深的护城河 互联网企业进入很难
11月25日-27日,“财经年会2021:预测与战略”在北京召开。11月25日,在【“双循环”下的企业可持续发展】的讨...
2020-11-25
北京航空航天大学蔡维德:数字货币带来科技与市场的大改革
11月25日-27日,“财经年会2021:预测与战略”在北京召开。11月25日,在“数字货币:从概念到现实”的讨论中,...
2020-11-25
“二选一”第一案将开庭
“二选一”第一案将开庭法治周末记者仇飞被称为“二选一”第一案的京东诉天猫及阿里巴巴滥用市场支配地位案有...
2020-11-25
套路贷非法获利2.5亿 内蒙古一恶势力集团60人被判刑
原标题:非法获利2 5亿余元 内蒙古一恶势力集团被判刑作者:连振本文图均为包头中院微信公众号 图新华社呼...
2020-11-25
毛振华:三重压力下宏观政策要坚持底线思维
毛振华:三重压力下宏观政策要坚持底线思维亚布力中国企业家论坛11月18日-20日,2020年亚布力论坛第二十届年会...
2020-11-25
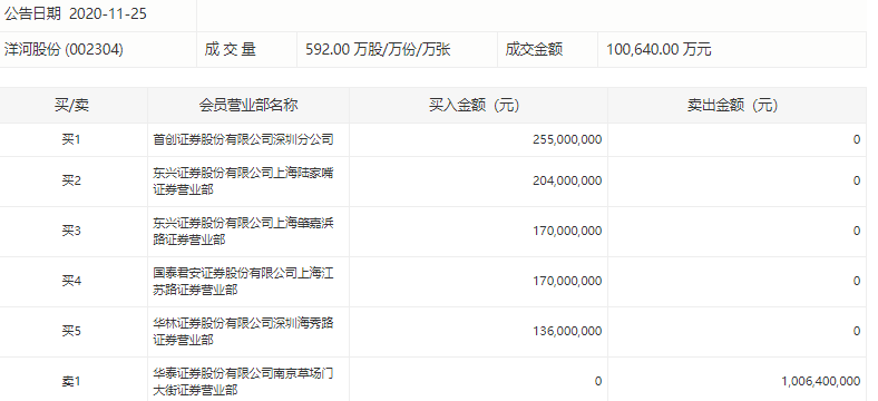
洋河股份再现10亿元大宗交易 华泰证券一营业部折价甩卖
原标题:洋河股份再现10亿元大宗交易,华泰证券一营业部折价甩卖11月25日,洋河股份出现7笔大宗交易,成交价为...
2020-11-25
中超俱乐部“限薪”:本土球员顶薪减半至税前500万
澎湃新闻记者 宋承良11月25日上午,中国足协在苏州举行中超联赛工作会议。据澎湃新闻记者了解,会议重点内容...
2020-11-25
冷链食品及秋冬季食品安全发布会:境外疫情输入风险进一步加大
原标题:冷链食品及秋冬季食品安全发布会要点汇总:境外疫情输入风险进一步加大11月25日,国务院联防联控机制...
2020-11-25
数字化浪潮来了:头部券商都在提"全面向数字化转型" 怎么做?
炒股就看金麒麟分析师研报,权威,专业,及时,全面,助您挖掘潜力主题机会!数字化浪潮来了,头部券商都在提...
2020-11-25
郑商所与太保集团签订战略合作协议积极推动“保险+期货”创新
2020年11月25日,郑州商品交易所(以下简称“郑商所”)与中国太平洋保险(集团)股份有限公司(以下简称“太...
2020-11-25
奇葩商标容易火?看上市公司怎么玩的
奇葩商标容易火?看上市公司怎么玩的!近年来,借助新闻热点来抢注商标已成为一条高效推广的“捷径”。毕竟门...
2020-11-25
国际航空运输协会:新冠肺炎大流行给航空业带来毁灭性打击
原标题:国际航空运输协会:新冠肺炎大流行给航空业带来毁灭性打击 来源:央视新闻客户端当地时间24日,国际...
2020-11-25
38438条
上一页
1
..
829
830
831
832
833
834
835
836
837
..
1538
下一页
最新文章
从星际飞船船长到电动自行车推销员: 与威廉·沙特纳的对话
韩国已经在进行区块链爆炸
如果你没有管理策略,你的数据就没用了
调查显示,这些公司将产生下一波企业家浪潮
尽管科技股下跌,Netflix仍在上涨
您是否已尽一切努力为这个销售旺季准备在线公司?
企业家可以通过三种方式使用AI来促进业务发展
2019将为芯片制造行业准备什么?
数字双胞胎的量子飞跃
精彩推荐
苹果WWDC主题演讲中的所有重要内容
微软的巴厘岛项目试图让你控制你的数据
区块链技术在东南亚的作用越来越大
如何掌握社交媒体营销2019年
如何破解亚洲竞争激烈的电子科技行业
机器学习如何创造一个更精英、更少偏见的就业市场
图文观赏
秒杀网红款,火爆朋友圈的匈牙利鹅绒被到底好在哪里!
错误的更新砖耐克 “自动系带” 智能鞋
Google Home和Amazon Echo可以存储您的语音记录。这是它们可以用来对付你的时候。
测试成功用户体验的一个指标
将AI整合到招聘中如何使面临劳动力危机的公司受益
为什么聊天机器人很好,不,他们不会夺走你的工作
绿色云计算: 每个质量保证都应该知道的技术
人工智能如何改变中小企业的商务旅行
这个机器人真空吸尘器在你工作的时候打扫你的房子
热门推荐
零工经济如何帮助促进多样性
为什么潮流正在转向能源部门
4人工智能趋势值得关注2019年
这位连续的企业家厌倦了文书工作,他建立了一个聊天机器人来帮助其他人进行管理工作
Salesforce的创新生产力解决方案如何帮助团队更快地完成更多工作
市场能否提供小企业所需的综合金融科技工具?
友情链接:
百度地图
融道中国
自助投稿
山西商业网
大军事网
中国白银理财网
科技金融网
贵州热线
万隆金银理财网
百度地图
大事中国
中国啤酒网
巴中房产网
深圳都市网
南方站长网
版权所有:融道网