首页
新闻
财经
基金
股票
金融
理财
新闻
财经
基金
股票
金融
理财
这些少数族裔创始人如何让科技高管把钱放在嘴边
人工智能将是世界上有史以来最伟大的就业引擎
零工经济如何帮助促进多样性
你如何保护你的公司免受黑客攻击
为什么谷歌搜索自己不再只是为了好玩
为什么潮流正在转向能源部门
苹果WWDC主题演讲中的所有重要内容
云数据存储: 每个质量保证测试人员都应该知道的问题和威胁
使用此折扣VPN保护您的个人和业务数据
4人工智能趋势值得关注2019年
微软的巴厘岛项目试图让你控制你的数据
秒杀网红款,火爆朋友圈的匈牙利鹅绒被到底好在哪里!
物联网如何改变航运业
如何掌握链接构建2019年。如果这样做,将会带来巨大的好处。
回顾: 改变游戏规则的技术创新2018年
EBay是现代最有影响力的公司
这位连续的企业家厌倦了文书工作,他建立了一个聊天机器人来帮助其他人进行管理工作
区块链技术在东南亚的作用越来越大
让我们数字化: 如何实现转型,更好地为客户服务
2019的学习景观
SpaceX的 “starhopper” 测试车进行了一次由猛禽驱动的短途旅行
用这个49美元的电子学位捆绑包学习掌握JavaScript
谣言: 苹果AirPods 2,AirPower,新ipad 3月29日到货
苹果推出了具有黑暗模式的更快,更私密的iOS 13
Salesforce的创新生产力解决方案如何帮助团队更快地完成更多工作
如何掌握社交媒体营销2019年
错误的更新砖耐克 “自动系带” 智能鞋
Google赢得了FCC的批准,以继续开发基于雷达的手传感器
苹果推出新的iPod Touch
埃隆·马斯克的洛杉矶隧道将特斯拉变成了 “铁路引导火车”
市场能否提供小企业所需的综合金融科技工具?
如何破解亚洲竞争激烈的电子科技行业
Google Home和Amazon Echo可以存储您的语音记录。这是它们可以用来对付你的时候。
从星际飞船船长到电动自行车推销员: 与威廉·沙特纳的对话
聊天机器人是客户服务未来的五个原因
人工智能如何帮助您更好地管理时间
在加密货币时代,银行必须转型才能蓬勃发展的5种方式
机器学习如何创造一个更精英、更少偏见的就业市场
测试成功用户体验的一个指标
韩国已经在进行区块链爆炸
Jamf现在帮助小型企业无缝管理移动设备
使用此VPN浏览更智能,更安全
使用此VPN使您的浏览数据保持私有
您需要了解的10种用户体验设计趋势2019年
将AI整合到招聘中如何使面临劳动力危机的公司受益
如果你没有管理策略,你的数据就没用了
即使是 “非人类” AI也可以帮助您与客户建立更有意义的关系的3种方式
物联网的危险 (信息图)
人工智能主导的营销如何以更智能的方式吸引当今的受众
SpaceX正在佛罗里达州建造另一艘星际飞船
您的位置:
首页
>
新闻
>
基因编辑58个婴儿?华大基因发布辟谣声明:谣言 已报案
12月8日,针对网传“基因编辑58个婴儿”和“定制人类”等消息,深圳华大基因科技有限公司官方微博@BGI华大发...
2020-12-08
上市首日京东健康市值超对手 未来差异化竞争成重点
在上市首日,京东健康(06618 HK)股价大涨,高于此前预期。截至12月8日港股收盘,京东健康股价上涨55 85%...
2020-12-08
杨德龙:坚守价值投资理念 关注A股市场黄金十年
杨德龙:坚守价值投资理念 关注A股市场黄金十年 投资消费和科技白马股文 | 前海开源基金首席经济学家 ...
2020-12-08
郭树清:关注新型“大而不能倒”风险、消除新系统性风险隐患
来源:北京商报记者 孟凡霞 宋亦桐12月8日,银保监会主席郭树清在“2020年新加坡金融科技节”上发表了《金...
2020-12-08
欲饮红星二锅头:大豪科技被质疑内幕交易 “前车之鉴”历历在目
原标题:欲饮红星二锅头?大豪科技被质疑内幕交易 国联、国金“前车之鉴”历历在目来源:财联社财联社(上...
2020-12-08
郭树清:一些互金机构给缺乏还款能力的学生过度放贷引发社会问题
原标题:郭树清:一些互联网金融机构给缺乏还款能力的学生过度放贷、引发社会问题来源:北京商报北京商报讯...
2020-12-08
多只妖股说崩就崩:最惨已有10个跌停 都是筹码高度集中
炒股就看金麒麟分析师研报,权威,专业,及时,全面,助您挖掘潜力主题机会!多只妖股说崩就崩!最惨已有10...
2020-12-08
A股明日风口:上海将打造具有全国影响力的直播电商平台
炒股就看金麒麟分析师研报,权威,专业,及时,全面,助您挖掘潜力主题机会!12月8日消息,行业利好密集出台...
2020-12-08
芯片短缺影响车企减产 产能失衡助推芯片持续涨价
炒股就看金麒麟分析师研报,权威,专业,及时,全面,助您挖掘潜力主题机会!芯片短缺影响车企减产,产能失...
2020-12-08
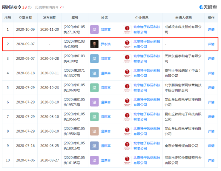
罗永浩再被限制消费 “真还传”何时能上演
罗永浩的“真还传”剧本,再次被改写。天眼查 App 显示,北京锤子数码科技有限公司新增一则被限制消费信息...
2020-12-08
陈树傲:金银重返高点 后市趋势看涨看跌
12月8日,黄金最新行情分析:黄金小时图在惯性的探高后快速回落,但仍未失守台阶上涨的临界点1823.此位失守...
2020-12-08
成都理工大学紧急通知:师生员工原则上不得离校
原标题:成都理工大学紧急通知:师生员工原则上不得离校来演:成都理工大学微信公众号各位师生员工:12月8日...
2020-12-08
吴彦初:黄金强势不追涨 回撤低多再介入
12月8日,黄金隔日一度回撤触低至1822一线,在此止跌后维持1830附近整理蓄势,晚间强势拉升再度站上1850上方...
2020-12-08
界面海南晚6点丨成为中国的“海莱坞”,海南还要走多久?
原标题:界面海南晚6点丨成为中国的“海莱坞”,海南还要走多久?独家对话丨胡润:未来将看到更多的中国企业...
2020-12-08
锂电板块火了:数只个股涨停 机构建议关注3个方面(附股)
炒股就看金麒麟分析师研报,权威,专业,及时,全面,助您挖掘潜力主题机会!原标题:锂电板块火了!数只个...
2020-12-08
Uber放弃自动驾驶技术研发 国内企业称不影响行业进步
原标题:Uber放弃自动驾驶技术研发,国内企业称不影响行业进步Uber将自动驾驶部门ATG出售给竞争对手Aurora,...
2020-12-08
市值创新高的亿航智能:与大疆差距甚远,高管变动频繁
原标题:市值创新高的亿航智能:与大疆差距甚远,高管变动频繁日前,无人机制造商亿航智能(NASDAQ:EH,也称...
2020-12-08
深圳网约车泄露乘客信息最高拟罚1万
原标题:深圳经济特区出租汽车管理条例草案征求意见 5000元起罚网约车线上线下“两张脸”来源:深圳市人大...
2020-12-08
马克龙和默克尔同意不在欧盟峰会中讨论英国脱欧
默克尔和马克龙达成一致,不应将英国脱欧谈判放在本周欧盟领导人峰会的议程中,显示欧盟将反对在最后一刻对...
2020-12-08
A股沉浮30周年 哪行融资最容易?
炒股就看金麒麟分析师研报,权威,专业,及时,全面,助您挖掘潜力主题机会!A股沉浮30周年,哪行融资最容易...
2020-12-08
受益于猎奇和博彩心理 凭借盲盒机制大火的泡泡玛特投资价值几何?
本文来自 微信公众号“异观财经”,作者:炫夜白雪。2020年即将过去,在这个“艰难”的年份,回顾这一年,...
2020-12-08
地天板再现:大连圣亚经营漩涡重重 猛砸6个跌停后游资进场
原标题:地天板再现!大连圣亚经营漩涡重重 猛砸6个跌停后游资进场来源:财联社财联社12月8日讯,自11月末...
2020-12-08
兴源环境谋变:资金紧张中退出一并购项目 刘永好入主后大举输血
新京报贝壳财经记者 朱玥怡新京报贝壳财经记者今日获悉,新希望系旗下上市公司兴源环境对外投资近期发生变...
2020-12-08
顺周期板块爆发:百亿级ETF层出不穷 多家基金上报化工产业ETF
原标题:顺周期板块爆发、百亿级ETF层出不穷!多家基金公司上报化工产业ETF来源:理财不二牛每经记者 黄小...
2020-12-08
探探潘滢:让算法匹配连接真实社交
2020年12月8日,由36氪主办的“2020WISE新经济之王”峰会在北京如期而至,社交品牌探探受邀出席,与业内最具...
2020-12-08
38438条
上一页
1
..
748
749
750
751
752
753
754
755
756
..
1538
下一页
最新文章
从星际飞船船长到电动自行车推销员: 与威廉·沙特纳的对话
韩国已经在进行区块链爆炸
如果你没有管理策略,你的数据就没用了
调查显示,这些公司将产生下一波企业家浪潮
尽管科技股下跌,Netflix仍在上涨
您是否已尽一切努力为这个销售旺季准备在线公司?
企业家可以通过三种方式使用AI来促进业务发展
2019将为芯片制造行业准备什么?
数字双胞胎的量子飞跃
精彩推荐
苹果WWDC主题演讲中的所有重要内容
微软的巴厘岛项目试图让你控制你的数据
区块链技术在东南亚的作用越来越大
如何掌握社交媒体营销2019年
如何破解亚洲竞争激烈的电子科技行业
机器学习如何创造一个更精英、更少偏见的就业市场
图文观赏
秒杀网红款,火爆朋友圈的匈牙利鹅绒被到底好在哪里!
错误的更新砖耐克 “自动系带” 智能鞋
Google Home和Amazon Echo可以存储您的语音记录。这是它们可以用来对付你的时候。
测试成功用户体验的一个指标
将AI整合到招聘中如何使面临劳动力危机的公司受益
为什么聊天机器人很好,不,他们不会夺走你的工作
绿色云计算: 每个质量保证都应该知道的技术
人工智能如何改变中小企业的商务旅行
这个机器人真空吸尘器在你工作的时候打扫你的房子
热门推荐
零工经济如何帮助促进多样性
为什么潮流正在转向能源部门
4人工智能趋势值得关注2019年
这位连续的企业家厌倦了文书工作,他建立了一个聊天机器人来帮助其他人进行管理工作
Salesforce的创新生产力解决方案如何帮助团队更快地完成更多工作
市场能否提供小企业所需的综合金融科技工具?
友情链接:
百度地图
融道中国
自助投稿
山西商业网
大军事网
中国白银理财网
科技金融网
贵州热线
万隆金银理财网
百度地图
大事中国
中国啤酒网
巴中房产网
深圳都市网
南方站长网
版权所有:融道网