股民被骗2.27亿:五步连环套 这家27年历史的投顾公司手段真黑


来源:中国证券报-中证网   时间:2020-12-10 13:39:04


这年头投资者实在是太难了:不仅有无良“投资大V”非法荐股,一些老牌证券投资咨询公司也开始做起了请“托”和诈骗的勾当。

日前裁判文书网公开一份刑事判决书,成立20多年的上海新兰德证券投资咨询顾问有限公司(下称“新兰德”),其法人曹某超因在经营公司安徽分公司期间涉嫌诈骗,一审被判处有期徒刑十三年六个月,其余多名高管也锒铛入狱,涉案总金额超过2亿元。

从手法上看,公司通过工作人员冒充“老师号”等手法,引诱客户参加号称能让其盈利的各种投资计划,但当用户缴款后却并未提供所谓的“拉升股票”等计划操作的服务。

图片来源:中国裁判文书网图片来源:中国裁判文书网

五步连环套

800多名投资者被骗2个多亿

经法院查明,2015年9月16日,新兰德在安徽省合肥市设立新兰德安徽分公司。在对外宣传中,新兰德主要提供四种服务:“胜赢版”(25800元一年)、“智赢版”(98000元一年)、“慧赢版”(投资额的10%一年)、“私人定制计划”(投资额的30%一年)。

具体而言,“胜赢版”服务内容主要是个股推荐、买卖点把握等;“智赢版”服务内容主要是由首席老师提供上述服务;“慧赢版”和“私人定制计划”服务内容相近,主要是公司利用私募、外围等资金计划拉升股价的服务。

2015年11月至2019年8月,本案四名被告人曹某超、曹某英、王某弟和罗某在负责经营新兰德安徽分公司期间,通过下面五个步骤,一步一步诱使投资者上当受骗:

1.新兰德的媒体部录制有投顾资质的指导老师讲解证券的相关视频,通过电视台、网站等媒体播放,并留下公司的QQ号码、手机号码、微信二维码等联系方式,吸引客户与公司联系。

2.新兰德安徽分公司的市场部对接引流成功的客户,采取向客户发送老师推荐股票上涨的盈利图、成交单等方式,吹嘘老师股票咨询的实力,促进客户支付定金购买其公司的体验服务,随后市场部将客户移交该公司的拓展部。

3.拓展部继续拓展客户,先向客户夸大宣传公司所谓的首席老师或者核心团队的实力和作用,并以跟着首席老师或者参加核心团队操作股票的名义,让客户补齐全年费用,后将补齐年费的客户邀请进入核心QQ群。

4.在核心QQ群内有“老师号”、“助理号”、二至五个真实客户号、四五十个“战友号”,拓展部主管人员在核心QQ群内冒充首席老师并操作“老师号”,虚构将推出与私募、外围等机构合作拉升股票的计划,市场部和拓展部的业务员冒充客户并操作“战友号”,虚假宣传“定制计划”等项目,烘托首席老师及上述计划,谎称之前参加上述计划盈利60%以上,“老师号”、“战友号”还会私下联系客户,引诱客户参加上述计划能让其盈利,骗取客户的信任。

5.客户缴纳高额的“慧赢版”或“定制计划”的服务费后,公司并未提供所谓的“拉升股票”等计划操作的服务,仍与普通服务一样给客户发送股票资讯和推荐个股,随后拓展部把客户移交该公司的客服部。客服部继续发送股票资讯和推荐个股,并处理客户投诉及退款等事项。

经法院审核确认,被告通过上述手段,骗得服务费共计2.58亿元,案发前已退款3033.38万元,实际骗得共计2.27亿元,被骗投资者数量多达805人。

公司法人获刑13年半

与一般非法荐股的“网络大V”不同,新兰德是一家正儿八经的持牌证券投资咨询公司。经法院确认,新兰德成立于1993年11月1日,经营范围是证券软件研发、销售,证券投资咨询,资产管理、投资管理;2017年11月24日办理经营证券期货业务许可证,证券期货业务范围为证券投资咨询;新兰德安徽分公司成立于2015年9月16日,经营范围为证券咨询,证券软件研发、销售。

从人员分工看,被告人曹某超为新兰德的负责人、总经理及法定代表人,负责公司及媒体对接、业务推广和客户引流等工作;被告人曹某英为新兰德及新兰德安徽分公司的负责人、总经理,负责分公司的日常经营管理;被告人王某弟为安徽分公司副总经理及该公司10楼的负责人,并协助总经理的工作;被告人罗某为安徽分公司副总经理及该公司16楼的负责人,并协助总经理的工作。

法院认为,上述四名被告人结伙,以非法占有为目的,采取虚构事实、隐瞒真相的手段骗取他人财物,其行为均已构成诈骗罪,且系共同犯罪。最终判处曹某超有期徒刑十三年六个月,并处罚金50万元;判处曹某英、王某弟、罗某有期徒刑八年四个月至十一年十个月不等,并处罚金10万元至50万元不等。

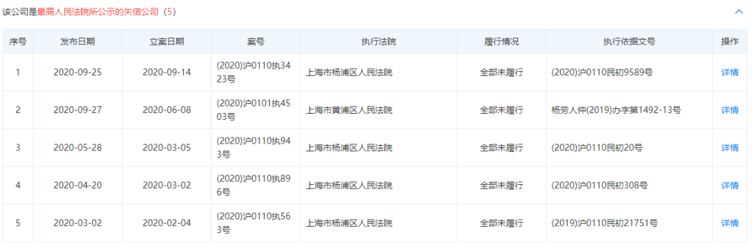
除却上述高管获刑外,新兰德自身经营也存在诸多风险。天眼查数据显示,公司是最高人民法院所公示的失信公司,同时还被法院列为限制高消费企业,此外因涉及证券投资咨询纠纷、股权转让纠纷、合同纠纷等,新兰德还被数十家公司及个人诉诸公堂。

图片来源:天眼查图片来源:天眼查

中证君梳理地方证监局官网发现,2019年12月9日,上海证监局对新兰德采取责令改正、暂停新增客户9个月的监管措施,经查,公司存在无证券投资顾问资格的人员向投资者提供证券投资顾问服务等三类问题;当年12月6日,其武汉分公司又因存在未在营业场所规范公示证券投资顾问及证券投资咨询业务资格等信息等问题,被湖北证监局责令改正。

  版权及免责声明:凡本网所属版权作品,转载时须获得授权并注明来源“融道中国”,违者本网将保留追究其相关法律责任的权力。凡转载文章,不代表本网观点和立场。

延伸阅读

最新文章

马斯克V.S薛其坤:立足当下 对人类未来展开无限想象 马斯克V.S薛其坤:立足当下 对人类未来展开无限想象

精彩推荐

图文观赏

众安在线扭亏为盈:2020年净利5.5亿 数字生活生态驱动增长 众安在线扭亏为盈:2020年净利5.5亿 数字生活生态驱动增长

热门推荐