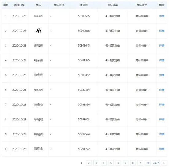
热点栏目天眼查APP数据显示,近日,四川海底捞餐饮股份有限公司(海底捞)新增多条商标信息,申请日期为2020年10月28日,共计177条,包括“上海底捞”“黑海捞”“海底唠”“池底捞”“渠底捞”“清底捞”“海底捡”“三每底手劳”等,商标状态均为“商标申请中”。


来源:天眼查
此外,在10月27日,海底捞还一口气申请了近90个商标,包括“小嗨妹妹”“乖小嗨”“小嗨家”等。
海底捞是一家以经营川味火锅为主的餐饮民营企业,成立于2001年4月,注册资本12500万人民币,创始人张勇任董事长,国籍为新加坡。2020年4月6日,张勇、舒萍夫妇以1150亿元人民币财富名列《胡润全球百强企业家》第62位。
曾状告“河底捞”商标侵权败诉
因为商标,海底捞此前和“河底捞”对簿公堂,但以败诉告终。
今年8月12日,长沙市天心区人民法院公布了一起商标侵权案例,长沙一家湘菜馆因招牌中有“河底捞”三字,被海底捞告上法庭,理由是商标侵权。

海底捞认为,河底捞餐馆使用的“河底捞”标识与公司核准注册的“海底捞”商标为近似商标,河底捞餐馆在其经营场所使用“河底捞”商标,属于饭店服务业中典型的商标使用行为,构成在相同服务上使用近似商标,侵犯了原告海底捞公司的“海底捞”商标专用权。
不过,长沙市天心区法院审理认为,“河底捞”标识与“海底捞”商标虽都有“底捞”二字,但海底捞其注册商标“海底捞”为方正华隶字体,“河底捞”标识则是艺术字构成,并且“河”字三点水部分则是呈现河流的艺术形态,“底”字其下面的点则是用艺术形态的鱼的图像构成。读音方面“河”字与“海”字,无论是按照普通话读法,还是按照湖南本地方言读法,均无任何相似性。
河底捞餐馆店铺牌匾与海底捞火锅店铺牌匾在构图、颜色等方面没有相似性,且其整体结构、立体形状、颜色组合均无相似性。故被告河底捞餐馆不构成对原告海底捞公司的注册商标“海底捞”的商标权的侵犯。
网友热议:还有好多“捞”呢

海底捞上半年亏损近10亿元,减员上万人,创始人套现……
8月25日,海底捞公布的2020年半年财报中显示,海底捞的业绩从截至2019年上半年的人民币11,694.6百万元下降到2020年同期的人民币9,760.6百万元,下降了16.5%。亏损了9.65亿元,而去年同期的盈利为9.12亿元,同比下降205.7%。

据悉,受疫情影响,海底捞1月26日起关闭了大陆地区所有门店,3月12日才逐步开放营业。海底捞董事长张勇此前在做客高瓴创始人张磊的直播间时,曾回顾自己在疫情期间“受伤最严重,九死一生”、“门店疫情期间天天不营业,工资又得发,那还得公司来掏啊。”
海底捞员工数量的变化也引人注意。
海底捞中报显示,截至2020年6月30日,公司共有92179名员工,其中85261名工作于中国大陆,6918名工作于港澳台及海外地区。
而据其2019年年报,截至报告期末,公司共有员工102793名,中国大陆地区95334名,港澳台地区1984名,海外员工5475名。
也就是说,从总数上来看,2020年上半年海底捞减少了10614名员工,其中中国大陆地区减少10073名员工。
“九死一生”之际,海底捞得到了中信银行的授信支持。
今年2月,中信银行方面主动和海底捞取得联系,启动防疫情紧急授信流程,三天完成授信审批,合计为海底捞提供21亿元授信额度,第一笔8.1亿元放款资金于2月19日到账。
另外,海底捞在半年报中表示,已就疫情收取政府补助及资助,并从若干出租人获得租金减免,帮助公司克服疫情造成的负面影响。
然而不久后,张勇就因大手笔套现,引起外界关注。
海底捞上市之前,张勇夫妇已加入新加坡国籍,上市后张勇一跃成为2019年新加坡首富。今年8月福布斯发布的新加坡富豪榜上,张勇夫妇以190亿美元身家蝉联榜首。
5月7日,海底捞公告称,张勇夫妇配售4700万股股份,相当于套现15.6亿元港币。配售完成后,公司控股股东、实际控制人仍为张勇夫妇。至于套现用途,海底捞回应称,是用于股东个人在公益上的安排。实际上,在套现做公益的同时,张勇也将退休计划提上日程。
4月27日,海底捞通过公司内部邮件宣布全面启动接班人计划。张勇在声明中称,除施永宏、苟轶群、杨小丽以外的所有员工都有机会参与,并表示自己将在十至十五年后退休。
来源:21财闻汇,综合自中新经纬、经济观察网、野马财经、中访网财经、格隆汇、知乎等
版权及免责声明:凡本网所属版权作品,转载时须获得授权并注明来源“融道中国”,违者本网将保留追究其相关法律责任的权力。凡转载文章,不代表本网观点和立场。
延伸阅读
版权所有:融道中国