原标题:天地板上演!中天火箭止步16连板,两营业部买入1.39亿
10月28日,连收16个一字涨停后,次新股中天火箭盘初上演“天地板”,截至收盘始终封死跌停,报77.02元。全天成交额达8.5亿元,换手率25.22%。

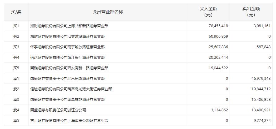
盘后数据显示,湘财证券两营业部位居买一、买二席位,分别买入7845万元、6090万元,合计买入1.39亿元;国盛证券浙江分公司卖出1349万元,买入313万元。

公开资料显示,中天火箭是一家国内领先的以小型固体火箭技术为核心,进行多层次、多领域业务拓展的高新技术企业,是我国最早进行民用增雨防雹火箭研制生产的企业之一,也是国内主要从事探空火箭研制开发的企业之一。公司业务产品范围较广。小型固体火箭总体设计技术、高性能材料技术、测控技术等固体火箭核心技术是公司竞争力的基础。
该股于9月25日登陆中小板,发行价为12.94元,首日大涨44%,随后一路连收16个一字涨停,最高点至94.14元,上市18个交易日以来涨幅近500%。
财务数据方面,公司三季度业绩公告称,2020年前三季度营收约5.46亿元,同比增长26.85%;净利润约7291万元,同比增长23.64%;基本每股收益0.63元,同比增长23.53%。
版权及免责声明:凡本网所属版权作品,转载时须获得授权并注明来源“融道中国”,违者本网将保留追究其相关法律责任的权力。凡转载文章,不代表本网观点和立场。
延伸阅读
版权所有:融道中国