原标题:专利显示苹果正打造折叠式iPhone 显示屏会自动修复划痕或凹陷
来源:快科技
对于苹果来说,iPhone接下来在外形设计上必然会迎来大的变化,比如显示去掉刘海,然后是加入折叠屏,至少从目前的准备情况看,他们的确是这样布局的。据美国媒体报道称,苹果申请的折叠屏专利再次浮出水面,而这次比较特别的是,这种屏幕本身可以 “治愈 ”不可避免的磨损。
据悉,为了帮助减轻显示屏覆盖层中的凹痕、划痕或其他缺陷的数量,苹果在这种显示器中覆盖了一层自愈合材料。
这个柔性层本身可以 “包括一层弹性体”,这就是自愈元件。弹性体是可拉伸的,但可以使其恢复到原来的形状,一个类比是某些床垫中的记忆泡沫。通常情况下,这种恢复到以前形状的能力是由热量引发的,比如人睡在床垫上的体温。

另外,自愈合可以通过外部施加的热、光、电流或其他类型的外部刺激来启动或加速,比如当电子设备充电时产生热量。


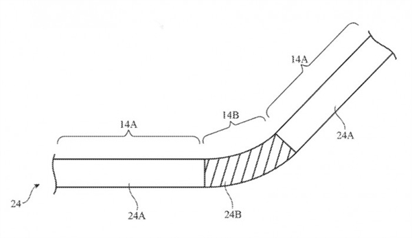
作为薄膜晶体管电路和其他显示结构的保护层,有些层将作为实际的显示屏,而其他层则是为了保护该屏幕,尤其是当它被弯曲时,设备可以围绕弯曲轴线进行折叠
在这之前,苹果申请的专利还显示,正在开发一款可折叠的iPhone原型机,将两个独立的显示面板通过铰链连接,而不是像三星Galaxy Fold那样只有一块屏,换句话说就是,苹果这款新机看起来更类似于微软的Surface Neo和Surface Duo,这两款产品都是可折叠的双显示屏设备,特点是用铰链连接两块显示屏。
这款可折叠的iPhone在设计语言上和目前的iPhone 11差不多,机身拥有圆润的不锈钢边框,没有“刘海”,但在显示屏外侧有一个 “小小的额头”,用于Face ID。
版权及免责声明:凡本网所属版权作品,转载时须获得授权并注明来源“融道中国”,违者本网将保留追究其相关法律责任的权力。凡转载文章,不代表本网观点和立场。
延伸阅读
版权所有:融道中国