消失的两分钟:美团验证了马斯克的“矩阵模拟”预言?


来源:界面新闻   时间:2020-09-09 08:40:34


原标题:消失的两分钟:美团验证了马斯克的“矩阵模拟”预言?

来源:锦缎研究院

“人类文明很可能与游戏一样,是许多模拟文明中的一部分。”

就在埃隆·马斯克(Elon Musk)的“矩阵模拟假设(Matrix-style simulation)”理论正在为公众高频议论时,一篇刷爆朋友圈的调查报道《外卖骑手,困在系统里》,在昨日(9月8日)为这一假说提供了一重新近注脚。

在互联网餐饮外卖这场4亿用户、千亿营收、万亿市值的“无限游戏”里,外卖骑手是如何被困在系统里的?

以美团(HK:03690)为例,本篇报告将截取几个在文章中重点闪现的片段,予以揭示。

01、消失的两分钟

《外卖骑手,困在系统里》正文第一章节:

“又有两分钟从系统里消失了……据相关数据显示,2019年,中国全行业外卖订单单均配送时长比3年前减少了10分钟。”

在美团2017年6月16日申请的“时间估测方法、装置及电子设备(专利号:CN201710601700.X)”发明专利中,记录着系统中那两分钟消失的逻辑。

通过这件专利说明书中可知,在这项专利技术未发明之前,外卖平台对于配送服务完成的时间预估,一般是基于配送服务的历史数据来估测得出。

而这项专利技术的发明,正是为了解决这一“估测方式所得到的估测结果准确度低,从而可能会导致服务效率降低的问题。”

它是怎么做到的呢?说来并不复杂:其核心要义在于,代入每个接单的外卖骑手的当前服务状态的参数。

按发明人的说法,即:“在估测的过程中考虑了当前实际能够接单的服务提供方的服务状态,因此提高了估测结果的准确度,也避免了服务效率降低的问题。”

图1:美团关于配送服务完成时间估测方法的流程图。来源:patsnap图1:美团关于配送服务完成时间估测方法的流程图。来源:patsnap

这里所谓的“服务状态”,是指对所有接单骑手的数据画像——类似专利技术很多,恕不展开。通过对“服务状态”的计算,得出“总路程的变化量”、“总时间的变化量”、“总超时的时长”以及最终的服务完成“时长”或“时刻”。其间涉及的算法包括启发式算法、邻域搜索算法以及精确算法等人工智能相关常用算法。

最终,美团结合导航技术,在云端为一起外卖服务计算并划定其所属的时长,并显示在用户端,供其可视化地消磨饱餐前的等待时间。就在这一先进算法中,两分钟消失了。

换做通俗的语言逻辑我们其实可以这样理解:这消失的两分钟,来自于互联网外卖模式下骑手与骑手间的博弈——尽量多接单,尽量快完单,以获得当日最大收益。

但他们不知道的是,这种博弈越激烈,消失的时间便会越多。

美团共计近300万外卖骑手(2020年上半年官方数据计),假设每人每天平均工作10小时,每消失两分钟,就意味着美团营收与利润至少提升17%。

美团2017年营收339亿,2018年营收652亿,2019年营收975亿……这样一件关于时间消失术的专利,价值连城。

02、大雨滂沱时刻

《外卖骑手,困在系统里》正文第二章节:

“对于雨,骑手们的态度都很摇摆,他们喜欢雨,因为雨天订单会变多,但如果雨下得太大,系统会很容易爆单,自己也容易出事儿”

……

“路太滑了,他摔倒了好几次……几天后,他收到了当月的工资条,数字居然比平时低很多——原因很简单,大雨那天,他送出的很多订单都超时了,因此,他被降薪了。”

在美团的算法里,对于因大雨等极端天气情况引发的区域性供需失衡的“爆单现象”,有着针对性的处置策略。

以2019年7月2日申请的这件“预测配送状态信息的方法、装置、存储介质及电子设备”(申请号:CN201910590756.9)发明专利为参照,可以洞见其在大雨滂沱时分持有的意志。

这是一件针对爆单现象的机器学习式模型预测技术。喂给机器的主要数据包括:时间标识数据、第一天气数据、区域标识数据、配送服务数据和所述区域特征数据。

图2:美团关于“爆单现象”预测模型的结构示意图。来源:patsnap图2:美团关于“爆单现象”预测模型的结构示意图。来源:patsnap

这一机器学习模型,核心针对及处置的问题是:预测得到该目标区域在预设时长内的平均配送时长、订单量、以及平均订单负载等配送状态信息,这样,可以基于该配送状态信息判断该目标区域在该预设时长内是否会发生爆单,以便在预测到会发生爆单时可以及时采取有效的措施缓解该目标区域的配送压力。

但如《外卖骑手,困在系统里》所述,在真实的暴雨情景中,这样的技术即便能做到预测,却也无力缓解那时外卖骑手们的配送压力。

可见,大雨滂沱时刻,美团的算法还只能在虚拟世界里嗡嗡作响。

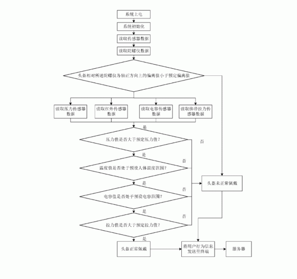
当然,关于外卖骑手在风雨中的健康风险,美团是能通过技术手段做到一定限度保障的:一件申请于2019年11月15日的“头盔、用于头盔监测的方法、头盔检测系统”(申请号:CN201911121450.5)的发明专利可以证明。

该专利显示,其涉及的是一个集成了压力传感器、温度传感器、电容传感器、绑带卡扣传感器以及陀螺仪的“高科技头盔”。其可以根据所述传感器数据,确定外卖骑手是否佩戴这件头盔,最终起到对用户的头盔佩戴状态进行检测的效果。

图3:美团骑手头盔佩戴状态的判定流程图。来源:patsnap图3:美团骑手头盔佩戴状态的判定流程图。来源:patsnap

相关数据表明,即使骑手以较低的速度骑行,骑行过程中的摔倒依然会对用户的头部造成较大的损害。而在骑行死亡事故中,75%是头部受到损伤导致的。

以此数据为鉴,可为这件维系互联网外卖“无限游戏”无限游戏核心人物角色生命安危的头盔专利点赞。

03、被手机支配的恐惧

《外卖骑手,困在系统里》正文第六及第七章节:

“尽管只体验了几天外卖员的生活,曹导仍对那种被手机支配的恐惧心有余悸,就是你导着航,系统这边还要不停地提醒你说,美团众包又有新订单,请及时查询,然后又跟导航的声音混在一起……”

“我们永远不可能在路上耽误时间,在路上的时间是最快的……”

美团骑手自然不能在路上耽误时间,更无法摆脱被手机语音支配的紧迫感。美团2017年12月18日申请的那件“业务引导方法、装置、系统、服务器及电子设备”(申请号:CN201711368613.0)发明专利,对此并无讳言。

这件用语音形式对外卖骑手进行业务引导操作的发明专利,首要的目的是效率,次要的目的是安全——该专利说明书开篇便开明宗义的阐述道:服务提供方(即外卖骑手)有较长时间处于驾驶状态,并不方便进行信息的查看,因此,在服务提供方提供服务的过程中进行信息的查看与操作,不仅降低了服务效率,而且影响了驾驶安全。

为了解决这两个问题,外卖骑手不得不因此面临随时被手机支配的恐惧。

具体来说,它的作用是:以语音形式,指示骑手确认到店,播报商家详细地址,指示骑手电话联系顾客,播报路线引导信息,指示骑手进行任务完成确认操作……

图4:美团业务语音引导方法的流程图。来源:patsnap图4:美团业务语音引导方法的流程图。来源:patsnap

从接单,到取货,到配送,到完成,在一气呵成的手机端语音引导下,每位外卖骑手都形同接受蜂王监督的工蜂,毫无懈怠使命必达,一并构成一个严密而又秩序的工作网络。

如是,与其这是来自手机支配的恐惧,不如说是来自系统威严性的恐惧。一旦涉及其中,无人可以例外。

04、大牛股血淋淋的内核逻辑

在美团近3000件专利申请中,以上4件只是管窥一域,甚至典型性与重要性都未必谈得上。

凭心而论,作为一家1.4万亿港元市值(截至2020年9月8日收盘)的科技巨头,美团的算法与AI水平尚算不上全球顶尖,从其前中期专利布局上看,其人工智能技术路径受三大学派中的控制论学派(cyberneticsism)影响尤其深。

所谓控制论学派,也被称为进化主义(evolutionism),是指借助自然界(生物界)规律的启示,根据其规律,设计出求解问题的算法,其目标是模拟自然演化的过程。主要概念是“适者生存,优胜劣汰”。

以这样的理论概念打底,“系统要求骑手越跑越快—外卖员的劳动越来越快——算法发现原来大家都越来越快,它也会再次加速”,便就成了一种无解式循环困境,使得外卖骑手“困在系统里”难以自拔,甚至还使人领略到了马斯克的“矩阵模拟假设”理论的深意。

但对于美团而言,其系统的每一次加速,便意味着营收与利润的再一次增厚。上市三年以来,其股价从最初的40港元出头,到今年顶峰摸高280港元,莫不得益于此。

当一篇调查报道解开了一只大牛股血淋淋的内核逻辑,互联网外卖商业模式所遭受的冲击,绝非当前部分舆论用“因为这份工作一旦舒服了,它的门槛就升高了。体面、从容、多金,这是外卖行业的不可能三角”这般调侃文字可以掩饰过去的。

资本固然冷血,但抵不了人心向背。在外卖这种可以塑造万亿市值的大赛道中,最不缺的就是竞争与觊觎。

“无限游戏”爱好者王兴如何不晓得其中利害,其实他早有后手,只是火候未到——过去一个时期以来,美团集中申请最多的专利便是“无人配送”……

图5:美团正在密集申请无人配送相关专利。来源:patsnap图5:美团正在密集申请无人配送相关专利。来源:patsnap

只是,从人到无人,那又是一个难题。

  版权及免责声明:凡本网所属版权作品,转载时须获得授权并注明来源“融道中国”,违者本网将保留追究其相关法律责任的权力。凡转载文章,不代表本网观点和立场。

延伸阅读

最新文章

马斯克V.S薛其坤:立足当下 对人类未来展开无限想象 马斯克V.S薛其坤:立足当下 对人类未来展开无限想象

精彩推荐

图文观赏

众安在线扭亏为盈:2020年净利5.5亿 数字生活生态驱动增长 众安在线扭亏为盈:2020年净利5.5亿 数字生活生态驱动增长

热门推荐