play“妖”风再起,天山生物11天10涨停,游资交投活跃丨热公司向前向后原标题:“妖”风再起,天山生物(维权)11天10涨停,游资交投活跃丨热公司
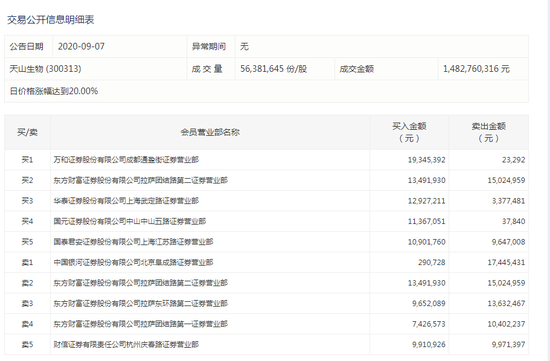
9月7日午后,“妖股”天山生物再度爆发,尾盘放量涨停,收报28.88元,股价逼近历史高点;该股全日成交14.8亿元,换手率达30.6%,最新总市值为90.39亿。盘后数据显示,东方财富证券股份有限公司拉萨团结路第二证券营业部卖出1349万元,万和证券股份有限公司成都通盈街证券营业部买入1934万元。

近期,天山生物“妖性”十足,自8月19日至9月3日,该股连续斩获9个涨停,其中包括6个20%的涨停板,累计涨幅近300%。随后深交所表示将其列入重点监控,该股9月4日巨幅震荡,当日上涨3.93%。但随着今日的再次涨停,该股在短短的11个交易日内已斩获10个涨停板,累计涨近4倍。

深交所9月3日晚间表示,将“天山生物”列入重点监控股票,严密监控交易情况,对异常交易及时采取自律监管措施,强化交易行为核查,发现市场操纵等违法违规线索,将第一时间上报证监会查处。
深交所相关负责人称,8月19日以来的9个交易日,该股交易炒作迹象十分明显,短线资金接力炒作,大量投资者盲目跟风,机构投资者参与度低。一是买入以个人投资者为主,买入金额占比97%。二是持股市值小于300万元的中小投资者为核心主力,买入金额占比近七成。三是机构投资者整体参与度低,买入金额占比仅3%。四是从买入居前账户交易习惯来看,平均持股时间短,短线交易特征明显。五是涨停板买入封单较为分散,中小投资者为主要力量。
据悉,该股暴涨背后是众游资在接力炒作。天山生物本波行情自8月19日启动以来,共9日登上龙虎榜单。据Wind统计显示,共有30多家券商营业部现身天山生物龙虎榜,华泰证券天津东丽开发区二纬路、东方财富证券拉萨团结路第二证券、国泰君安证券深圳深南大道京基一百等营业部席位频繁现身龙虎榜,游资接力炒作的迹象非常明显。
基本面上,天山生物近年持续亏损。财报显示,天山生物2019年归属于上市公司股东的净利润为-6079.10万元,2020年第一季度归属于上市公司股东的净利润为-484.14万元。天山生物在2020年第一季度报告中预测,因公司业务调整中,现有业务盈利能力尚不足,预计2020年1月至6月的累计净利润为亏损。
版权及免责声明:凡本网所属版权作品,转载时须获得授权并注明来源“融道中国”,违者本网将保留追究其相关法律责任的权力。凡转载文章,不代表本网观点和立场。
延伸阅读
版权所有:融道中国