
大多数AI公司几乎所有领域都涉及,但缺少自己持续深耕的业务领域。
出品"每日财报
作者|逆旅行人
近期,据广东证监局披露,南沙人工智能企业云从科技集团股份有限公司(以下简称“云从科技”)已于8月18日办理辅导备案登记,中信建设担任辅导机构。据媒体报道,计划在科创板上市,有望成为南沙首家登陆科创板的高新企业。
据《每日财报》了解,云从科技诞生于2015年,是一家人脸识别技术及产品研发商,当前业务主要围绕智慧金融、智慧治理、智慧交通、智慧商业等几个板块,目前云从科技扎根较深的场景主要在银行、安防和机场等领域。
在国内的科技企业市场中,人们往往将云从科技、旷视科技、商汤科技和依图科技并称为“AI四小龙”,这四家企业均以AI领域内的计算机视觉技术起家,那云从科技的真实成色究竟如何呢?
5年融资达5次,或成“AI四小龙”第一股
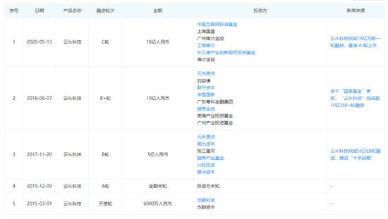
成立的5年来,云从科技在资本市场的活跃度和知名度可以说是只增不减,而且其融资的密集度也让一些其他同类型的公司望尘莫及。
从2015年初创时的5000万人民币天使轮融资,到今年5月完成的新一轮18亿人民币的融资,短短5年时间云从科技的融资达5次之多。在IPO前云从科技的累计融资额约为55亿元人民币,据传其估值也达到了230亿人民币。


不仅如此,去年12月广州云从信息科技有限公司完成股份制改革,变更为云从科技集团股份有限公司,云从科技的股份制改革,让云从科技的上市之路更进一步,而此前也有业内人士分析认为,云从科技上市时间可能会在2020年底。
目前,在“AI四小龙”中,除了云从科技以及去年向港交所提交IPO申请的旷视科技外,其他两家企业似乎并没有明确有关IPO的计划。
自去年开始,估值均达百亿以上的“AI四小龙”上市进程受到市场广泛关注,其中,市场多次传出商汤科技IPO计划的传闻,但均被商汤科技方面否定。
今年3月28日,商汤科技官方微博发布消息称,商汤并无上市具体时间表。近日市场再传商汤科技或沪港两地上市,商汤科技方面仍表示不予置评。
至于旷视科技,虽然于2019年8月向港交所提交IPO申请,是“四小龙”中第一家正式开启IPO并公布招股书、公开相关财务信息的企业。然而,其IPO之路并不顺利,目前上市进展仍处于搁置状态。
7月29日,在一场媒体沟通会上旷视科技联合创始人兼CEO印奇回应公司上市情况时称,旷视科技没有终止上市计划,“会选择在更好的窗口期稳步推进上市”。
所以,综合来看在国内“AI四小龙”中,如果不出意外的话,云从科技将很有可能是它们之中率先成功上市的AI科技公司。
创始人出自中科院,“国家队”标签显眼
曾有业内人士认为,对于仍在技术积累期的众多AI创企而言,上市需要勇气。这背后的逻辑很简单:上市之前,资本追捧,企业估值可以高高在上,但一旦上市,如果业绩不能匹配股价,那就难逃股价深跌,在市场大考之下现出原形。
而云从科技此次办理了辅导备案登记,似乎已将众多因素都考虑在内。想必这除了其对自身技术,以及上市后业绩的自信外,或许还与其“国家队”标签不无关系。
众所周知,在人工智能领域,云从最大的标签就是其“国家队”背景。
据公开资料,创办云从科技前,周曦是中科院重庆院智能多媒体中心主任、信息所副所长,同时担任中科院与上海交通大学博士生导师,早年曾在美国伊利诺伊香槟分校攻读计算机博士。
2011年毕业回国后,周曦进入中科院百人计划,在中国科学院重庆研究院成立智能多媒体中心,从事计算机视觉相关研究。2015年,周曦带着一帮中科院的人“下海创业”,而且在此后发展当中只拿人民币基金,这使其“国家队”的标签更为明显。
2017年国家发改委高技术司公示的2017年“互联网+”重大工程拟支持项目名单中,人工智能领域仅有4家公司入围,其中包括百度、腾讯、科大讯飞以及云从科技,标志其正式成为人工智能国家队成员。
此外,从云从科技的资方来看,没有一家外资机构。据《每日财报》了解,周曦曾为了服从国家信息安全战略,避免触及到国家重点行业的敏感性,曾拒绝过千亿国际资本的“主动示好”,这也从另一方面,说明了云从科技的“国家队”标签的事实。
安防市场竞争激烈,核心竞争力存疑
尽管云从科技宣布在2017年已实现盈利,未来预期或能保持4-5倍的增长,其中金融营收占比30%左右,安防占比约60%。
但从目前人工智能的落地程度来看,人工智能独角兽的营收大多都是来自金融、安防领域,市场重合度基本都很高,剔除政府买单的部分,真正从落地的场景应用里盈利的又有多少呢?
在金融领域内,据公开资料,云从科技最早选择从银行切入。2015年,周曦带领团队为海通证券股份有限公司做远程开户的身份认证系统,这是云从科技的第一单业务。


自此,云从科技在金融业务上撕开了一道“口子”。此外,除了金融领域,安防也是云从科技的一个重点方向。
事实上,不论是商汤还是旷视都在重点布局安防领域,并积极拓展与政府部门的合作,且安防在大部分平台营收中占比第一。
2016年下半年,云从科技也开始试水安防领域,不过,云从科技要想在安防领域站稳脚跟摆脱同质化竞争并不容易。
如前有海康威视、大华等传统安防行业巨头,后有商汤科技、旷视科技等友商的激烈厮杀,从这点来看,留给云从科技的市场份额并不多。
对此业内人士表示,金融板块市场空间确实已经比较难再拓展了。客观来讲,国内目前安防市场的话语权,仍由海康威视等传统巨头掌控,这在很大程度上影响了云从科技扩张安防领域的进程。
而云从的另一大板块智慧商业领域,则更看重玩家对行业的深度理解,以及将AI技术与本行业结合应用的程度,如果只是一个技术提供方,那想象空间将会小很多。
值得注意的是,目前AI行业里面的公司提供的产品和服务大多趋同,同质化情况严重。此外,虽然大多数AI公司几乎所有领域都涉及,但缺少自己持续深耕且独具特色的业务领域,而这才是AI技术公司最重要的核心竞争力。
在这样的背景下,云从科技的核心竞争力到底在哪里,这是一个值得深思的的问题。
版权及免责声明:凡本网所属版权作品,转载时须获得授权并注明来源“融道中国”,违者本网将保留追究其相关法律责任的权力。凡转载文章,不代表本网观点和立场。
延伸阅读
版权所有:融道中国